- 易迪拓培训,专注于微波、射频、天线设计工程师的培养
苹果iPhone6天线技术暨全金属机身手机天线快捷设计途径
iPhone 6是苹果公司(Apple)在2014年9月9日推出的一款手机,已于9月19日正式上市。
iphone 6采用4.7英寸屏幕,分辨率为1334*750像素,内置64位构架的苹果A8处理器,性能提升非常明显;同时还搭配全新的M8协处理器,专为健康应用所设计;采用后置800万像素镜头,前置120万像素FaceTime HD 高清摄像头;并且加入Touch ID支持指纹识别,首次新增NFC功能;也是一款三网通手机,4G LTE连接速度可达150Mbps,支持多达20个LTE频段。北京时间2014年9月10日凌晨1点,苹果公司在加州库比蒂诺德安萨学院的弗林特艺术中心正式发布其新一代产品 iPhone 6。9月12日开启预定,9月19日上市。首批上市的国家和地区包括美国、加拿大、法国、德国、英国、中国香港、日本、新加坡和澳大利亚,国内预售订单达2000万台。
这款产品一个突出特征采用铝合金材料,且机身超薄,手感很好。 其天线设计和制造水平也一流。

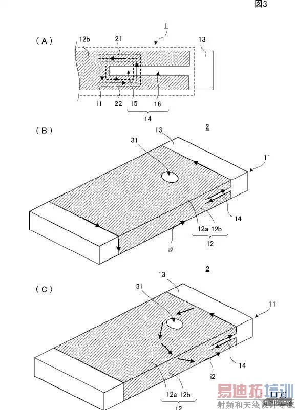
机身之铝合金面被塑胶材质(图上白线)分割成几个面,在面下是一种槽孔microslot天线
观察iPhone 6,在金属外壳上有四条狭缝,与天线有关的部件集中配置在狭缝的周围。这些狭缝似乎是将整个金属外壳用作天线的关键。

其机身金属组件如下:

内嵌的塑胶结构,把分离的铝合金模内注塑粘连在一起:

槽孔天线,是一类成熟的天线技术,几年前,苹果公司、村田公司开始申请发明专利用于手机中。一般在金属上开一个特定几何形状的槽,再在槽内布置另外一副天线来耦合电磁波,实现电磁波的收发。如下图原理:虚线部分是内置在手机内的天线,“图示90”为槽。


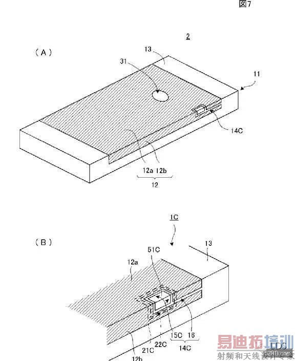
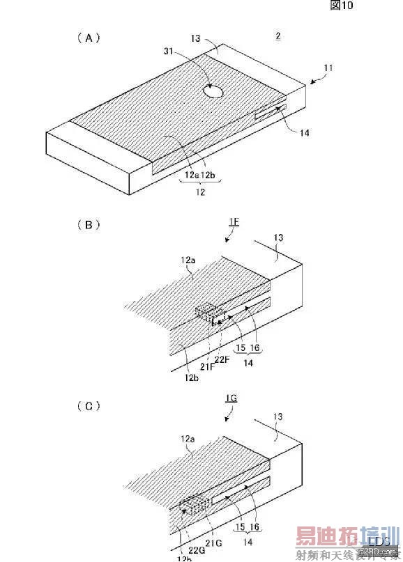
机身部分开槽的方式有很多种:




在槽后之机身内侧布设接收天线,可以采用FPC或者LDS技术,把接收天线紧密耦合在槽附近。再通过如下匹配 电路实现信号阻抗转换:
这类槽孔天线技术,将是未来金属机身主流技术。其设计难度很大也很耗时,下面谈下缩短开发这类金属手机的时间方法:金属机身手机天线射频性能是产品成败之关键,手机研发最耗时的部分就是这类天线和关联的结构设计了。手机设计周期若是10月怀胎,天线要占据8-9个月优化时间,甚至无法在一开始就预测能否成功,能否在ID设计一开始,就预测真实的手机天线射频指标呢?这是所有从事手机射频研发的工程师梦想,而今终于可以得意实现,这种快捷设计这类天线的技术叫“3D混合制造”,从图纸到槽孔天线实物只需要36小时,一改过去一个月手板周期的缺陷。其过程是,先3D打印制造样品,再在样品表面镭射金属和对应槽孔。因为3D打印具备快速、小批量特点,可以一次镭射不同几何形状的槽孔来优化天线性能。这套3D混合制造工艺,是国内发明专利,目前开始被国内一些天线商采用,成为接单神器。


