- 易迪拓培训,专注于微波、射频、天线设计工程师的培养
移动电话手机场强仪
录入:edatop.com 点击:
随着移动通信的迅速普及,移动电话手机的维修问题日显突出。在维修手机过程中,调试发射电路常常要用高频示波器、频谱分析仪等仪器。对于业余爱好者来说,配备这些仪器比较困难。在大多数情况下,对发射功率和频率不需要作精确的测量,只需要作一些定性的估计。本文介绍一种手机场强仪,它可用来调试手机发射电路。该场强仪结构简单,使用方便,成本低廉。
电路工作原理
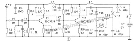
我国现阶段的移动通信系统大部分为900MHz模拟或数字系统,对应手机的发射频率为900MHz左右,如GSM系统手机的发射频率在890~915MHz范围内。我们可以对这一频段的发射信号接收后进行放大、高频整流,得到直流电压信号,然后通过表头来指示。移动电话手机场强仪就是根据这一原理设计制作的。 移动电话手机场强仪电路见图1。它由输入回路、高频放大电路、高频整流电路和输出指示等部分组成。由天线ANT接收到的载波高频信号送到由C1、L1、C2、C3等组成的带通滤波器滤波,滤波器的中心频率主要由L1、C2的值决定,这里定为900MHz。滤波后的高频信号由V1、V2等组成的两级共发射极高频放大电路进行放大,V1、V2集电极的电感L2、L4一方面作高频补偿用,另一方面提供直流通路,以提高V1、V2的集电极工作电压。

由V2集电极输出的高频信号经C9耦合送到由VD1、VD2、C10、C11等组成的倍压整流滤波电路,整流后的直流电压加在RP1两端,最后通过表头作输出指示,调节RP1即可改变表头的输出大小。
元器件选择和安装调试
V1、V2选用fT>4GHz的三极管,如2SC3358、BRF91等。VD1、VD2要用正向压降小、工作频率高的二极管,可由混频二极管1SS86或者1SS106来代用。电容器C1~C9要选用高频瓷介电容器。电感器L1~L5选用单层脱胎线圈,绕制参数见附表。天线应谐振于1/4波长,经计算中心工作频率为900MHz的天线长度约为8cm。 场强仪的印刷电路图见图2。装配时,将V1、V2直接焊接在铜箔面,其余元件均装在正面。元件引脚应尽量短,让元件尽量贴近电路板。安装完毕后即可进行调试。由于偏流电路中加了直流负反馈电路,因此不用调试即可达到预定的直流工作电流:IC1=6mA,IC2=10mA。

调试时将电位器RP1调到指示最大的位置,然后接通电源,这时表头指针应不偏转或受外界杂波(如电视发射台附近的电视发射信号)的影响偏转很小;如果一接通电源即发生表头打针现象,说明存在高频自激现象。高频自激一般是由V2输出的高频信号回授到天线引起的。只要安装时将天线适当远离V2的输出端,RP1和表头的连接线尽量短,必要时使用屏蔽线,并将其屏蔽层单端接地,一般均能解决问题。
在正常情况下,当手机处于发射状态时,将场强仪接近手机,当距离小于50cm时表头即开始有反应。如场强仪灵敏度偏低,则可适当增加R4、R8的阻值,但以不引起自激为限。
需要说明的是,手机的发射功率大小受到基站反馈的功率级别信号的控制,因此同一手机在不同地点的发射功率是不一致的,使用场强仪时应注意这一点。
作者:吴汉清 来源:《电子世界》


