- 易迪拓培训,专注于微波、射频、天线设计工程师的培养
高侧电流传感器AD8205及应用
AD8205 是美国模拟器件公司推出的一种单电源高性能差分放大器,典型单电源供电电压为5V,其共模电压" title="共模电压">共模电压
输入范围为-2~65V,可以耐受-5~+70V的输入共模电压,适用于高共模电压情况下检测小差分电压的工业设备中。它的增益固定为50V/V,工作温度范围为-40~+125℃,失调电压温漂 小于15µV /℃,增益温漂小于30ppm/℃(环境温度可高达125℃),在整个规定温度范围内具有优良的直流性能,其从直流到 100kHz的频带范围内具有高达 80dB的共模抑制比。因此其测量环路误差小,精度高,非常适合用于马达控制、传动控制、磁悬浮控制、车辆动力控制、燃 料喷射控制、引擎管理和DC- DC变换等控制系统中。
内部电路结构及其工作原理
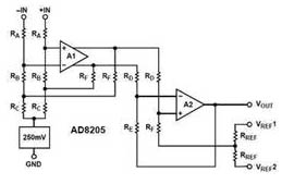
AD8205的内部电路由A1和A2两个集成运放和一个电阻网络,以及一个小参考电压源和偏置电路构成,其电路结构如图1所示。
A1的前置衰减由电阻RA、RB、RC组成,可将共模电压衰减到合适的输入电压范围内。两组衰减器构成桥式网络,衰减率为1/16.7。输入信号经过衰减以后,使得输入信号的幅值保持在供电电源电压" title="电源电压">电源电压
范围以内,当输入电压超过供电电源电压或低于公共地端的电压时,内部参考电压起作用,使得放大器在输入负共模电压信号时仍然可以正常工作。当电桥平衡时,共模电压信号产生的差分输入信号为0V。当然,输入网络同时也衰减了输入差分电压信号,放大器A1将衰减后的信号放大26倍,其输入和输出都采用差分形式以获得最大的交流共模抑制比。另外电阻RA、RB、RC、RD和RF通 过激光校准后的电阻匹配率优于0.01%,这种高精度校准使得器件能够获得超过80dB的共模抑制比。
放大器A2将A1输出的差分信号转换成单端信号,并放大32.15倍。参考输入端VREF1和VREF2都经过电阻RREF连接到A2的同相 输入端,使得输出可以任意调整到所需要的输出电压" title="输出电压">输出电压
范围内。当两个参考输入端并联使用时,参考电压从输入到输出的增益为1V/V;当单独使用任何一个参考输入端时,其增益为0.5V/V。AD8205的总增益由衰减电路的衰减率1/16.7、A1的放大倍数26和A2的放大倍数32.15构成。 AD8205 具有300μA的吸收下拉电流能力,采用A类PNP管接上拉电阻输出。
输出方式设置
单极性输出
此方式一般用来测量流过采样电阻" title="采样电阻">采样电阻
上的单方向变化的电流。有两种基本模式:以地为参考和以V+为参考的输出模式。在单极性工作模式下,当差分输入为 0时,输出可以偏置到负向(接近地)或正向峰值(V+)。当差分电压加到输入端时,输出将反向移动到峰值。这时满幅输出所对 应的输入差分电压幅值接近 100mV,它的极性由输出电压的静态设置所决定。当偏置到正向峰值时,输入差分电压应该为负,输出由正向峰值下降;反之,若静态偏置到地,则输入差分电压应该为正,输出由0上升。
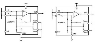
以地为参考的输出连接方式如图2(a)所示。它的两个参考输入端都接到地上,当输入的差分电压为0时,其输出被偏置到反相峰值(约0.05V)。
以V+为参考的输出连接方式如图2(b)所示。它的两个参考输入端都连接到正电源上,当输入的差分电压为0时,其输出被偏置到正相峰值(约4.8V)。
双极性输出
双极性输出时AD8205可以测量流过采样电阻上的双向电流,这时,输出可以偏置到输出范围内的任意位置。当被检测 的正反两个方向上的电流为等幅时,其输出必须偏置到满量程输出的中间位置。当双向电流幅值不对称时,输出偏置可以对应地偏离半量程位置。它的两个参考输入VREF1和VREF2分别连接一个内部电阻RREF后接到同一个内部偏置节点,这两个参考输入端的操作方式完全相同。在两个参考电压输入端接入对应的电压,即可完成对输出的偏置。在双极性输出方式下,一般有以下两种连接方式。
1)当输入双向电流幅值相同时,将两个参考电压输入端都连接到一个外部参考电压源的输出端,如图3(a)所示连接。当输入电压相对于-IN为负,输出电压将从参考电压下降。反之,当输入电压相对于-IN为正,输出电压将从参考电压上升。
2) 将两个参考电压输入端的其中一个接到电源电压V+端,另一个参考电压输入端接地,如图3(b)所示连接。当输入差分电压为0时,输出电压被偏置到 AD8205的供电电源电压的中间位置。这种接法的好处在于测量双向电流时不需要外接参考源,输出将按比率地自动跟随供电电源电压的变化而产生半幅偏置。也就是说,不管电源电压是升还是降,输出偏置点将一直保持在电源电压的中间位置。例如,电源电压为5V时,输出偏置到2.5V;而当电源电压上升 10% 时,输出将偏置到2.75V。
典型应用
高侧电流传感器和低侧开关方式
如图4(a)所示连接,PWM控制开关的源极接参考地,感性负载和采样电阻串联连接在电源和PWM控制开关之间。当PWM开关闭合时,采样电阻上的共模电压下降到接近负向峰值;当PWM开关打开时,采样电阻上产生的共模电压为电源电压和续流二极管的正向压降的电压和。采用这种方式的优点是当PWM 开关关闭时,由于采样电阻置于电源高侧,采样电阻仍然在电流回路当中,使得负载上的全部电流,包括续流电流,仍然可以监测,并且容易识别对地短路故障以实现电路的短路保护。
高侧电流传感器和高侧开关方式
如图4(b)所示连接,PWM开关和采样电阻都位于电压高侧。当PWM开关打开时,负载电源将被移除,但仍然可以提供和监测续流电流,以实现电流控制诊断。在工作过程中,大部分时间电源都和负载隔离,这样可将负载对地之间的差分电压所引起的不良影响减到最小。当PWM开关闭合时,电源电压将连接到负载,这时共模电压将增加到电源电压。而PWM开关打开时,电压将反转并经过感性负载,由于续流二极管的作用,使得采样电阻上的共模电压保持为一个低于地的二极管的导通压降。
马达控制
如图5所示连接,AD8205在H桥马达控制电路中作为控制回路的一部分,马达和采样电阻串连后放置在H桥的中间,通过检测采样电阻上的电压,可以准确地测量马达当前的电流及其方向。此时,AD8205的输出被设定成外部参考双向的方式,这样它可以测量H桥开关的双向 电流并同时监测马达的运转方向。由于地不是一个特别稳定的参考电平,以地为参考将会导致测量的不准确性。因此,这种测试方案要比以地作为参考电平的测试方法好的多。
结语
总之,采用AD8205实现在高共模电压情况下检测小差分电压的电路结构简单可靠,监测精度高。它特别适用于42V汽车系统的动力监控、液压控制、磁悬浮控制等控制系统中。
上一篇:解读汽车电子测试解决方案
下一篇:NIDays
十二年续写辉煌


