- 易迪拓培训,专注于微波、射频、天线设计工程师的培养
VNH2SP30的汽车窗户防夹伤设计方法要点攻略
近几年来,汽车电子市场的增长非常显著,这主要归功于一些新的应用,如增强整车性能、安全性和舒适性等。为此,就必须在汽车的不同位置安装大量的电子模块,以及电子线束。
基于节省空间和减少重量的原则,汽车的电气系统架构正在从单一电子控制模组和集中控制系统转向分散控制技术。另外,装配成本的降低和整车系统可靠性的提高,需要将以前使用的机电操作功能转移到电子模组里,其结果是产生了一系列有关分散电子模组的标准,其中包括越来越多的基于标准的汽车协议(如LIN和CAN)及其特性(如自主安全操作、诊断、保护和通信能力)。
1、窗户升降器原理
目前,很多自动控制装置都具有触发关闭系统的功能,如窗户和车门。这也同时暗示著发生意外事故的危险,如人身体或动物的某一部分被这些自动装置夹住和压住。一个具体实例就是汽车的自动窗户升降器。由于窗户玻璃施加于障碍物上的力量足够大,因此足以压碎人体的某一部份器官。
按照相关安全规范的建议,自动窗户升降装置必须装备所谓的“防夹伤”功能。该防夹伤功能是指∶
■在关闭窗户的时候检测障碍物的存在。
■限制施加于障碍物的力量的大小。
■向相反方向移动窗户,以释放障碍物。
现有的解决方案不是机械式的,就是机电一体化的。在机械机构中,防夹检测是通过固定于窗户支柱上的环境感应片内的开关进行的。该开关一般情况下处于关闭状态,在环境感应片上施加有压力的时候开启。该方案很简单,但是感应片很贵,并且潜在的安装和维护比较复杂。在某些情况,该方法无法满足某些安全标准,举例来说,如果窗户形状呈现为锐角,力量就不是以直角方向施加于感应片表面(见图1),用以激励开关所必需的力量不是接触不到感应片,就是比规范所要求的力量大很多。
有一种基于马达速度监视的替代方案,通过传感器(霍尔效应传感器、编码器等)完成有关功能。其防夹环境检测是通过检查马达速度的变化实现的。马达由继电器控制,继电器以整个电池为动力启动马达。当以最大力矩启动马达时,施加于障碍物上的力在启动时可以达到最大值。本文使用VNH2SP30监视由于马达负载变化所导致的功率变化。

图1. 汽车窗户原理图
对窗户升降系统的具体要求是在启动阶段,检测已经存在的障碍状态。事实再一次表明,在汽车窗户升降器升起时,有几种情况可能发生夹伤事故。两种最常见的可能情形是∶
■窗户玻璃的位置非常靠近窗户支柱,而且阻塞物体正好位于玻璃和窗户支柱之间。
■如果窗户模胚的形状为一个锐角,这样大部份情况下都容易发生夹伤现象(见图1)。
窗户升降器的动力来自一个直流马达。它直接提供旋转运动,并通过与转子和磁鼓的耦合来提供变速运动。电枢电路和转子外形如图2所示。

图2. 直流马达
正常情况(软启动)下,在开始启动阶段,马达功率的增加与其角速度成正比,稍後就以一定常数增加。软启动开始期间的夹伤可能性比进入稳定状态的可能性大。因此,在具体实施时有必要定义两个在不同时期运行的马达功率阈值。如果检测到的防夹状况达到了夹伤阈值,窗户玻璃就在下降的过程中停下来以免事故发生;如果是在上升过程中,它将会下降一个固定的长度。
2、硬件实施
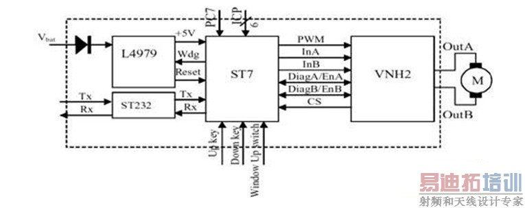
本系统的设计原理见图3,具体实施方案见图8。采用的元器件介绍如下:
■ ST72F324微控制器∶内部频率为8MHz,32k字节HDFlash,1k字节RAM,10bit ADC。
■ L4979稳压器∶用于软件失效时微控制器中数据的自动恢复,器件中还嵌入了一个可编程看门狗定时器。
■ 用于PC串行端口的ST232通信接口。
■ VNH2SP30全桥马达驱动器,适合各种汽车电子应用。

图3窗户升降器原理图
其中,稳压器启用(Voltage Regulator Enable)连接器(图4中的第5项)上安装一个跳线,以便启用稳压器,提供系统所需的5V电压。
上升按钮(Up key,图4中的第8项)和下降按钮(Down key,图4中的第7项)管脚配置为输入上拉模式,使其通常处于高电平(5V);如果按下UP或DOWN按钮,将显示两种不同情况:
■ Short Touch: 如果按下按钮的时间少于100ms,窗户玻璃将一直上升或下降(取决于按下的按钮属性),直到窗户的上边沿或下边沿接触到位为止。
■ Long Touch∶如果按钮按下的时间超过100ms,窗户将按照具体接触状况上升或下降,具体依赖于按钮的属性。
Window Up switch管脚(图4中的第6项)也配置为输入上拉模式,且必须连接到一个用来指示窗户运行结束的机械开关,以便了解是否接触到了门窗的上方极限位置。

图4. PCB布局
微控制器可以通过ICP连接器(图4中的第4项)进行重新编程。PC7连接器(见图4中的第9项)上的跳线通过一个具有固定占空比(50%)和频率(20kHz)的PWM信号驱动VNH2SP30,此时没有防夹伤功能。在驱动有防夹伤功能的窗户升降器时,必须断开PC7跳线。具有防夹伤功能情况下的操作流程如图5所示。
在打开电源或重启後,微控制器对所有使用过的外设 (输入/输出、定时器、ADC和SCI)进行初初始化,并启动一个只能执行停止重新设定或关掉线路等指令的无限环路(infiNIte loop)。
重设防夹标志符,微控制器将轮询访问各个key管脚。在这一阶段,微处理器工作于SLOWMODE模式,以降低功耗。

图5. 防夹伤功能流程图
一旦按下按钮,选择的将是常规操作模式,并设置或重置VNH2SP30的INA和INB管脚,具体取 于被按按钮是上升键或下降键,Timer B Out Compare管脚用来为VNH2SP30提供一个频率为20kHz、占空比为30%的PWM信号,而Timer A Output Compare管脚用来随机应变地执行任务,执行时间为1ms。在1ms的任务执行期间,通过ST7 ADC采集电流感应,平均采集时间为10ms。
要知道是否会发生夹伤,必须将功率和平均功率与相应阈值进行比较。所考虑阈值的大小取决于上升启动阶段是否已经完成,或者软启动依然在进行中。除非按下了某一按键或发生了夹伤现象,占空比均以线性增加到100%为止,而PWM则变成一个常数(图6)。

图6. VNH2SP30的PWM信号
在这一点系统等待下一事件∶按下某一按钮或夹伤现象发生。如果按下了某一按钮,马达将停止运行——重置VNH2SP30的PWM管脚,并设定INA和INB使马达立即 住,使车窗玻璃停止。万一发生夹伤现象,首先应该检查Window Up开关。
如果玻璃到达了窗户上方极限,将驱动马达运行800ms,将窗户玻璃锁定。否则,如果玻璃处于上行过程中,马达将下行800ms,以释放被夹物体;如果玻璃处于下行过程中,马达就停止运行。
3、PC接口
在接通线路板电源後,VNH2SP30按照有关参数的默认值(PWM、软启动持续时间、两个阈值,或固定PWM频率和占空比)进行编程。借助串行端口,使用PC接口与VNH2SP30之间交换数据,可对上述参数进行修改或采集数据。使用PC接口时,必须保证马达已经停止。

图7. PC软件
从图7可以看出程序掩码,使用掩码上方的滑块可进行如下改动∶
■PWM频率∶可能值为5、10、15或20kHz,默认值为20kHz。降低频率可以听到某些噪声,具体取 于所使用的马达。
■软启动持续时间∶大概范围为800ms至2.5s之间,默认值为800ms 。
■阈值1∶在软启动期间使用,具体取 于车窗特徵,默认值为55。增加该阈值,就增加了启动防夹措施之前施加于障碍物上的力量。
■阈值2∶用于软启动开始之後。默认值为20。同上相同,如果增加该阈值,就增加了启动防夹措施之前施加于障碍物上的力量。
如果安装PC7跳线,微控制器就产生一个具有固定频率和固定占空比的PWM信号,其中,频率和占空比的大小可以通过调整图7所示的掩码中部的数据框中的数字实现。
在设定好所有数值後按“Send”按钮,这样在下一次驱动汽车窗户时就可以使用这些新的数据了。
也可以每毫秒采集一些信号:
■瞬时电流∶它是从VNH2SP30的CS管脚读取的电流,平均持续时间约10ms,仅仅用来忽略噪声。
■完整电流∶它也是从VNH2SP30的CS管脚读取的电流,但是平均持续时间约100ms。它与瞬时电流波形相似,只是有延迟。
■差分电流∶它是上述两个电流的差值,且是根据阈值进行比较的结果。
在选择了上述任一选项之後,按“Send”按钮,这同时也改变了PWM频率和软启动等。
信号采集只有按下线路板上的“UP&r


