- 易迪拓培训,专注于微波、射频、天线设计工程师的培养
三相交流电相序检测器
电路工作原理
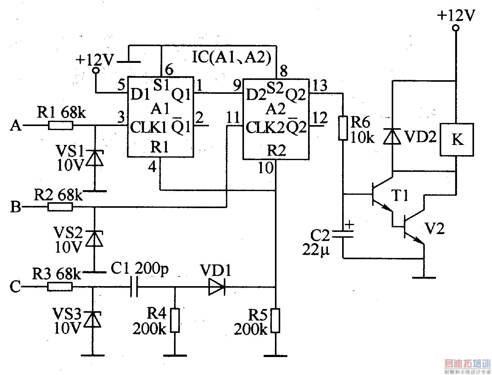
该三相交流电相序检测器电路由相序检测电路、触发器和控制执行电路组成,如图5-185所示。

相序检测电路由电阻器Rl-R5、稳压二极管VSl-VS3、电容器Cl和一极管VDl组成。
触发器电路由双D触发器集成电路IC和电阻器R5组成。
控制执行电路由晶体管Vl、V2、继电器K、二极管VD2、电阻器R6和电容器C2组成。
相交流电压经降压、整流电路 (降压、整流电路未画出)处理后变换为低压脉冲信号,输入到该三相交流电相序检测器的A、B、C端。A、B两端的输入信号经Rl、VSl和R2、VS2限幅、整形后,作为时钟脉冲信号,分别加至IC内两个触发器的时钟端 (3脚和l1脚);C端的输入信号经CI、R4、VDl和R5变为复位尖脉冲信号,加至IC的两个复位端 (4脚和10脚)。
若相序顺序正确 (即以A、B、C的顺序出现正脉冲),则lC的l脚 (Ql端)和13脚(Q2端)均输出高电平,使Vl和V2导通,K吸合,其常开触头将交流接触器(电路中未画出)的工作电源接通,负载通电工作。当IC加上复位脉冲时,双D触发器复位,1脚和13脚均输出低电平,完成一次循环。此时C2上所充电荷使Vl和V2维持导通状态,负载的工作状态不变。当三相交流电的下一个周期信号到来时,IC的l脚和13脚又输出高电平…如此周而复始。
若三相交流电源的相序错误,则IC的13脚保持低电平,Vl和V2均处于截止状态,K不吸合,负载无法通电工作。
元器件选择
Rl-R6均选用1/4W金属膜电阻器。
Cl选用高频瓷介电容器;C2选用耐压值为16V的铝电解电容器。
VDl和VD2选用1N4007型硅整流二极管或1N4148型硅开关二极管。
VSl-VS3均选用1/2W、lOV的硅稳压二极管。
Vl和V2均选用S9013型硅NPN晶体管。
lC选用CD4013或MCl4013型双D触发器集成电路。
K选用l2V直流继电器。


