- 易迪拓培训,专注于微波、射频、天线设计工程师的培养
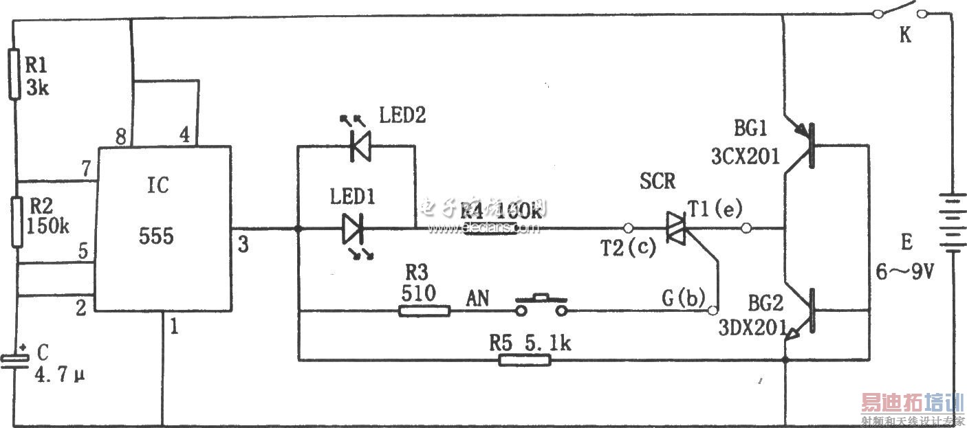
基于33CX201的可控硅快速测试仪电路
录入:edatop.com 点击:
如图所示为可控硅快速测试电路,主要由555组成。该测试仪由脉冲信号发生器、闭合导通环路、发光二极管、可控硅SCR等组成。插上可控硅SCR,当按下按钮AN后,在555输出高电平时,发光二极管LED1、电阻R4、可控硅SCR、晶体管BG2形成闭合回路,发光管LED1发光;当555输出低电平时,LED2、R4、SCR、BG1形成闭合回路,发光管LED2发光,说明可控硅是好的。在测试时插上可控硅SCR后,发光管LED1、LED2应不亮,否则说明T1、T2的两极已短接。多谐振荡器,其振荡频率为f=1.44/(R1+2R2)C。图示参数对应的振荡频率约为1Hz。由于R1<脉冲发生器输出脉冲的占空比接近1:1。



