- 易迪拓培训,专注于微波、射频、天线设计工程师的培养
外夹式超声波流量计完整安装步骤及标准调试规范
超声波流量计的安装规程细解
超声波流量计在安装之前应了解现场情况,包括:
1.安装传感器处距主机距离为多少;
2.管道材质、管壁厚度及管径;
3.管道年限;
4.流体类型、是否含有杂质、气泡以及是否满管;
5.流体温度;
6.安装现场是否有干扰源(如变频、强磁场等);
7.主机安放处四季温度;
8.使用的电源电压是否稳定;
9.是否需要远传信号及种类;
根据以上提供的现场情况,厂家可针对现场情况进行配置,必要情况下也可特制机型。
选择安装位置
选择安装管段对测试精度影响很大,所选管段应避开干扰和涡流这两种对测量精度影响较大的情况,一般选择管段应满足下列条件:
1、避免在水泵、大功率电台、变频,即有强磁场和震动干扰处安装机器;
2、选择管材应均匀致密,易于超声波传输的管段;
3、要有足够长的直管段,安装点上游直管段必须要大于10D(注:D=直径),下游要大于5D;
4、安装点上游距水泵应有30D距离;
5、流体应充满管道;
6、管道周围要有足够的空间便于现场人员操作,地下管道需做测试井,测试井如下:
确定探头安装方式
超声波流量计一般有两种探头安装方式,即Z法和V法。
但是,当D < 200mm而现场情况为下列条件之一者,也可采用Z法安装:
1、当被测量流体浊度高,用V法测量收不到信号或信号很弱时;
2、当管道内壁有衬里时;
3、当管道使用年限太长且内壁结垢严重时;
对于管道条件较好者,即使D稍大于200mm,为了提高测量精度,也可采用V法安装。
求得安装距离,确定探头位置
1、将管道参数输入仪表,选择探头安装方式,得出安装距离;
2、在水平管道上,一般应选择管道的中部,避开顶部和底部(顶部可能含有气泡、底部可能有沉淀);
3、V法安装:先确定一个点,按安装距离在水平位置量出另一个点。
Z法安装:先确定一个点,按安装距离在水平位置量出另一个点,然后测出此点在管道另一侧的对称点。
管道表面处理
确定探头位置之后,在两安装点±100mm范围内,使用角磨砂轮机、锉、砂纸等工具将管道打磨至光亮平滑无蚀坑。
要求:光泽均匀,无起伏不平,手感光滑圆润。需要特别注意,打磨点要求与原管道有同样的弧度,切忌将安装点打磨成平面,用酒精或汽油等将此范围擦净,以利于探头粘接。
探头与仪表接线
微调探头位置
接完线后把探头内部用硅胶注满,放置半小时,然后用硅胶和卡具把探头固定到打磨好的管道上(注意探头方向,引线端向外),然后观察仪表的信号强度、良度与传输时间比,如发现不好,则细微调整探头位置,直到仪表的信号达到规定的范围之内:
(信号强度:一般应大于6.5,少数可根据现场具体情况另定。)
(信号良度:低峰值一般为7~14,高峰值一般为25~80。)
(传输时间比:在100±4范围之内,此值必须稳定。)
固定探头
仪表信号调整好以后,用所配卡具将探头固定好,注意不要使钢丝绳倾斜,以免拉动探头,使探头移位,再用硅胶将探头与管道接触的四周封住。此胶凝固大约需一天时间,在未干之前必须注意探头防水。(信号线的外屏蔽线必须可靠接地)。
超声波流量计主要技术指标:
插入式超声波流量计 | 管段式超声波流量计 | 外加式超声波流量计 | |||||
管径范围(mm) | DN80-4000 | DN20-2000 | DN20-4000 | ||||
流速范围(m/s) | 0.01~12 | ||||||
准确度(%) | 单声道 | 双声道 | 三声道 | 单声道 | 双声道 | 三声道 | 1.5 |
1.0 | 1.0 | 0.5 | 1.0(校正0.5) | 0.5 | 0.5 | ||
测量介质 | 饮用水、河水、海水、地下水、冷却水、高温水、污水、润滑油、柴油、燃油、化工液体、其他均质流体 | ||||||
管道材质 | 金属(如碳钢、铸铁、不锈钢、铝等)非金属材质(如PVC,有机玻璃等) | ||||||
管衬材质 | 玻璃钢、沙浆、橡胶等 | ||||||
信号输出 | 1、4-20mA:阻抗小于800Ω,光电隔离,准确度0.1%。 | ||||||
键 盘 | 2×8汉字键盘 | ||||||
显示器 | 2×10汉字显示或英文显示 | ||||||
测量功能 | 显示瞬时流量、瞬时流速、正累计流量、负累计流量、净累计流量、累计运行时间、瞬时供热量、累计共热量、断电时间等。 | ||||||
数据存贮 | 可存贮前720小时,前365天,前36个月和前十年的测量数据,包括瞬时流量、累计流量、断电时间等。 | ||||||
环境温度 | 转换器:-10~45℃(特殊环境请说明) | ||||||
传感器材质 | 不锈钢和陶瓷 | 不锈钢和普通碳钢 | 常温型为尼龙高温型为合金铝 | ||||
传感器承压能力 | 管内部分压力小于4.5MPa | DN20~700mm小于2.5MPa | 与管道内压力无关建议不浸水工作 | ||||
传感器防护等级 | IP68 | ||||||
转换器防护等级 | 壁挂式转换器:IP65 盘装式转换器:IP52 一体式转换器:IP67 | ||||||
防爆等级 | EXdⅡBT6 | ||||||
传感器电缆长度 | < 500m | < 500m | < 300m | ||||
传感器电缆型号 | 专用电缆SEYV-75-2(直径7mm),越短越好,减少干扰,也可以加长到300m若长要加粗电缆 | ||||||
工作电源 | AC220V, DC12~36V 0.8A (可选) | ||||||
转换器外形尺寸 | 壁挂式:213×185×107mm 盘装式:160×80×250mm 一体式:185×140×100mm | ||||||
传感器外形尺寸 | 220×ø20(杆部)×ø50(连接部)mm | 见管段传感器数据表 | 60×40×35mm | ||||
转换器重量 | 壁挂式:1.2Kg 盘装式:0.8Kg 一体式:1.4Kg | ||||||
传感器重量 | 0.7Kg/支 | 见管段传感器数据表 | 0.2Kg/支 | ||||
热量测量功能 | 测量供热量、热损耗、入口温度、出口温度 | ||||||
安装超声波流量计可按照以下步骤操作:
一:观察安装现场管道是否满足直管段前10D后5D以及离泵30D的距离。(D为管道内直径)
二:确认管道内流体介质以及是否满管。
三:确认管道材质以及壁厚(充分考虑到管道内壁结垢厚度)
四:确认管道使用年限,在使用10左右的管道,即使是碳钢材质,最好也采用插入式安装。
五:前四步骤完成后可确认使用何种传感器安装
六:开始向表体输入参数以确定安装距离。
七:非常重要:精确测量出安装距离。
(1) 外夹式可选安装传感器大概距离,然后不断调试活动传感器以达到信号和传输比最好的匹配
(2) 插入使用专用工具测量管道上安装点距离,这个距离很重要,它直接影响表的实际测量精度,所以最好进行多次测量以求较高精度。
八:安装传感器——调试信号——做防水——归整好信号电缆——清理现场线头等废弃物 ——安装结束——验收签字
图纸分解
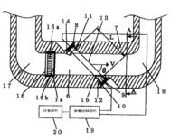
超声波流量计原理图
包括:测量流动通道6,被测量的流体通过其中流动;超声波换能器8和9,分别设置在沿测量流动通道6彼此相对的上游端和下游端;上游孔眼11和下游孔眼12,用于使超声波换能器8和9暴露于该测量流动通道6;第一流体抑制器15,至少邻近下游孔眼12,用于减少被测量的流体流入孔眼12;第二流体抑制器16,被设置在测量流动通道6的上游端并相对于孔眼11和12,用于减少被测量的流体流入孔眼11和12;测量控制部件19,用于测量超声波换能器8和9之间的超声波的传播时间;及计算部件20,用于根据该测量控制部件19的信号计算流量。为下游孔眼12设置的第一流体抑制器15包括具有至少一个超声波传输孔22的孔眼密封部件21。因此,有可能稳定超声波换能器之间的流体,以便增强超声波的接收水平,从而提高测量精度和对流量测量的上限值,并减少对于超声波换能器的驱动输入。

超声波流量计安装调试可按照以下步骤操作:
一:观察安装现场管道是否满足直管段前10D后5D以及离泵30D的距离。(D为管道内直径)
二:确认管道内流体介质以及是否满管。
三:确认管道材质以及壁厚(充分考虑到管道内壁结垢厚度)
四:确认管道使用年限,在使用10左右的管道,即使是碳钢材质,最好也采用插入式安装。
五:前四步骤完成后可确认使用何种传感器安装
六:开始向表体输入参数以确定安装距离。
七:非常重要:精确测量出安装距离。
(1)
(2) 插入使用专用工具测量管道上安装点距离,这个距离很重要,它直接影响表的实际测量精度,所以最好进行多次测量以求较高精度。
八:安装传感器——调试信号——做防水——归整好信号电缆——清理现场线头等废弃物——安装结束——验收签字


