- 易迪拓培训,专注于微波、射频、天线设计工程师的培养
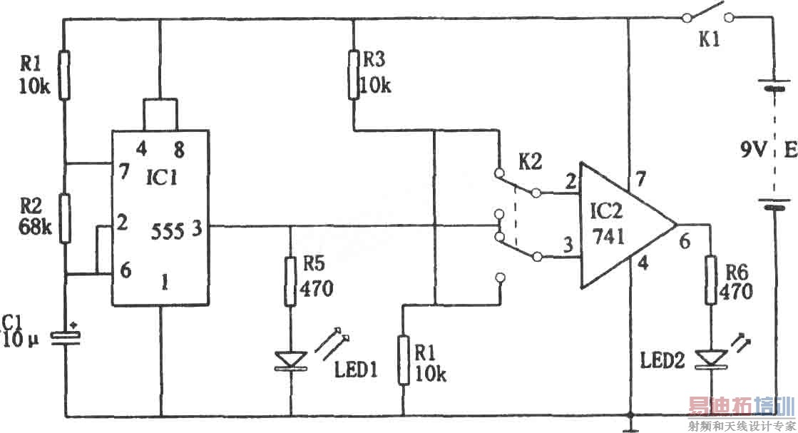
555和741运放好坏鉴别器
录入:edatop.com 点击:
如图所示为555和741运放好坏鉴别器电路。由555(IC1)和R1、R2、C1等组成的多谐振荡器的振荡频率为f=1.44/(R1+2R2)C1,图示参数对应的振荡频率约为1Hz。若IC1(555)是好的,则其③脚输出的信号将驱动发光二极管LED1周期地闪亮,否则,555是坏的。转换开关K2用于控制555的输出信号加至741(IC2)的同榴端或反相端。若555的输出信号加至IC2的同相端,则IC2相应输出信号也驱使LED2发出与LED1同步的闪光。若555的输出信号加至IC2的反相端,则IC。的输出信号驱使LED2发出与LED1交替的闪光。若LED1亮,LED2也亮,则说明741正常,若LED1亮,LED2不亮,则说明741是坏的。




