- 易迪拓培训,专注于微波、射频、天线设计工程师的培养
浅谈电流互感器二次带电的原因及应注意的问题
录入:edatop.com 点击:
电流互感器(下称CT)在工作状态,其二次是决不允许开路的,否则将使二次回路出现高压和带电现象,轻则损坏电气设备,重则危及人身安全。因此一但二次出现带电现象,应立即停电检查。下面就CT二次带电的原因进行初步分析井浅淡一点应该注意的问题。
1 故障原因
(1) 因工作的疏忽或对CT使用原理不清楚,将二次断开运行或CT二次线未进行安装,至使二次回路处于开路状态而带电。
(2) 因CT的二次桩头(即K1、K2桩头)没有接好或处于松动状态,使二次回路出现带电现象。
(3) 因CT的二次回路中所连接的电气设备的桩头没有接好或处于松动状态(如电气仪表、保护继电器、电能表等)使二次回路出现带电现象。
(4) 二次导线因断开,使CT二次带电。断开原因大致是被小动物咬断或老化断裂、机械强力拉断等。
2 错接线原因
CT的二次错接线将引起二次带电。笔者曾遇到两例:
(1) 两电流表从两相CT的Kl串接,如图1所示。此接线中虽不见有二次开路情况,但CT二次连接从CT的A相流向CT的C相经过两个阻抗很大的CT二次线圈时,使CT二次趋于开路状态,因而使二次出现带电现象。且随负载增大,二次出现较高的电压。
(2) 一电流表从两相CT的Kl串接,如图2所示。此错接线中T二次也未见开路情况;但其中出现的带电现象道理同上,并且其中一只电流表没有指示。
3 非正规接线原因
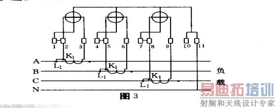
图3中的非正规接线是将电压从CT二次Kl桩头引入电能表的电压、电流线圈,使电能表的电流二次部分带电。这种非正规接线实质是将CT的I“l与Kl连接,电能表的电压桩头l、4、7分别与电流桩头2、5、8连接。此种接法省去A、B、C三根电压二次线,用CT二次连接线带电引进电能表,因此CT二次带380/220V电 压。虽然这种接法对计量影响不大,但它极不规范,很不安全,应当杜绝。
4绝缘损坏原因
(1) 因过载发热使绝缘损坏,一次电压窜入二次,使之带电。
(2) 因产品质量差、绝缘老化等原因,二次也可能带电。
(3) 某些CT长年处在潮湿地方,其绝缘常年受潮而降低受损,并使一次电压窜入二次,之带电。
5 电流互感器使用中应注意的安全问题
(1) CT在工作运行时,二次测不得开路。CT在正常工作时,因其二次阻抗很小,接近于短路状态,其铁芯的激磁电流趋于零,所以二次回路不带电压。但是二次开路时,或二次阻抗很大时,其激磁电流增大,CT铁芯由于磁通大幅度增加而发热,同时CT二次线圈感应出现高电压而危及人身安全和设备安全。所以CT二次在工作运行时是决不准开路的。在安装时,必须注意接线可靠,各连接桩头应紧密牢固。
(2) CT二次测有一端必须接地(一般是Kz接地)以防在CT一、二次线圈击穿时,一次测的电压窜人二次测。
(3) 运行中发现CT有不寻常振动的响声和发热现象,应停止运行,进行检查处理。
(4) 工作运行中的CT,其二次线不得随意断开和在二次线间工作,否则会造成开路危险。
上一篇:WSJY-2型屋面渗漏检测仪的设计
下一篇:基于支持向量机的无人机视觉障碍检测


