- 易迪拓培训,专注于微波、射频、天线设计工程师的培养
新型膜片钳放大器系统分析设计
引言
膜片钳是细胞膜离子通道电流检测的重要工具。膜片钳放大器部分的体积都比较大,价格也比较昂贵,一般在几万到几十万之间,更重要的是,由于模拟采集系统和PC机直接相连,所以PC机带来的干扰非常大。
为了解决上述问题,我们研究了一种新型的膜片钳放大器。本系统分为上位机和下位机两个部分,下位机是一个单片机为控制核心的采集系统,可以单独工作完成微电流信号的采集、放大、电容和电阻的补偿以及波形的显示和数据的存储。另外下位机还可以和上位机进行通讯,通讯是采用红外传输的方式实现的,用串口驱动红外发射器实现上位机和下位机的通讯。上位机主要完成把下位机传输的信号进行处理和分析。
系统结构
为了实现信号的采集、显示以及传输,系统具有以下的几个基本功能:
·离子通道电流的采集和放大
·钳位电压发生器
·电阻电容补偿
·模拟信号到数字信号的转换
·人机界面
·系统和PC机通讯
为实现上述功能要求,系统主要分为微电流的采集和放大、钳位电压发生器、电阻电容补偿电路、ADμC841控制核心、液晶显示模块LCM3202401及按键控制、系统和PC机之间通讯六个主要模块。图1给出了系统的功能框图。

图1 膜片钳放大器系统功能框图
由图1可知,经过电极得到的离子通道电流信号经过微电流采集和放大,同时进行电阻和电容的补偿以后进入单片机的A/D转换部分把模拟信号数字化,采集到的信号同时送到液晶显示器进行显示。另外也可以实现采集信号的存储和传输。按键模块可以友好、方便的实现多种操作功能的控制。
系统硬件设计
控制模块—单片机系统ADmC841
ADmsC841 是ADI公司新近推出一款单片机,它的内部集成了8052微处理器的内核,并提供了很大的存储空间。此外,该芯片还集成了许多的外围部件。其中精确、高速的8通道12位模数转换(其转换速率最高可达420Ksps),可以方便地实现与前级传感器的接口;UART、SPI、I2C通讯接口、时间间隔计数器以及看门狗定时器和电源监视器等,这些模块可以便捷地实现与其他单片机或PC机(此时需电平转换电路)通讯,还可以有效地保障单片机电源的正常工作和程序的正常运行。
钳位电压发生器
监测细胞膜离子通道电流有电压钳位和电流钳位两种方法,我们采用的是电压钳位的方法,即在I-V 转换器的同相输入端接入一个钳位电压,把细胞膜电位钳制在一个固定的电压值。这个电压的幅值在几十到几百 mV 范围内,脉冲时间10~50ms。图2 给出了钳位电压发生器的电路。电路中采用的是555 构成多谐振荡的方式来实现方波的发生。555 直接产生的方波信号幅值接近电源电压,而所用的钳位电压应该是一个电压幅值在几百个毫伏左右的信号,所以要对555 产生的信号进行幅度的调节。555 产生的方波信号经过电阻R3 和稳压管D1后在D1 两端输出稳定的2.4V 电压,再在这个电压两端并上电位器R4,从它的滑动端取出电压作为钳位电压。这样可以对钳位电压进行灵活的调节,得到需要的幅度。产生的方波的周期可通过调节电位器R2 在14ms~154ms 之间变化。

图2 钳位电压发生电路
微电流采集放大与阻容补偿
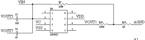
膜片钳放大器的最主要部分就是电流的采集、I-V变换和放大以及各种补偿电路。由于测量的是电流信号,所以要首先把电流转换为电压。由于细胞膜离子通道电流非常微弱,仅为几个 pA ,所以对电流电压转换部分所用放大器的性能要求比较高,要求它具有很高的输入阻抗和很低的偏置电流。为满足上面的要求,笔者选用ADI公司的高精度、低功耗、轨-轨放大器AD8627。它具有极低的偏置电流,最大只有1pA;用5~26V的单电源供电或±2.5到±13V均可;最大的失调电压为 500mV。图3中给出了具体电路。

图3 电流电压转换电路
当使用膜片钳放大器对细胞膜离子通道电流进行记录时,由于电极输入端存在杂散的电极电容Cp、细胞膜电容 Cm和电极输入端至细胞膜之间的串联电阻Rs;若钳制电压Vc端施加阶跃电压时,必将引起Cp、Cm的暂态充电电流和Rs上的压降,其充电电流通过电阻 Rf,导致输出电压产生动态误差,同时可能使放大器饱和,以致不能正常工作,为校正这些误差必须采用相应的补偿措施。图4示出阻容补偿电路的电路图。本电路中的放大器均采用的是ADI公司的OP4177 ,OP4177内部集成了四个运放,采用5V供电,可以和电路的其他部分统一供电,它的失调电压为 60mV、偏置电流为2nA,噪声很低,能够很好的满足设计的要求。

图4 阻容补偿电路
其中电极电位Vp是串联电阻补偿信号V1与修正后的控制电压10 Vc之和经过两个电阻组成的十分之一衰减电路实现。A6输出的电压经一个电位器后进入跟随器,然后通过一个1pF的电容实现快电容补偿。其中电位器可以实现补偿调节,使电路灵活方便。慢电容补偿信号是由Vc经过由A3,A4和A5所组成的状态变量环而获得。预测注入电流在Rs上所产生的误差电压V2也是由状态变量环得到,并与控制电压Vc通过 A2相加。由于正反馈的作用,由A2经过状态变量环,产生与Vc相对应的过冲电压Vc,从而产生超量充电作用。同时,慢电容的补偿电路还实现串联电阻误差的预测,从电流监测输出端输出的电压经A1后又经过预测电路的同步调节实现了串联电阻的补偿。快电容和慢电容补偿电路均示于图4中,分别通过各自的电流注入电容器与电极入端相连。
液晶显示模块
本系统选择北京青云公司的图形液晶LCM3202401,它具有320240的点阵,采用SED1335作为控制器,可以实现图形和文本两种显示方式。液晶模块直接通过ADmC841进行控制。
按键模块及菜单界面
在系统中,提供三个按键,对应于液晶显示屏上的相关菜单。每一级菜单提供给使用者简单的提示,方便使用,因而只需要在菜单的提示下按一键(有A、B、C三个键)便可完成所需要的操作。
本系统采用的是独立式按键,直接用I/O口线构成单个按键电路。每个按键单独占有一根I/O口线,且其工作状态不会影响其他I/O口线的工作状态。控制口线分别用p1.2、p1.3和p1.4进行控制,按键输入为高电平有效。由于在使用过程当中,每个按键和液晶菜单相联系,系统目前的设计是一个按键对应一个功能
系统软件设计
本系统软件主要是完成单片机对模拟信号的采集、存储,原有数据的回放,系统和PC机的通讯并且控制液晶和按键实现人机交互,方便操作。系统软件设计采用模块化结构,主要分为测量模块、打印模块和无线传输模块。系统采用中文菜单友好用户界面,便于操作。开机后首先对系统进行初始化,然后显示主菜单,显示完主菜单延时5秒后显示各功能菜单。功能菜单有原有数据的回放、实时采样显示和红外线传输三个部分。
结语
本设计的电路适用于微电流信号的采集,一定程度上克服了现有膜片嵌系统体积大、价格昂贵的缺点,并且通过使用无线通讯的方式消弱了由于测量和PC机直接连接带来的干扰。
上一篇:用指针万用表测试电阻器的方法与经验分享
下一篇:频率计测试精度计算分析


