- 易迪拓培训,专注于微波、射频、天线设计工程师的培养
新型多功能电能表的电路设计
0 引言
传统感应式电能表用其结构和原理上的制约,通常存在着测量范围小,稳定性差,精度低等缺点而不能适应社会发展的需要。随着微电子技术和单片机的发展和普及,新型智能化测控技术迅速发展。以单片机为核心的电子式电能表显示了其明显的优势。本文采用单片机作为仪表的主控制器,并由Cirrus Logic公司的电能计量芯片负责采集数据,因而具有性价比高,抗干扰能力强,测量精度高等优点。
1 电路工作原理
本设计采用开关稳压电源,将220 V交流市电整流稳压为模拟、数字两路+5 V电压,为整个电表电路供电。该系统通过电流互感器检测电流信号,而通过分压电阻采集电压信号,然后将其送入单相功率/电能集成芯片CS5463内,并在片内完成信号采样、计算和误差校正等。整个过程在单片机PLC916控制下进行。其原理框图如图1所示。

2 专用计量芯片CS5463
CS5463是内含两个△∑模-数转换器(ADC)、高速电能计算功能和一个串行接口的高集成△∑模—转转换器。它可以精确测量和计算有功电能、瞬时功率、无功功率、IRMS和VRMS,可用于研制开发单相2线或3线电表。CS5463可以使用低成本的分流器或电流互感器来测量电流,并使用分压电阻或电压互感器来测量电压。CS5463具有与微控制器通讯的双向串口,其芯片的脉冲输出频率与有功能量成正比。CS5463具有方便的片上AC/DC系统校准功能。其“自引导”的特点使得CS5463能独自工作,并在系统上电后自动初始化。在自引导模式,CS5463可从一个外部EEP-ROM中读取校准数据和启动指令。使用该模式,CS5463在工作时不需要外加微控制器,因此,当电表用于大批量住宅电能测量时,可降低电表的成本。
CS5463可以提供瞬时电压/电流/功率数据采样及有功能量、IRMS、VRMS的周期计算结果。为适应低价测量应用,CS5463也能在给定引脚上输出脉冲串,输出的脉冲数与有功能量寄存器的数值成正比。CS5463专为功率测量进行了优化,适合于与分流器或电流互感器相连来测量电流,并与分压电阻或电压互感器相连来测量电压。为适应不同电平的输入电压,CS5463的电流通道集成有一个增益可编程放大器(PGA),它可使输入电平满量程选择为±250 mVRMS或±50 mVRMS。电压通道的PGA可适应±250 mV的输入电压范围。对于VA+和VA-两端接单+5 V电源的情况,两个通道的差模输入引脚间所加的共模信号电压为-0.25~+5 V。另外,设计时,还可以在某一个通道或两个通道实现双端差模输入,此时,其输入信号的共模电压将加在AGND上。CS5463每通道都有一个高速数字滤波器,可将两个△∑调制器的输出衰减10倍并积分。滤波器以(MCLK/K)/1024的字输出速率(OWR)输出24位数据。为了方便与外部微控制器通讯,CS5463集成有一个简单的三线串行接口。该串口与SPITM和Micro wireTM标准兼容。串口的串行时钟(SCLK)和RESET引脚内包含有一个施密特触发器,故可允许使用上升速度较慢的信号。
CS5463的主要特性如下:
◇在1000:1的动态范围内,其电能数据的线性度为±0.1%;
◇可以测量瞬时电压、电流和功率,包括IRMS和VRMS、视在功率、有功和无功功率以及有功的基波和谐波功率、无功的基波功率、功率因数、频率等;
◇具有电能-脉冲转换功能;
◇具有系统校准和相位补偿功能;
◇带有温度传感器;
◇具有两种无功计算方式;
◇可以从串行EEPROM智能“自引导”,而不需要微控制器;
◇可AC或DC系统校准;
◇具有机械计度器/步进电机驱动器;
◇符合IEC687/1036,JIS工业标准;
◇功耗<12mW;
◇带有优化的分流器接口;
◇带有单电源地参考信号;
◇片内带有2.5 V参考电压(最大温漂为25ppm/℃);
◇带有简单的三线数字串行接口;
◇内带电源监视器。
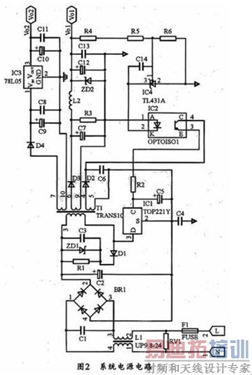
3 电源电路设计
开关稳压电源具有功耗低,稳压范围宽,体积小,重量轻,安全可靠等优点,因此,目前电子设备的变压器稳压电源正逐渐被开关稳压电源所取代。本系统中的电源电路如图2所示。由于在检测电路部分要用到CS5463,为了避免模数间的干扰,本系统在开关稳压电源部分需要有两路+5 V输出。
交流电首先经过一个由保险丝和压敏电阻组成的保护电路,保险丝主要起过流保护作用;压敏电阻则起过压保护作用。在正常工作情况下,电路的压敏电阻相当于断路。当电网电压波动或受外界影响(如闪电,电源突然接入等)而引起电压瞬间激增时,压敏电阻会自动导通,并由压敏电阻和保险丝组成回路。由于高压下的压敏电阻阻值较小,所以回路电流很大,保险丝自动断开,这样就起到了保护内部电路的作用。该保险丝是可以自恢复的,也就是说,它可以反复使用而无需更换。

L1和C1可消除信号中的尖峰波并抑制干扰。经L1、C1滤波后的信号接入到整流桥,再将从整流桥中输出的高压直流信号经过C2进行滤波后,即可得到电压Vi。在图2中,T1为高频变压器,它能够快速存储和释放能量,经高频整流滤波后即可获得直流连续输出。高频变压器T1的1脚和3脚为输入初始绕组,4、5两脚为反馈绕组,次级绕组分别为6,9脚和7,10脚(其中1,4,6,7为各绕组的同名端)。并且6,9绕组是主绕组,用它经进一步变换产生的+5 V直流稳压电源可作为主电压源,即数字电压源(Vo1);7,10绕组为辅绕组,用它经电容C8~C11滤波和78L05稳压产生的+5 V直流稳压电源为辅电压源,即模拟电压源(Vo2)。鉴于在TOP221Y内的功率MOSFET关断瞬间,高频变压器的漏感会产生尖峰电压,另外,在1,3初始绕组上还会产生感应电压(即反向电动势),而且二者又会叠加在Vi上,使电压严重增大,因而要求功率MOSFET能够承受高压。同时,还必须在漏极增加钳位电路,以吸收尖峰电压,保护TOP221Y内的功率MOSFET不受损害。本设计利用R1,C3,ZD1,D1组成钳位电路。当MOSFET导通时,T1的初始绕组的电压极性为(3端)为正,1端为负,此时D1截止,钳位电路不起作用;而在MOSFET截止的瞬间,初始绕组变为1端为正,3端为负,此时D2导通,尖峰电压就被R1和C3吸收掉。
4 计量电路的设计
电量检测电路是该电表设计的核心。选用PHILIPS公司的P89LPC916是一款低成本的16脚单片封装的微控制器。该芯片适合于许多要求高集成度低成本的场合,可以满足多方面的性能要求。P89LPC916采用了高性能的处理器结构,指令执行时间只需2~4个时钟周期,其速度6倍于标准80C51器件。由于P89LPC916集成了许多系统级功能,故可大大减少元件的数目和电路板面积,提高电路可靠性,并降低系统的成本。
本仪表由P89LPC916控制CS5463的检测过程和数值显示。电路上电以后,通过拨码开关可对电路进行初始化。通过拨码开关输入单片机要初始化的电量代码后,再由单片机根据设定好的编码规则向CS5463发出相应的指令,CS5463根据单片机发来的指令将相应的要初始化的电量的标准校准值传给单片机,单片机再将此数据传给X5045并存储在其中,以供CS5463复位时再次获得校准值,并供单片机用于随时校准检测值,从而提高精度。也就是说,在LPC916的控制下,由CS5463检测电信号并输出测量值给单片机,其中X5045可存放标准校正值。该计量电路中的控制模块如图3所示。

该电压采样电路由电阻网络、过压保护及去抖动电容组成。为保证采样精度,电阻应全部采用高稳定度的精密电阻。
本系统中的电流采样电路由电流互感器、过压保护、电阻网络和去抖动电容组成。采用电流互感器的主要优点在于可实现高压与低压的隔离。由于CS5463的电流检测实际上是将电流信号转变为电压信号后的电压检测,所以,在电路中,先由采样电阻将互感电流转变为电压信号,再通过限流电阻和电容滤波后输人到CS5463的电流检测管脚(16、15脚)。另外,在两路输入中,还分别用二极管进行电压嵌位,以避免电压过高损坏CS5463。CS5463的3、14脚分别为模拟、数字+5V电源。同时,为了滤除电压波动,增加电源的稳定性,在两路电源输入时,分别加了滤波电容。由于此为电流检测,所以电压检测的两输入脚9和10也应接模拟地以避免干扰。另外,13脚VA要接模拟地,4脚DGND接数字地,模拟地和数字地之间用电感连接。1、24(XOUT,XIN)两脚接4.096 NHz的晶振。并用程序控制CS5463自动完成输入信号的检测,同时通过6脚SDO输出数据;而分别由5脚SCLK、7脚、19脚RES、20脚INT、23脚SDI输出单片机的时钟脉冲、片选信号、复位信号、中断信号以及单片机对CS5463的控制信号。由于CS5463要完成对模拟信号的检测并以数字信号输出检测值,即一个芯片同时有模拟、数字两种信号,因而需要模拟和数字两路电源;同时,其需要接地的管脚一定要正确接相应的地,不然将会引入很大的干扰。
5 显示电路
本仪表系统采用七段LED显示。移位寄存器74HC164的时钟信号由单片机提供。从单片机输出数据信号时,先输出低位,后输出高位。数据首先传输到对应显示高位数码管的74HC164,每当到来一个时钟脉冲时,数据便移位一次,经过一个周期后,数据将全部传输到其对应各位的74HC164并由数码管显示出来。
6 结束语
本文给出了一种多功能电能表的设计方法,详细说明了电能表的工作原理和设计思路,重点介绍了电源设计和电能计量模块的原理、实现及注意事项。经使用证明,该电能表具有运行稳定、可靠性高、精度高、成本低等优点,而且实用性强。此外,还可针对不同的需求来改进功能,如增加通讯模块等。
上一篇:监控技术发展趋势及衍生的新需求
下一篇:基于FCT的简化测试程序的开发


