- 易迪拓培训,专注于微波、射频、天线设计工程师的培养
PCB设计指引(3)
录入:edatop.com 点击:
5.43 在用贴片元件的PCB板上,为了提高贴片元件的贴装准确性,PCB板上必须设有校正标记(MARKS),且每一块板最少要两个标记,分别设于PCB的一组对角上,如下图:

5.44 一般标记的形状有:

A=(0.5~1.0mm)±10%
5.45 最常用的标记为正方形和圆形,标记部的铜箔或焊锡从标记中心方形的5mm范围内应无焊迹或图案;标记部的铜箔或焊锡从标记中心圆形的4mm范围内应无焊迹或图案。如下图:

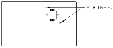
5.46 对于IC(QFP)等当引脚间距小于0.8mm时,要求在零件的单位对角加两个标记,作为该零件的校正标记,如下图所示:

5.47 在一块板上有相同的多块板时,只要指定一个电路的标记或零件的标准标记后,其它电路也可以自动地移动识别标记,但是其它的电路有180角度(调头配置)时标记只限用圆形(实心或空心)。 5.48 贴片元件的间距:


5.49 贴片元件与电插元件脚之间的距离,如图:

5.50 SMD器件的引脚与大面积筒箔连接时,要进行热隔离处理,如下图:

其中A满足5.2的要求,B最小满足5.1的要求,最大不超过焊盘宽度的三分之一。

5.44 一般标记的形状有:

A=(0.5~1.0mm)±10%
5.45 最常用的标记为正方形和圆形,标记部的铜箔或焊锡从标记中心方形的5mm范围内应无焊迹或图案;标记部的铜箔或焊锡从标记中心圆形的4mm范围内应无焊迹或图案。如下图:

5.46 对于IC(QFP)等当引脚间距小于0.8mm时,要求在零件的单位对角加两个标记,作为该零件的校正标记,如下图所示:

5.47 在一块板上有相同的多块板时,只要指定一个电路的标记或零件的标准标记后,其它电路也可以自动地移动识别标记,但是其它的电路有180角度(调头配置)时标记只限用圆形(实心或空心)。 5.48 贴片元件的间距:


5.49 贴片元件与电插元件脚之间的距离,如图:

5.50 SMD器件的引脚与大面积筒箔连接时,要进行热隔离处理,如下图:

其中A满足5.2的要求,B最小满足5.1的要求,最大不超过焊盘宽度的三分之一。
射频工程师养成培训教程套装,助您快速成为一名优秀射频工程师...
天线设计工程师培训课程套装,资深专家授课,让天线设计不再难...
上一篇:并行PCB设计的关键准则
下一篇:印制电路板的设计基础
射频和天线工程师培训课程详情>>

