- 易迪拓培训,专注于微波、射频、天线设计工程师的培养
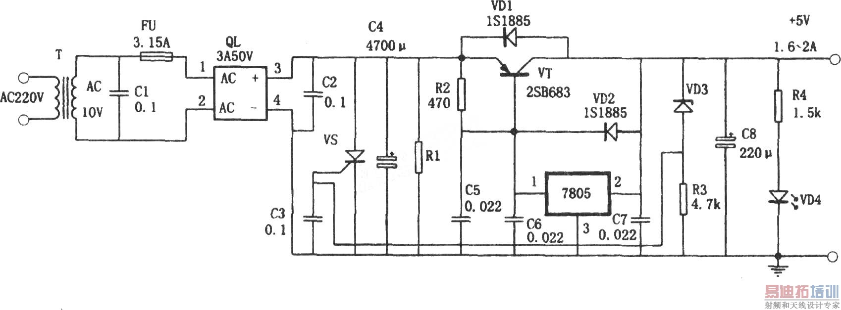
具有扩流和过压保护功能的+5V稳压电源(7805)
录入:edatop.com 点击:
如图所示为一种具有扩流和过压保护功能的+5V稳压电源电路,它采用在三端稳压器7805(最大电流1.5A)上跨接大功率三极管的方法扩展电流,使本电源的输出电流可达到2.5A左右。同时用5.6V稳压管、VD3、R3和Vs(可控硅)组成过压保护电路。由于某种原因电源的输出电压达到或超过5.6V(VD3的稳压值)时,VD3将被击穿导通,可控硅Vs得到触发电压而导通,造成FU保险丝快速熔断。从而保护了负载。本电源可作为实验电源。


射频工程师养成培训教程套装,助您快速成为一名优秀射频工程师...
射频和天线工程师培训课程详情>>

