- 易迪拓培训,专注于微波、射频、天线设计工程师的培养
高压双电源智能控制系统的研制
0 引 言
随着电力事业的发展,电力质量日益受到人们的重视。供电的连续性是电力质量的一个重要方面,对于某些用电部门,如医院、机场、大型生产线等尤为重要。保证供电连续性的办法是给供电对象提供主、备两路独立的电源,对两路电源都进行实时监控。当一侧电源发生故障时,能根据设定的切换程序准确完成向另一侧电源的切换,以最大限度地保证供电的连续性。现在的新式高压双电源切换装置有两个高压隔离开关,有明显的隔离断口.较好地保证了检修的安全,但需两套驱动机构联动,故产品的工作可靠性受到极大的制约。本文开发研制的控制系统可用一套驱动机构驱动主、备两路电源,两侧都实现了实时监控。且当故障发生时,能安全、可靠地实现电源转换,并且具备通信功能,可在无人职守情况下实现双电源自动切换,切换时间精确到0.3s,并有自投自复、自投不自复、手动等多种工作方式,可广泛用于冶金、消防、化工、煤矿、高层建筑和住宅小区等场所。
1 主体结构
高压双电源自动切换系统是由装置本体和控制器两大部分组成。装置本体见图1,由两台带有电动操动机构的断路器及附件(辅助报警触头等)、机械联锁机构、电器联锁、熔断器、接线端子等组成。

图1 装置本体
2 双电源转换控制器
2.1 组成
控制器由ARM及输入输出、显示、电源和485通信等模块组成,见图2。CPU采用S3C44BOX作为微处理器,ARM在基本RISC结构上增强的特性使ARM处理器在高性能、低代码规模、低功耗和小的硅片尺寸方面取得良好的平衡。输入/输出采用串行接口芯片74LS164/165,液晶模块采用LCM122×32,RS232/RS485接口部分采用Maxim系列芯片进行电平转换,控制器的实时时钟用DS1302实现,Flash Memory选用SSTT的39VF020存储器,选用ISSI的62LV1024SRAM芯片作为外扩数据交换区,两路三相电压电流的采样采用隔离变压器完成,采样精度为1%。控制器电源电压为220V(50Hz/60Hz)或12V/24V直流电源。

图2 控制器的结构
2.2 功能
双电源转换控制器监测主、备两路电源,主要实现以下功能:
(1)测量与显示:能够测量两路三相相电压、电流、频率、功率因数,检测转换开关的状态是合闸、分闸或者脱扣等。若两电源存在过压、欠压,则采样整流得到的直流电压信号与设定的所要求的电压相比较,会偏大或者偏小;若存在缺相情况,则经整流后得到的直流电压较三相电整流后得到的直流电压会低,且会出现过零现象,将系统的状态在面板上用LCD和发光二极管显示出来。
(2)判断与控制:控制器对两路电的供电质量进行延时判断后,具有0min~1.5min可调的自动切换时间来控制转换开关切换。转换开关可以是两个机械联锁的接触器。
(3)编程与设置:允许用户对工作状态"自动/手动"、"一路优先供电、二路优先供电和无优先供电"通信参数、转换需要的各种延时等参数进行更改设定。
(4)直流电源:控制器的供电电源可以外接直流供电(12V~24V)也可以不接;不接时,当两路A相电压都没有时,系统报警。
(5)参数整定:控制器的所有参数均采用数字化调整,每个参数均可以单独调整,因此不会对其它参数造成影响,提高了整机的可靠性和稳定性。在两个电源转换的过程中,为了使供电电路稳定,保证切换过程的准确性和安全性,避免由于短时电压变化导致的误动作需要人为延时,延时时间由用户通过分档开关进行选择,由开关量输入系统。
(6)双电源供电双分状态:系统负载于双分状态时,不论两组电源是否正常以及系统处于"手动"和"自动"的预置状态,系统都仍然保持双分状态。
(7)产品保护功能:具有过负荷和短路保护,断相和断路保护,失压和欠压保护。
(8)高性能ARM程序控制:采用模块化结构设计,具有极强的抗电磁干扰能力,适合在强电磁干扰的复杂环境中使用,无噪声运行。采用嵌入式安装方式,结构紧凑,节能降耗,符合国家绿色电气产品标准。同时具有RS232、RS485串行通信接口,借助于PC或数据采集系统上运行的软件,能提供一个简单实用的对工业和民用建筑物的双电源切换管理方案。
2.3 软件系统
在高压环境中,不可避免地会遇到电源波动、电磁波辐射等干扰。当遇到强干扰时,运行的程序会产生异常、出错、跑飞,甚至死循环,造成了系统的崩溃。因此,除了在电路上增加抗干扰的措施外,单片机型号的选取和一些软件措施也是必要的。在软件中设置了看门狗程序,以监控系统的运行。
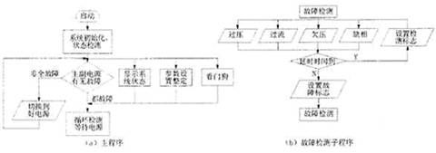
控制器的软件功能以检测和控制为主,采用C语言编写。外部硬件电路已经完成了电压故障的判定,程序只需读取相应的故障状态位输入,经位判断后转入相应故障处理程序即可。其切换过程的控制是双电源转换控制器的核心功能之一,双电源转换控制器的软件流程见图3。

图3 双电源转换控制器的软件流程
2.4 抗干扰措施
干扰会影响控制器的稳定运行,所以在电路设计方面采取了多种抗干扰措施:
(1)通过隔离器件传输信息,在电气上将单片机与各种传感器、开关等隔离开来,可以较好地防止串模干扰。
(2)合理布置地线,将系统中的数字地与模拟地分开,最后在一点相连,避免了数字信号对模拟信号的干扰。
(3)电源进线端加去耦电容,在削弱各类高频干扰。
3 远程监控模块
远程监控包括设备状态及电力参数采集、GPRS通信网络和监控中心3大部分。电力设备在生产现场安装,通过现场的控制系统采集设备状态及电力参数;GPRS通信网络是监控中心与现场设备问数据传输的桥梁,通过GPRS网络使现场设备的相关参数能够定时传送到监控中心计算机:监控中心一方面通过GPRS网络与现场监测器进行双向通信,另一方面为用户提供一个可视化界面,让用户足不出户即可了解远方设备相对实时的运行状况。远程监控模块结构见图4。

图4 远程监控模块图
4 试验测试
根据国家技术标准,本研究对研制成功的样品进行了性能指标测试,测试结果表明,控制器能在不同的设定故障情况进行识别,并按照用户的要求准确动作,所测结果完全满足设计要求与实际使用需要。
5 总 结
本文研制的双电源转换控制器能够对双路电源的过压、欠压和缺相等故障进行检测,不仅能实现自投自复、只常、只备、自投不自复、自动脱扣检测、断电再扣等工作模式,且能准确地实现两路电源间的可靠切换。其主要有以下几点:①设有3工位自动隔离开头,有3个投切位置;②为了防选源向全离闸必须先解保险锁;③操作机构除自动切换系统外还保留了手动切换方式,提供了备用的操作方法。
发布者:小宇
射频工程师养成培训教程套装,助您快速成为一名优秀射频工程师...
天线设计工程师培训课程套装,资深专家授课,让天线设计不再难...
上一篇:LED路灯的发展和应用
下一篇:可吸收和提供电流的运放

