引言
1958年,从美国通用电气公司研制成功第一个工业用可控硅开始,电能的变换和控制从旋转的变流机组、静止的离子变流器进入以电力半导体器件组成的变流器时代。可控硅分单向可控硅与双向可控硅。单向可控硅一般用于彩电的过流、过压保护电路。双向可控硅一般用于交流调节电路,如调光台灯及全自动洗衣机中的交流电源控制。
双向可控硅是在普通可控硅的基础上发展而成的,它不仅能代替两只反极性并联的可控硅,而且仅需一个触发电路,是目前比较理想的交流开关器件,一直为家电行业中主要的功率控制器件。近几年,随着半导体技术的发展,大功率双向可控硅不断涌现,并广泛应用在变流、变频领域,可控硅应用技术日益成熟。本文主要探讨广泛应用于家电行业的双向可控硅的设计及应用。
双向可控硅特点
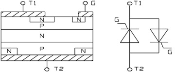
双向可控硅可被认为是一对反并联连接的普通可控硅的集成,工作原理与普通单向可控硅相同。图1为双向可控硅的基本结构及其等效电路,它有两个主电极T1和T2,一个门极G,门极使器件在主电极的正反两个方向均可触发导通,所以双向可控硅在第1和第3象限有对称的伏安特性。双向可控硅门极加正、负触发脉冲都能使管子触发导通,因此有四种触发方式。
|  图1 双向可控硅结构及等效电路 双向可控硅应用
为正常使用双向可控硅,需定量掌握其主要参数,对双向可控硅进行适当选用并采取相应措施以达到各参数的要求。
耐压级别的选择:通常把VDRM(断态重复峰值电压)和VRRM(反向重复峰值电压)中较小的值标作该器件的额定电压。选用时,额定电压应为正常工作峰值电压的2~3倍,作为允许的操作过电压裕量。
电流的确定:由于双向可控硅通常用在交流电路中,因此不用平均值而用有效值来表示它的额定电流值。由于可控硅的过载能力比一般电磁器件小,因而一般家电中选用可控硅的电流值为实际工作电流值的2~3倍。同时,可控硅承受断态重复峰值电压VDRM和反向重复峰值电压VRRM时的峰值电流应小于器件规定的IDRM和IRRM。
通态(峰值)电压VTM的选择:它是可控硅通以规定倍数额定电流时的瞬态峰值压降。为减少可控硅的热损耗,应尽可能选择VTM小的可控硅。
维持电流:IH是维持可控硅维持通态所必需的最小主电流,它与结温有关,结温越高,则IH越小。
电压上升率的抵制:dv/dt指的是在关断状态下电压的上升斜率,这是防止误触发的一个关键参数。此值超限将可能导致可控硅出现误导通的现象。由于可控硅的制造工艺决定了A2与G之间会存在寄生电容,如图2所示。我们知道dv/dt的变化在电容的两端会出现等效电流,这个电流就会成为Ig,也就是出现了触发电流,导致误触发。
|  图2 双向可控硅等效示意图 切换电压上升率dVCOM/dt。驱动高电抗性的负载时,负载电压和电流的波形间通常发生实质性的相位移动。当负载电流过零时双向可控硅发生切换,由于相位差电压并不为零。这时双向可控硅须立即阻断该电压。产生的切换电压上升率(dVCOM/dt)若超过允许值,会迫使双向可控硅回复导通状态,因为载流子没有充分的时间自结上撤出,如图3所示。
|  图3 切换时的电流及电压变化 高dVCOM/dt承受能力受二个条件影响:
dICOM/dt—切换时负载电流下降率。dICOM/dt高,则dVCOM/dt承受能力下降。
结面温度Tj越高,dVCOM/dt承受能力越下降。假如双向可控硅的dVCOM/dt的允许值有可能被超过,为避免发生假触发,可在T1 和T2 间装置RC缓冲电路,以此限制电压上升率。通常选用47~100Ω的能承受浪涌电流的碳膜电阻,0.01μF~0.47μF的电容,晶闸管关断过程中主电流过零反向后迅速由反向峰值恢复至零电流,此过程可在元件两端产生达正常工作峰值电压5-6倍的尖峰电压。一般建议在尽可能靠近元件本身的地方接上阻容吸收回路。
断开状态下电压变化率dvD/dt。若截止的双向可控硅上(或门极灵敏的闸流管)作用很高的电压变化率,尽管不超过VDRM,电容性内部电流能产生足够大的门极电流,并触发器件导通。门极灵敏度随温度而升高。假如发生这样的问题,T1 和T2 间(或阳极和阴极间)应该加上RC 缓冲电路,以限制dvD/dt。
电流上升率的抑制:电流上升率的影响主要表现在以下两个方面:
①dIT/dt(导通时的电流上升率)—当双向可控硅或闸流管在门极电流触发下导通,门极临近处立即导通,然后迅速扩展至整个有效面积。这迟后的时间有一个极限,即负载电流上升率的许可值。过高的dIT/dt可能导致局部烧毁,并使T1-T2 短路。假如过程中限制dIT/dt到一较低的值,双向可控硅可能可以幸存。因此,假如双向可控硅的VDRM在严重的、异常的电源瞬间过程中有可能被超出或导通时的dIT/dt有可能被超出,可在负载上串联一个几μH的不饱和(空心)电感。
②dICOM/dt (切换电流变化率) —导致高dICOM/dt值的因素是:高负载电流、高电网频率(假设正弦波电流)或者非正弦波负载电流,它们引起的切换电流变化率超出最大的允许值,使双向可控硅甚至不能支持50Hz 波形由零上升时不大的dV/dt,加入一几mH的电感和负载串联,可以限制dICOM/dt。
为了解决高dv/dt及di/dt引起的问题,还可以使用Hi-Com 双向可控硅,它和传统的双向可控硅的内部结构有差别。差别之一是内部的二个"闸流管"分隔得更好,减少了互相的影响。这带来下列好处: ①高dVCOM/dt。能控制电抗性负载,在很多场合下不需要缓冲电路,保证无故障切换。这降低了元器件数量、底板尺寸和成本,还免去了缓冲电路的功率耗散。
②高dICOM/dt。切换高频电流或非正弦波电流的性能大为改善,而不需要在负载上串联电感,以限制dICOM/dt。
③高dvD/dt(断开状态下电压变化率)。双向可控硅在高温下更为灵敏。高温下,处于截止状态时,容易因高dV/dt下的假触发而导通。Hi-Com双向可控硅减少了这种倾向。从而可以用在高温电器,控制电阻性负载,例如厨房和取暖电器,而传统的双向可控硅则不能用。
[p]
门极参数的选用:
门极触发电流—为了使可控硅可靠触发,触发电流Igt选择25度时max值的α倍,α为门极触发电流—结温特性系数,查数据手册可得,取特性曲线中最低工作温度时的系数。若对器件工作环境温度无特殊需要,通常α取大于1.5倍即可。
门极压降—可以选择Vgt 25度时max值的β倍。β为门极触发电压—结温特性系数,查数据手册可得,取特性曲线中最低工作温度时的系数。若对器件工作环境温度无特殊需要,通常β取1~1.2倍即可。
触发电阻—Rg=(Vcc-Vgt)/Igt
触发脉冲宽度—为了导通闸流管(或双向可控硅),除了要门极电流≧IGT ,还要使负载电流达到≧IL(擎住电流),并按可能遇到的最低温度考虑。因此,可取25度下可靠触发可控硅的脉冲宽度Tgw的2倍以上。
在电子噪声充斥的环境中,若干扰电压超过触发电压VGT,并有足够的门极电流,就会发生假触发,导致双向可控硅切换。第一条防线是降低临近空间的杂波。门极接线越短越好,并确保门极驱动电路的共用返回线直接连接到TI 管脚(对闸流管是阴极)。若门极接线是硬线,可采用螺旋双线,或干脆用屏蔽线,这些必要的措施都是为了降低杂波的吸收。为增加对电子噪声的抵抗力,可在门极和T1 之间串入1kΩ或更小的电阻,以此降低门极的灵敏度。假如已采用高频旁路电容,建议在该电容和门极间加入电阻,以降低通过门极的电容电流的峰值,减少双向可控硅门极区域为过电流烧毁的可能。
结温Tj的控制:为了长期可靠工作,应保证Rth j-a 足够低,维持Tj不高于80%Tjmax ,其值相应于可能的最高环境温度。
双向可控硅的安装
对负载小,或电流持续时间短(小于1 秒钟)的双向可控硅,可在自由空间工作。但大部分情况下,需要安装在散热器或散热的支架上,为了减小热阻,可控硅与散热器间要涂上导热硅脂。
双向可控硅固定到散热器的主要方法有三种,夹子压接、螺栓固定和铆接。前二种方法的安装工具很容易取得。很多场合下,铆接不是一种推荐的方法,本文不做介绍。
夹子压接
这是推荐的方法,热阻最小。夹子对器件的塑封施加压力。这同样适用于非绝缘封装(SOT82 和SOT78 ) 和绝缘封装( SOT186 F-pack 和更新的SOT186A X-pack)。注意,SOT78 就是TO220AB。
螺栓固定
SOT78 组件带有M3 成套安装零件,包括矩形垫圈,垫圈放在螺栓头和接头片之间。应该不对器件的塑料体施加任何力量。
安装过程中,螺丝刀决不能对器件塑料体施加任何力量。
和接头片接触的散热器表面应处理,保证平坦,10mm上允许偏差0.02mm。
安装力矩(带垫圈)应在0.55Nm 和0.8Nm 之间。
应避免使用自攻丝螺钉,因为挤压可能导致安装孔周围的隆起,影响器件和散热器之间的热接触。安装力矩无法控制,也是这种安装方法的缺点。
器件应首先机械固定,然后焊接引线。这可减少引线的不适当应力。
结语
在可控硅设计中,选用合适的参数以及与之相对应的软硬件设计,用可控硅构成的变流装置具有节约能源、成本低廉等特点,目前在工业中得到飞速的发展。
射频工程师养成培训教程套装,助您快速成为一名优秀射频工程师...
天线设计工程师培训课程套装,资深专家授课,让天线设计不再难...
上一篇:基于漏极导通区特性理解MOSFET开关过程
下一篇:意法半导体宣布功率MOSFET芯片性能方面取得巨大突破
射频工程师养成培训课程套装,专家授课,让您快速成为一名优秀的射频工程师【More..】
网站地图
| | |