- 易迪拓培训,专注于微波、射频、天线设计工程师的培养
如何应对LED调光驱动的设计挑战
MR16中LED驱动电源的设计挑战
一个典型的可调光MR16系统如图1所示。市电经过一个电子或磁变压器转换为低压12V交流输入,为卤素灯或者LED驱动电源供电。位于市电和变压器之间的调光器通过控制市电的导通相位从而改变交流输入的有效值,起到调节光输出强度的作用。通常电子变压器主要搭配前/后切调光器,而磁变压器主要和前切调光器配合使用。

图1:调光MR16灯系统示意图。
磁变压器是通过工频耦合的方式,利用不同的匝数比,将高压市电输入转换为低压交流输入给MR16灯供电。传统的卤素灯是纯阻型负载,并且功率都在20W以上。当前切调光器导通时,可以有效避免输入电流的过冲和振荡。而较大的输入功率有助于调光器中的可控硅维持可靠导通。卤素灯与前切调光器和磁变压器配合工作时的波形如图2所示。由于整流桥和输入电容的存在,LED驱动电源通常呈现容性负载特性。当调光器导通瞬间,由容性负载引起的电流过冲很容易造成调光器和驱动电源的损坏。而输入电压的突然变化还容易引起回路中电感和电容的振荡,使可控硅不能够可靠导通,造成LED灯闪烁。

图2:配合磁变压器和前切调光器的MR16工作波形:(绿)高压侧输入电压波形;(蓝)高压侧输入电流波形;(紫)输出电流波形。
电子变压器与磁变压器相比,具有体积小、效率高的优势,因此得到了更广泛的应用。典型的电子变压器结构如图3所示。出于成本考虑,电子变压器采用的是自激振荡式半桥变换器,当负载电流使T1饱和时实现TR1和TR2的开关切换。电子变压器在额定负载下的工作频率在30kHz~50kHz之间,负载越轻,工作频率越高。

图3:电子变压器结构示意图
要使电子变压器可以正常工作,负载电流必须足够大,使T1可以周期性饱和。而且无论是前切调光器,还是后切调光器都需要一定的负载电流来实现可控硅的可靠导通或者输入电压复位。与卤素灯相比,LED替代灯的输入功率小很多。一个35W LED替代灯的输入功率通常在7W左右。输入电流不足容易造成调光器和电子变压器的间歇式工作,引起灯光的闪烁。

图4:配合电子变压器和前切调光器的MR16工作波形:(蓝)高压侧输入电压波形;(绿)高压侧输入电流波形;(黄)负载电流波形。
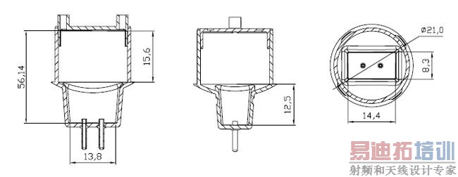
除了兼容性的问题之外,MR16灯的内部空间也对驱动的设计提出了考验。图5是一个常见的MR16灯头的内部尺寸。与非调光驱动相比,调光驱动电源会增加一部分外围线路来改善与调光器及变压器的兼容性。而有限的空间以及客户对于成本的要求使得驱动方案需要具有尽可能少的元器件数量和小的体积。

图5:MR16替代灯灯头尺寸示意图。
[p]
MR16驱动电源常见拓扑的分析与比较
对于调光MR16驱动电源的要求主要可以归纳为几个方面:
●调光兼容性---与调光器和变压器连接时工作稳定无闪烁;
●效率---主要评估在12V AC输入下的驱动效率,目前的要求集中在75%~80%之间;
●输出电压范围---主要影响LED颗粒的选择和连接方式;
●输出电流纹波---高频纹波会影响LED的温度和光通量,而低频纹波会影响人眼的舒适度,但较小的输出电流纹波需要较大的输出电感和电容,需要和体积进行折中,通常要求峰-峰值≤30%;
●元件数量---处于对成本和体积的考量,希望元件数量越少越好;
基于以上要求,对MR16应用中常见的拓扑进行了比较,结果如表1所述。

表1:MR16应用拓扑的比较
[p]
改进的两级式拓扑结构
从前面的讨论可知,连续的输入电流可以改善驱动电源与调光器和变压器的兼容性,而连续的输出电流可以减小输出滤波器的体积。在表1所示的拓扑中,只有Boost+Buck的两级结构具有这样的特性。但是两个开关电源的组合使得元器件的数量较多,成本较高,而且整机的效率也有所降低。另外,出于系统成本和整灯光效的角度考虑,越来越多的灯具制造商倾向于在LED替代灯中使用低成本的中功率LED颗粒来替代大功率LED,即驱动电源的负载由低压大电流向高压小电流转变。综上所述,提出可以同时兼顾兼容性、体积和成本的两级式方案,如图6所示。

图6:所提出的两级式MR16驱动结构。
Output: 输出
Current control: 电流控制
Dummy load control: 假负载控制
这个驱动方案的输入级采用Boost型升压结构,输入电流连续并受控,并配合受控的假负载,以改善与调光器和变压器的兼容性。输出级采用线性电流源的方式,输出电流纹波被大大降低。与Boost+Buck的两级结构相比,输出级的电感和电容被省去,从而有效控制驱动的体积和成本。虽然受线性电流源的限制,LED电压的范围变窄,但考虑到LED的选择向高压小电流转变的趋势,该结构在性能和系统成本上依然具有较大优势。
SSL3401是恩智浦半导体公司基于这种改进型的两级式拓扑最新推出的数字控制芯片。图7为它的应用框图。得益于内部集成的MCU内核,所有的控制都可以通过算法来实现,大大简化了外围控制线路。通过检测是否连接调光器,该芯片可以提供不同的输入电流和Boost输出电压控制方式,优化了调光兼容性和驱动电源的效率。此外,短路保护,开路保护和过温保护等必要的保护功能也都集成在芯片中。

图7:SSL3401应用框图。
结论
本文结合MR16驱动设计中遇到的常见问题,在比较过几种常见拓扑的优缺点后,提出了一种优化过的,针对MR16替代灯的两级式驱动电源解决方案。该方案可以较好的兼顾调光兼容性、体积和成本的要求。利用恩智浦半导体最新的数字控制芯片SSL3401 开发的MR16驱动电源参考设计验证了该方案的性能和优越性。
作者简介
祁丰,恩智浦半导体电源和照明事业部 产品应用工程师
李季明,恩智浦半导体电源和照明事业部 应用工程师
射频工程师养成培训教程套装,助您快速成为一名优秀射频工程师...

