- 易迪拓培训,专注于微波、射频、天线设计工程师的培养
利用模拟开关实现T1/E1/J1的N+1冗余
摘要:具有多端口T1/E1/J1线卡的现代通信系统通过增加冗余来满足电信网络的高可用性要求。过去,这些系统曾经用继电器来实现N+1冗余切换。随着每个线卡上的T1/E1/J1端口数和每个系统内的线卡数的增加,继电器方案不再可行,因为它们要占用大量的板上空间和供率。设计者正在用模拟开关代替继电器。与继电器相比模拟开关的优点列在表格1中。
相关应用笔记:Intel(R) T1/E1/J1, N+1 Redundancy With Analog Switches and Intel(R) LXT38x Line Interface Units
表1. 模拟开关与继电器的比较
| Relay | Analog Switch | |
| Board Space | 100mm2 | 15mm2 |
| Power Consumption | 140mW | 5µW |
| Switching Speed | 4ms | 30ns |
| Reliability | Mechanical Operation | No Moving Parts |
本篇应用笔记介绍了如何使用模拟开关实现T1/E1/J1, N+1冗余保护。同时还提供了一些选择模拟开关的指导,并给出了使用Maxim/Dallas模拟开关和T1/E1/J1收发器的测试结果。
冗余结构
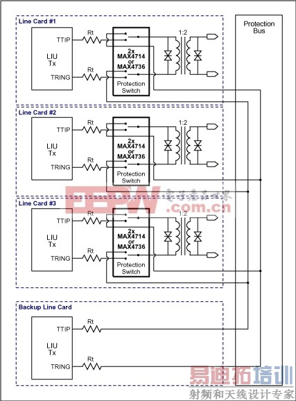
图1和图2为两种使用模拟开关的冗余结构。为清楚起见,分别画出了发送接口和接收接口。对于每一个T1/E1端口,接收和发送接口都是在同一个电路板上的。图中给出了为Dallas/Maxim收发器(如DS2155)推荐的典型接口变压器和电阻。两种结构中,都有一条保护总线走在底板上,输入和输出信号可以通过这个总线送到模拟开关。保护总线直接连接到备用(保护)线卡。
在图1中(结构A”),模拟开关位于线卡上。结构A的优点是,不必像下面的“结构B”那样需要一个单独的用于保护切换的线卡。但它要求即使在失效切换时开关也能获得供电,这就要求一个单独的专用电源。

图1a. 冗余结构A: 接收通道。

图1b. 冗余结构A: 发送通道。
在图2(“结构B”)中,模拟开关在一个单独的“保护切换卡”中。结构B的优点是它不依赖于线卡中的常“开”电源,但是它需要额外的保护切换卡。

图2a.冗余结构B: 接收通道。 [p]
图2b. 冗余结构B: 发送通道。
模拟开关的选择
为了满足T1/E1/J1接口规范,选择模拟开关必须认真考虑其电气特性。因为发送和接收端口的要求有很大差异,我们分别考查它们。
发送接口开关
在发送接口,开关的导通电阻(Ron)是一个非常重要的参数。在图1和图2中,我们能看到开关的Ron与输出驱动器和变压器的初级线圈串联,因此它会略微减小输出脉冲的幅度。在大多数情况下,幅度的减小可以简单地通过降低串联电阻(Rt)而得到补偿,降低的幅度可对应于开关的典型Ron。例如,如果收发器推荐的Rt 为11Ω,Ron (典型值)为0.5Ω,那么实际的Rt就应该取10.5Ω。为了确保在整个工作范围内(包括温度和电源的变化)正确的工作,保持Ron远低于Rt电阻十分重要。较低的Ron也会有较好的Ron平坦度,从而降低输出脉冲的失真。
一些收发器(如DS2155)允许用软件调节输出脉冲的幅度。这对于不使用输出电阻(Rt = 0)的收发器,保证足够的脉冲模板裕量非常有用。
在发送接口中另一个重要参数是开关的导通和关断电容 (CON 和 COFF)。过量的导通电容会使输出脉冲失真并降低发送器的回波损失特性。关断电容在备用线卡通过保护总线发送时有重要影响,如图1和图2所示。在这种情况下,输出驱动器看到的电容是所有其他线卡上关断电容的并联。
模拟开关如MAX4714和MAX4736的优异性能非常适合于T1/E1发送切换。它们有非常低的Ron (典型值0.6Ω)和非常低的电容(典型值CON = 65pF,COFF = 30pF)。
接收接口开关
在接收通道,需要考虑的一个主要问题是开关对线路终端匹配的影响,并因此而对接收回波损失性能的影响。接收回波损耗与相关频率范围内输入终端与额定线路阻抗的匹配情况有直接关系。在T1/E1/J1应用中,这一频率范围延伸至3 MHz。因此,低电容对于保持高频性能符合如ITU-T G.703这类标准是非常重要的。低电容的另一个优点是它可以帮助改善开关的关断隔离。关断隔离在接收接口中尤其重要,它直接影响到噪声耦合与误码率。
开关Ron电阻将与接收器引脚(RTIP/RRING)串联,如图1和图2所示。如果线路的端接仅由外部电阻Rr独自提供,因为接收器阻抗非常高,所以Ron不会对接收电路造成很大的影响。然而,一些现代收发器如Dallas的DS2155通过连接一个可以由软件选择的与外部电阻Rr (每个60Ω)并联的电阻提供内部端接。因此,接收接口的Ron可以比发送接口的大一些,(为了减小电容),但是它仍应该保持足够小,以免影响内部端接收发器的性能。
Maxim的MAX4717提供平衡的很好的Ron和低电容,特别适合于T1/E1/J1接收接口应用。它的典型Ron 为3Ω,并具有非常低的电容(典型值CON = 15pF,COFF = 9pF)。
用Dallas/Maxim DS2155实现
用Dallas DS2155单片收发器的评估板测试图1和图2电路。模拟开关使用3.3V电源供电。测试装置中的元件取值如下表所示:
| Component | Value T1 Mode | Value E1 Mode (Twisted Pair) | Value E1 Mode (Coaxial Cable) | Notes |
| Transmit Transformer | 1:2 PE-65771 | 1:2 PE-65771 | 1:2 PE-65771 | Can also use other Dallas/Maxim recommended transformers (See App Note 351: Transformer Selection Guide) |
| Receive Transformer | 1:1 PE-68644 | 1:1 PE-68644 | 1:1 PE-68644 | |
| Rt | 0Ω | 10Ω | 10Ω | Internal transmit termination off |
| Rr | 60Ω | 60Ω | 60Ω | Internal receive termination on |
| Cr | 0.1μF | 0.1μF | 0.1μF | |
| Receive Switch | MAX4717 | |||
| Transmit Switch | MAX4714 | |||
使用本电路时必须关闭内部发送端接功能。为了在E1双绞线和同轴电缆中使用相同的发送电阻,必须将以下数值写入发送线补偿控制寄存器(TLBC):
TLBC (地址7Dh) = 6Ah
它设置驱动器的电压,使输出脉冲在120Ω(双绞线)和75Ω(同轴)负载上都具有正确的幅度。
根据实际应用,你还需要给图1和图2中的电路增加浪涌保护器件。关于浪涌保护的详细信息请访问Dallas/Maxim网站上的相关应用笔记。
测试结果
根据图1和图2,我们可以看出,当N+1冗余结构中电路板数量N增加时,备用板收发器看到的最大并联关断电容也随之增加。这个并联电容将对输出脉冲的形状和回波损失特性产生影响。另一方面,在正常的工作状态下(备用板没有工作),开关的导通电容是收发器看到的最主要的电容,并且这个(较小的)电容比较容易处理的。
为了在最差情况的容性负载下(备用板被激活)实现良好的性能,建议N不要超过8(1:8冗余保护)。图3至图5显示了测得的T1/E1输出脉冲。
图3. 输出脉冲, T1 模式
| T1, 0-133ft LBO, 0 ft电缆,正常工作(1) | T1, 0-133ft LBO, 0 ft电缆, N = 8(2) |
![]() | ![]() |
图4.输出脉冲, E1 双绞线 [p]
| E1, 同轴电缆,正常工作(1) | E1,同轴电缆, N = 8(2) |
![]() | ![]() |
图5. 输出脉冲, E1同轴电缆
| E1, 双绞线,正常工作(1) | E1, 双绞线, N = 8(2) |
![]() | ![]() |
射频工程师养成培训教程套装,助您快速成为一名优秀射频工程师...
天线设计工程师培训课程套装,资深专家授课,让天线设计不再难...
上一篇:太阳能电源低压钠灯智能控制器工作原理
下一篇:如何正确理解半桥逆变电路的工作原理







