- 易迪拓培训,专注于微波、射频、天线设计工程师的培养
电源、电机驱动及分立元件在汽车自动空调的应用
在当今的汽车设计中,空调已是标准的舒适性配置。从功能上讲,当今的汽车空调实际上是将加热、制冷及通风等功能一体化,成为汽车加热、通风空调(HVAC)系统(本文将简称为“汽车空调”)。从调节方式讲,汽车空调包括手动空调、半自动空调及自动空调。本文将专门围绕汽车自动空调进行探讨,介绍安森美半导体相应的电源供电、电机驱动及分立元件等方案,帮助设计人员选择适合的产品,用于汽车自动空调设计。
汽车空调系统包含加热及通风系统、空调制冷及电子控制单元(ECU)等不同子系统。在加热及通风子系统,新鲜空气从外部的管道通向车厢内部,提升乘客的舒适性及安全性。进入的空气流过小的发热芯,连接到发动机的冷却系统。空调制冷子系统则通过不断蒸发和冷凝,将车内的热量转移到外面的空气中,在降低车内温度的同时也降低湿度。图1是典型的汽车自动空调界面,图2则是系统架构图。

图1. 典型汽车自动空调用户界面

图2:汽车空调系统架构图
汽车空调的电源供电
如图2的汽车空调系统架构图所示,汽车空调系统需要为微控制器(MCU)、各种传感器、驱动器、存储器等供电。常见的汽车电池电压包括12 V或24 V。如果采用24 V系统供电,则需要高耐压产品,加强热管理,提升电源能效并控制成本。如果采用12 V系统供电,则成本更具优势,要求较低静态电流及采用优化的封装。不同供电电压也涉及到不同的汽车空调电源供电架构图,如下图所示。但无论是哪种架构,都会用低压降(LDO)稳压器将24 V或12 V电压转换为5 V。安森美半导体提供阵容丰富的LDO产品,表1列出的是适合于汽车空调应用的LDO。它们能够承受高输入电压,提供低静态电流,通过的汽车行业AEC-Q100认证,符合汽车空调应用要求。

图3:汽车空调电源转换架构

表1:安森美半导体应用于汽车空调的LDO稳压器产品列表
汽车中的外部传感器必须采用稳定的电源,即LDO跟随稳压器(或称电压跟随器)。这些LDO跟随稳压器必须得到充分保护,以防诸如对地短路、电池短路、电池反接等故障;同时,其输出电压必须与参考电压高度一致。安森美半导体提供具有完善保护功能的电压跟随器NCV8184,为外部传感器供电。NCV8184是一款单片LDO跟随稳压器,提供可调节的缓冲输出电压,且密切匹配参考输入电压(精度达±3 mV)。这器件的输出电流能力为70 mA,在50 mA电流时的典型压降仅为0.35 V;静态电流仅为70 μA。
用于汽车空调的电机驱动器
根据不同的地区及不同汽车整车厂的配置需求,汽车空调风门执行器可以采用不同的拓扑结构,如直流电机、单极性步进电机及双极性步进电机。
最常见的风门执行器是直流电机,并集成位置传感器,将风门位置信号反馈给微控制器。为控制直流电机的正转或反转,需要使用2个高边(HS)开关及2个低边(LS)开关组成全桥电路。通常情况下,这些高边或低边开关已经集成各种完善的保护,如过压保护、过载保护及过温保护等。在步进电机方面,单极性步进电机需使用4个低边开关,而双极性步进电机需使用4个高边开关和4个低边开关。

图4:汽车空调风门执行器的电机结构及驱动需求
直流电机风门执行器的工作电流一般在100mA左右,最大堵转电流小于450mA。此外,需要H桥驱动来改变运行方向。电机驱动器还需要故障诊断报告,且提供足够的保护功能。安森美半导体的NCV77xx系列器件可用于驱动直流电机风门执行器,如NCV7718。NCV7718是一款六路半桥驱动器,高、低边在驱动器芯片内部连接,并以H桥输出。这器件以6路PMOS作为高边驱动,6路NMOS作为低边驱动,能够提供0.55 A持续驱动电流,集成了内部续流二极管。NCV7718能以正向、反向、制动及高阻态工作,能够通过16位SPI接口控制,带有专门设计用于汽车及工业运行控制应用的保护功能,如欠压及过压锁定、过流保护、过温保护、欠载保护及鉴别故障报告等。
除了直流电机驱动器,安森美半导体还提供用于汽车空调的单极性及双极性步进电机驱动器。安森美半导体的单极性步进电机驱动器包括NCV7608和NCV7240等。其中,NCV7608是8路高、低边可配置驱动器,每通道能提供350 mA驱动电流,并提供完善的保护功能;NCV7240是8路低边驱动器,每通道能提供600 mA驱动电流,可采用16位SPI接口控制,也提供完善的保护功能(如开路诊断、过载保护及过温保护等)。这两款器件分别采用SOIC28和SSOP24封装。

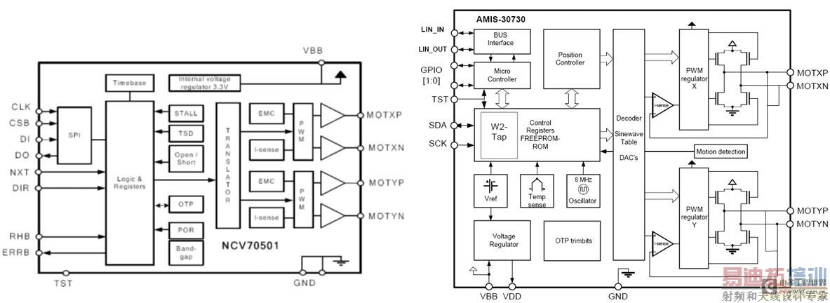
图5:安森美半导体NCV70501及AMIS-30730双极性步进电机驱动器框图
安森美半导体用于汽车空调的双极性步进电机驱动器包括AMIS-30730和NCV70501等。汽车空调的进气风门需要采用低噪音设计,因为这个执行器是连续工作模式。采用NCV70501这样的双极性步进电机驱动器可以实现低噪音。NCV70501通过H桥驱动步进电机,可以通过设置内部寄存器来改变电机的方向和步数等。AMIS-30730则是单芯片智能步进电机驱动器方案,内部包含双极性步进电机驱动、微控制器(MCU)内核、LIN接口、ROM、RAM及EEPROM等。
外部负载高边或低边驱动器
除了风门执行器,还需要驱动或控制外部负载,如中央电器盒。安森美半导体提供用于外部负载驱动的SmartFET,可用于高边或低边驱动,如NCV8440、NCV8401/2/3/5/6等低边驱动器,以及NCV8450、NCV8452等高边驱动器。这些SmartFET是带保护的MOSFET,在功率MOSFET的基础上增加了多种保护功能及高边或低边驱动等。以NCV8452高边SmartFET为例,这器件的导通阻抗为200 m ,过压保护等级为41 V,输出电流限制值为1 A,集成了丰富的保护特性,如短路保护、过载保护、过温关断及自动重启、内部钳位二极管过压保护、ESD保护 及逻辑电平控制等。

图6:汽车空调外部负载的高边或驱动架构及高边驱动器NCV8452应用示例
鼓风机用电机驱动器及MOSFET
鼓风机是汽车空调的重要部分,包含有刷直流电机及无刷直流电机等不同驱动类型。采用有刷直流电机时,采用PWM控制,最大工作电流达30 A,需要用到功率MOSFET。采用无刷直流电机时,需要用到预驱动器及功率MOSFET。安森美半导体提供用于无刷直流电机的三相预驱动器,如LV8901、LV8902及MC33033/5等。安森美半导体还提供用于鼓风机驱动的一系列功率MOSFET,如NVB5860N/NL、NVMFS5830NL、NVMFS5832NL、NVB5404N、NVB5405N、NVD5802及NVD5890N等。
用于汽车空调的恒流驱动器
安森美半导体基于自偏置晶体管(SBT)技术的恒流稳流器(CCR)同样可用于在汽车空调应用中驱动LED。这些LED驱动器包括双端可调节输出版本及三端可调节输出版本,适合于低噪声系统。这些CCR内置LED热保护,能够替代低成本LDO,可抑制由于电压波动引起的LED亮度变化,通过了汽车级产品认证,帮助缩短设计/认证时间。这些低电流CCR LED驱动器包括NSI50010YT1G、NSI45015WT1G、NSI45020T1G、NSI45020AT1G及NSI45020JZT1G等。
用于汽车空调的其它产品
当今的汽车制造商设计分散、分布式系统,这些系统通过LIN、CAN及FlexRay 等行业标准接口相互连接。安森美半导体提供这些标准接口技术的车载总线收发器,其中包括用于汽车空调的NCV7321 LIN收发器。这器件的最高通信速率为20 kbps,同时具备高压模拟和数字功能,符合欧洲LIN物理层规范2.1版及美国SAE J2602-2规范,符合OEM要求,提供出色的电磁兼容(EMC)性能,系统ESD保护能力高达13 kV。
此外,安森美半导体还提供用于多种系统基础芯片(SBC)。这些系统基础芯片集成了车载网络(如LIN、CAN及FlexRay 等收发器)、电源(如线性稳压器、DC-DC稳压器)、监控(如看门狗、SPI、状态、中断),以及I/O等。其中,用于汽车空调应用的SBC有如NCV7420和NCV7425,这两款器件集成了LIN收发器及3.3 V或5 V稳压器,输出电流能力分别为50 mA及150 mA。
总结:
汽车空调是安森美半导体在汽车应用中所关注的核心应用之一。安森美半导体提供一系列应用于汽车空调应用的产品,包括电源供电(如LDO及电压跟随器)、电机驱动器、SmartFET高边/低边驱动器、分立元件(功率MOSFET,CCR LED驱动器)、车载网络收发器及系统基础芯片等。安森美半导体将继续致力于研发高性能的标准和专用器件,满足汽车空调中越来越苛刻的需求,并用优异的产品不断提高汽车空调系统的安全性、可靠性及燃油经济性。
射频工程师养成培训教程套装,助您快速成为一名优秀射频工程师...

