- 易迪拓培训,专注于微波、射频、天线设计工程师的培养
有源RFID系统中可靠通信的研究
引言
现代生活中越来越多地借助电子技术来完成信息的查询,常见的技术主要是条形码技术和RFID(radio frequency identification)技术。条形码技术广泛应用,但局限性也非常突出,如:条码标签的内容无法修改,条码标签必须清洁无磨损,阅读器读/写条码时应保持适当角度,阅读器与条形码之间必须可视。RFID是射频识别的简称,它是一种非接触式的自动识别技术,其利用无线电技术在读写器和电子标签之间建立通信,实现无接触信息传递,并通过所传递的信息达到识别目的。现在RFID技术已被广泛应用于生产、物流、交通、医疗、跟踪等应用领域的数据收集和处理。RFID技术的优势则较为突出,如:标签信息可修改,能在恶劣的环境下较远距离进行读取,可同时处理多个标签。
根据实现的方式不同,RFID技术可分为无源RFID技术和有源RFlD技术。无源RFlD技术研究和应用都较为成熟,系统中电子标签工作所需要的全部电源都依靠转换接收到的读写器发送的电磁波而获得。读写器的发射功率一般较大。有源RFID技术系统中的电子标签具备电池,可提供全部器件工作的电源;读写器的发射功率要求较低,而且有效阅读距离也较前者有所增加,在追踪和识别高价值商品时非常有用。
l 有源RFID系统的设计
1.1 系统结构
有源RFID系统由有源电子标签(tag)、读写器(reader)和计算机3部分组成;有源电子标签由耦合元件及芯片组成,每个标签具有惟一的电子编码(EPC),保存有约定格式的电子数据;读写器读取电子标签信息的设备,可设计为手持式或固定式;计算机(上位机)用来进行数据管理和数据处理,其系统结构如图1所示。

在实际应用中,读写器发送出一定频率的射频信号,附在待识别物体表面中电子标签接收射频信号后,执行相应动作。通常读写器与计算机相连,电子标签回送的信息被读写器读取解码后送至计算机进行下一步处理,从而达到自动识别体的目的。
1.2 硬件设计
RFID系统依照不同的标准,可以分为不同的类型。根据RFID系统使用的工作频率可分为4类:低频(LF,30~300 kHz)、高频(HF,3~30 MHz)、超高频(UHF,300~968 MHz)和微波(UWF,2.4~5.8 GHz)。根据文献以及对不同频段RFID系统优缺点的分析比较,再结合课题的要求,能在50 m范围内自动监测标签,并能读写数据,选用工作频率为2.4 GHz的微波频段的RFID系统进行研究。2.4 GHz频率具有衰减较小,传输距离远.传输数据快,数据吞吐量高,识别多目标能力强的特点。同时,2.4 GHz的ISM频段宽度超过83 MHz,具有125个频道,能满足多频及跳频的需要,增加无线通信的抗干扰能力。
有源电子标签和读写器主芯片选用德州仪器公司的CC2510。该器件包含了高性能、低功耗的8051微控制器(MCU)和UHF RF收发器,集成了32 KB在系统可编程FLASH和内嵌4 KB SRAM,并具有功率放大器(PA)、低噪声放大器(LNA)、调制解调器(MODEM)等功能,QLP封装,体积小(6 mm×6 mm),支持流行的跳频技术,可程序控制数据传输率大小,最快能够使数据传输率达到500 Kb/s。在系统中使用CC2510,具有功耗小,成本低,外围电路简单可靠等优点。此外,CC2510可设置的跳频通信方式、发射功率和存储程序,可以实现频率更改、读写距离控制和多种安全协议,以适用于多种安全级别。
有源电子标签由CC2510无线收发及控制模块和天线组成。通过电磁波与读写器进行数据交换。读写器由CC2510无线收发及控制模块、天线、USB接口转换模块和接口电路组成。读写器通过USB接口与上位机相连,用来接收有源电子标签发送的数据。
1.3 软件设计
在整个有源RFID系统中软件起到控制作用,是协调硬件各部分的灵魂。主要涉及到PC机的人机界面接口和RFID系统软件设计、PC机与读写器的通信软件设计、读写器射频与有源电子标签射频的通信软件设计。
PC机端软件主要对RFID系统数据库进行管理,使用C"编制,数据库采用SQL Setver 2005。PC机通过接口电路对读写器进行操作。该部分使用VB编制。读写器与标签之间的数据通信则采用标准C语言和汇编混合编制。在单片机中类似PC机与单片机的通信软件设计叙述很多,在此不再赘述。本文重点讲述读写器与有源电子标签可靠通信的设计了研究。
2 可靠通信研究
在有源RFID系统中,可靠通信是最重要的一个环节,几乎左右了整个系统的性能。这里分别从帧标识替换算法,数据帧结构、防冲突处理和重传机制等4个方面对数据可靠通信进行了研究。
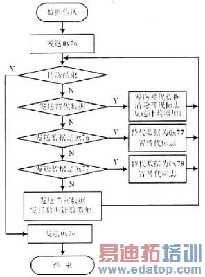
2.1 帧标识替换算法
在通信协议中采用Ox76(0x表示16进制计数)作为帧标识符。为了保证帧标识符的惟一性,对帧内容中的Ox76采用了替代算法,使帧中的内容不再出现Ox76,解决了接收端的同步问题,亦可提高接收的可靠性。如果发送的数据为0x76,则用Ox77,Ox77两个字节替代;如果发送的数据为Ox77,则用Ox77,0x78两个字节替代。算法流程如图2所示。

2.2 数据帧结构
读写器对标签的操作为读/写,电子标签器件内建有MCU和FLASH,可以存储比较复杂的程序,并由程序控制标签工作。为了加强有源RFID系统结构的简单性和高效性,对指令格式进行规格化,对数据帧格式的设计亦采用简单和固定的规格,以提高通信效率。
在通信时,数据的帧格式如下:

引导区包含导言、同步字,在信道特性较好的场合,为提高识别速度,可设定16位的导言与16位的同步字。校验区通过CRC算法进行校验,引导区和校验区由CC2510硬件自动添加,在接收时由硬件自动去除。该设计中,地址区用于电子标签的识别,命令区中的命令用于完成数据查询功能或完成标签信息的生成。数据区用于数据净荷存储。在发送模式下,地址区、命令区和数据区的数据被送入RAM中的缓存区进行相应的打包操作,CC2510添加4字节的导言和同步字,加入CRC校验并发送出去。在接收模式时,包处理支持将会分解数据包,即首先进行同步字检测,接着检测地址、进行数据长度匹配并计算和检查CRC,最后将操作命令和数据净荷提交上层进行处理,从而完成1次发送和接收交互。
2.3 防冲突处理
有源RFID系统实现的重点是防碰撞算法的实现。目前。这类算法的实现方法有空分多址(SDMA)、频分多址(FDMA)、码分多址(CDMA)和时分多址(TD-MA)等。该设计方案中采用ETSI 302 208标准中基于载波侦听(CSMA)的方法。CSMA是一种分布式介质访问控制协议,在读写器覆盖范围内,各有源电子标签都能独立地决定数据帧的发送和接受。
每个有源电子标签在发送数据帧之前,首先要进行载波监听,只有介质空闲时,才允许发送帧,与FDMA和TDMA相比,能更好地利用资源。因为这种通信方式在发送数据之前,一直在检测空气中是否存在相同频率的载波,如果有相同频率的载波,就不发送数据;如果空气中没有相同频率的载波,则表明现在的空间资源没有被占用,可以发送数据。这样,不仅提高了空间资源的利用效率,同时也提高了通信的可靠性。
利用CC2510支持传输前自动清理信道访问(CCA)的功能,实现CSMA。电子标签初始化完成后,程序进入主循环程序。电子标签开始载波监听,当CCA不为1时,表示空气中没有相同的载波数据时便发送相应的数据,各个电子标签采用竞争的方式发送。CSMA发送流程图如图3所示。

2.4 重传机制
重传机制主要采用ACK(acknowledge)方式,即发送方为发送的每一数据包设置缓存和相应的重发定时器,若在定时器超时之前收到来自目的节点对此数据包的ACK控制包,则认为此数据包已经成功地传送。此时,取消对该数据包的缓存和定时,否则,将重发此数据包,并重新设置定时器。对于每个数据包,接收方都需要反馈ACK。
重传机制主要由以下功能函数实现。Init()函数用于设备初始化,设置DMA、时钟等;Send()函数用于发送数据包;ackTimeolJt()函数用于没有在规定时间内收到ACK,而重发数据包;waitForAck()函数用于等待接受ACK,既定时间内,收到ACK标示为T,反之标示为F;aekReceived()函数用于收到ACK,取消重传;Receive()函数用于接收规定格式的数据包;dataCheck()函数用于检测数据的完整和可靠;sendAck()函数用于送ACK反馈给发送方。重传机制程序流程图如图4所示。
3 测试结果
在实际环境中,对有源RFID系统的读写器和有源电子标签进行读/写测试,调制方式为MSK,数据传输率60 Kb/s,滤波带宽540 kHz。分别在不同距离上放置10个有源电子标签进行20O B收发操作。读写器的识读结果如表1和表2所示。

从以上数据可以看出:
(1)在25 m可视距离内系统识别效果良好;
(2)加入可靠通信机制后,在可视通信距离60 m内,标签与读写器之间的协议识别效果良好;随着通信距离的加大。在70 m处标签与读写器正常通信信号中CRC校验出错增多,但仍可识别大多数标签;
(3)遇到障碍物的时候,通信距离迅速减少,丢包率和CRC校验错误数增多。
4 结语
有源RFID技术与无源RFID技术相比,在技术上的优势非常明显,具有通信距离长,传输数据量大,低发射功率等特点。有源RFID系统中数据的可靠传输是最为重要的部分。本文为有源RFID系统的可靠传输提出了一种解决思路,较好地处理了这一问题。
未来有源RFID技术不仅会在各行业中被广泛采用,而且还将会与传感器网络(wSN)等普通计算机技术相结合,这将对信息化社会产生深远影响。
如何成为一名优秀的射频工程师,敬请关注: 射频工程师养成培训
上一篇:基于磁性材料的EMI滤波器
下一篇:基于电力载波和RFID的电子站牌系统设计

