- 易迪拓培训,专注于微波、射频、天线设计工程师的培养
小型化盘锥天线的设计与仿真
1 引言
VHF/UHF频段的车载电磁场监测天线,其工作频率范围从30MHz~3000MHz,频率比达到1:100。这样宽的工作频率范围,一般难以用一个天线来覆盖,通常是由两个天线分频实现的。负责高频段的天线一般覆盖频段为700MHz-3000MHz。
盘锥天线最早由Armig G. Kandoian在1943年提出,而后J.J.Nail在文献中对盘锥天线的各性能做了详尽而细致的描述。它具有宽频带,近乎均匀的角向覆盖,而且体积小(相对于双锥天线,体积减小了一半)等优点,因此一直是宽带天线中最受关注的天线之一。但应用于较低频段,普通的盘锥天线往往尺寸较大,占用了很大空间,对车载监测系统中面临的一些恶劣的工作环境,天线的安装、卸载,及车辆的运动行驶极其不利,大大影响了车载无线电监测系统的机动性、可靠性和操作性。因此,高性能小型宽带天线的研制己成为一个紧迫且具有重大理论和实际意义的课题。所以,近年来各种小型化的方法不断被提出来,使天线在不损害电性能指标的提前下,尽量减小尺寸。
在文献中,介绍了一种工作在250M~1100MHz的盘锥天线,该天线通过在锥体下方接介质柱顺利的压低了驻波比,实现了小型化;文献中介绍了工作在110M~1000MHz的宽频带盘锥天线,在该天线外围接集总负载成功的使天线尺寸减少了近25%;文献中将两个不等角的锥组合在一起分频工作,实现了180M~18GHz的超宽带性能,其中也运用了金属锥线渐变、介质加载等技术。
本文提出了用曲线贴片代替盘锥导体锥的方法,在尽可能不影响其他性能的前提下,成功地减小了天线的尺寸,实现了小型化,满足了车载监测中高频段天线的性能要求。
2 基本理论及分析设计过程
2.1 传统盘锥天线
盘锥天线是由一个导体圆盘和一个导体圆锥构成的。馈电时同轴传输线的外导体连接导体圆锥,内导体连接导体圆盘,盘锥天线具有和双锥天线相似的性能,其输入阻抗是双锥输入阻抗的一半:

其中
为半锥角。为了保持宽频带特性,
一般取值在25°~35°之间,因此从上式算出输入阻抗通常在60欧姆左右,可以不用巴伦也能与50欧姆同轴线进行很好的匹配。图1是盘锥结构示意图。

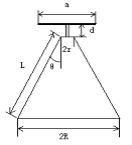
图1 盘锥结构图
盘锥中d值的大小和圆锥的2r对馈电点处的分布电容的大小有着不可忽略的影响,因而影响天线输入端的匹配效果,一般d=0.3*2r ,a=0.7*2R ;2R大约在四分之一个波长左右。圆锥张角θ的选择与斜高L有关。当张角较小时,L应取得大一些,以便有足够的阻抗过渡空间。通常,锥体的斜高L可取为L=k*λmax /4。其中λmax 是工作频段下限工作频率所对应的波长,比例系数k一般在1.1—1.3范围内取值。
2.2 设计思路
本文采用六条曲线贴片代替了传统盘锥天线的下锥体。此处所用的曲线是正弦曲线

式中r和Ф为曲线的极坐标,α为正弦曲线所转过的角度,p为每一单元组线段编号,τ是每个单元组线段之间的比例常数,半径RP的关系式为:
![]()
这样改变了传统盘锥天线的径向电流流向,使电流沿着曲线贴片弯曲的走线,横向电流相互抵消,径向电流相互叠加,从而使电流走过的路径增长,增大电尺寸,从而适当的改善低频段性能,实现了盘锥天线的小型化。通过高频电磁场仿真软件HFSS将曲线贴片赋形到盘锥上,实现了本文设计。
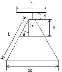
并由于考虑到盘锥的馈电处电流较大,采取曲线贴片的形式一味地增加电流流过的路径会极大的影响到盘锥原本的电流分布,从而导致增加反射和恶化远场方向图,所以本文在靠近馈电处一段还是沿用了传统盘锥原来的金属锥结构,并在距馈电点较远即电流相对较小处改用曲线贴片的形式,这样既保证了盘锥原来的特性,又增加了天线电长度,实现了天线的小型化。模型和结构如下图2、3所示。

图2 盘锥天线模型图

图3 结构图
3 仿真结果
通过HFSS12软件对各个参数进行了参数优化分析,最终确定各参数为:盘锥总高为97mm,半径R=60mm,r=3.6mm,L=112mm,θ=30°,a=90mm,d=3.6mm,h=20.5mm,六条正弦臂α=22.5°,δ=10°,τ=0.75,锥体下渐变曲线长为88mm。在贴片曲线下方是一段厚度为1mm的FR4介质,整个天线分频段进行仿真,频段分别为0.5GHz-1.3GHz、1.3GHz-3GHz、3GHz-5GHz、5GHz-8GHz,中心频率依次为1GHz、2GHz、4GHz、6.5GHz。仿真各结果如下:

图4 VSWR
图4是VSWR随频率变化的曲线图。上图中看出,在0.67GHz-7.1GHz频段范围内,VSWR<2.2,其中97%以上的频段内VSWR<2,满足性能要求。
图5分别是0.7GHz、1.5GHz、2GHz三个频点的E面辐射方向图。图中可看出在低频时(如0.7GHz),导体圆盘的电尺寸小,其方向图与短振子相似;当频率增加,导体圆盘的电尺寸逐渐加大,对天线产生不可忽略的影响,使方向图逐渐向下半空间压缩,如图5(b)、(c),同时也伴随着旁瓣的产生。

(a)0.7GHz

(b)1.5GHz

(c)2GHz
图5 E面辐射方向图

图6 H面辐射方向图
图6可看出,盘锥天线在H面内是全向辐射的,具有很好的全向性。

图7 增益对比图
图7是本文设计天线与传统盘锥天线各频点的增益对比图。图中实线表示本文设计的盘锥天线增益,虚线表示传统盘锥天线增益。可以看出设计天线在较低频段处与传统天线相当,较高频段时增益略低于传统盘锥天线。在工作频段内,增益大约稳定在2~3dB之间。

(a)0.7GHz

(b)1.5GHz

(c)2GHz
图8 主极化和交叉极化方向图
图8是本文设计盘锥与传统盘锥在0.7GHz、1.5GHz、2GHz三个频点的主极化和交叉极化对比图。图中本文设计的盘锥天线用实线表示,传统天线用虚线表示,主极化用粗线表示,交叉极化用细线表示。可以看出,在辐射方向上,主极化的方向图性能很好,交叉极化隔离度随着频率的升高而减小,交叉极化性能相对传统盘锥天线有所下降。
4 总结
本文设计了一款新型的小型化宽带盘锥天线。该天线通过采用曲线贴片代替导体圆锥的方法大大的减小了盘锥天线的尺寸。HFSS仿真结果表明,该天线在0.67GHz-7.1GHz的频段内得到了较好的方向图和驻波比性能,H面辐射方向图具有全向性,增益相对比较稳定,从仿真的角度验证了该天线满足车载监测天线的性能要求。
如何成为一名优秀的射频工程师,敬请关注: 射频工程师养成培训
上一篇:一种宽频带微带阵列天线
下一篇:EMI滤波器还得掌握这些设计方法

