- 易迪拓培训,专注于微波、射频、天线设计工程师的培养
美国专利局发布英特尔多面覆盖NFC天线设计专利
录入:edatop.com 点击:
美国专利商标局USPTO近日发布由Intel三个工程师申请的NFC天线设计方案,通过应用一个串行线圈概念,让使用者在进行交互时,无需精确的定位手机的摆放样式。
一个设备将拥有一个串行线圈天线,第一个线圈天线与第二个线圈天线有所连接,成为一个系列。具体的应用,三个工程师在“串行线圈在NFC中的多面覆盖”( Cascaded Coils for Multi-surface Coverage in Near Field Communication)一文中有详细介绍。
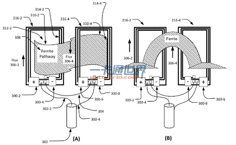
第一个线圈与第二线圈都是独立的天线,通过一个连接线将两个线圈串联,通过设备的不同面来建立近场耦合,设备不同面包括正面、顶部、底部或者设备的角。
两个线圈天线同时也是分离的,如果没有完成串联,两个天线可以独立运作。换一句话说,他们可以独立运作在一个便携式设备当中的不同面。

专利显示,两个NFC天线通过一个连接线串联在一起
据一卡通世界网了解,在最近的一段时间里,这是第三个天线设计专利,在这之前,苹果就申请了一个天线设计专利,而类似的,博通近期也申请了一个多元天线排列设计专利。未来NFC发展当中,天线设计的争夺将推进NFC在各种设备中的普及,优化NFC的贴近交互体验。
Via:nfcworld
NFC天线设计,13.56MHz RFID天线设计培训课程套装,让天线设计不再难
上一篇:NFC Forum更新NFC安全简易配对蓝牙开发指南
下一篇:AT&T推非支付NFC TSM平台NFC Connect


