- 易迪拓培训,专注于微波、射频、天线设计工程师的培养
用示波器维修开关电源技法
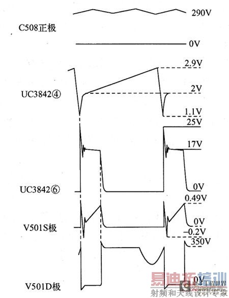
液晶显示器开关电源属大电流、高电压电路,也是故障率最高的电路,对于诸如无电压输出、输出电压过高等常见故障,用万用表查找故障不但方便,而且十分快捷,没有必要动用示波器。但是,对于一些开关电源的疑难故障,如屡损开关管及一些软故障等,示波器则可大显身手。通过测试一些关键点的波形,可快速圈定故障范围,查找到故障点。开关电源部分要检查的波形比较少,以图1所示的电源适配器为例,主要测试的波形有以下几个:①整流滤波以后的波形(C104正极的波形);②电源控制芯片UC3842的4脚的锯齿波电压波形;③UC3842的6脚输出的驱动脉冲波形;④场效应开关管Q101的漏极(D)和源极(s)波形等,如图2所示。

图1 电源适配器电路

图2 开关电源电路主要测试波形
C104正端为整流滤波波形测试点(测试时,示波器应采用直流耦合输入方式),扫描速度开关置10ms/div挡。开关管Q101漏极波形比较高,测试时应采用10:1或100:1的测试探头。
(2)开关电源的“热地”和“冷地”
一般而言,并联式开关电源的地有两个,即“热地”和“冷地”。以图1所示的电路为例,图中的“◇”表示“热地”,这个地是开关电源一次侧的地,和市电地相连,与“热地”相连的底板称为“热底板”;图中的“上”表示“冷地”,这个地是开关电源二次侧的地,和负载相连,与“冷地”相连的底板称为“冷底板”。
“热地”与“冷地”的根本区别,在于机器底板零电位参考点与市电电网有没有“直接的电的联系”。有直接联系的地是“热地”,机内的“热地”对大地存在约一百多伏的电压,如果误触了机内的“热地”以及与“热地”相连的元件,极有可能遭受电击,甚至发生生命危险;相反,“冷地”与市电电网没有“直接的电的联系”,用手触摸“冷地”以及与“冷地”相连的元器件,一般不会触电。
对于串联式开关电源,只有一个“热地”,也就是说,串联式开关电源的一次侧与二次侧是同一个地,都为“热地”。由于液晶显示器通过电缆信号直接与计算机主机相连,因此,液晶显示器的开关电源不能采用串联式开关电源,否则,会使计算机主机带电,这是不允许的。
(3)隔离变压器的应用
从以上分析可知道,液晶显示器开关电源的一次侧“热地”是带电的,因此,在用示波器维修开关电源时,为确保人员、显示器和仪器的安全,建议采用隔离变压器。
隔离变压器是一个一次与二次绕组匝数比为1:1的变压器。实际上为克服变压器自身的损耗(铜损与铁损),须把二次侧的匝数多绕5%左右,即空载时二次电压较一次电压约高5%。这可以作为区分一次与二次绕组的方法之一。在维修工作中使用隔离变压器,一是为了使一次电压与二次电压隔离,实现浮动(悬浮)电位,以保证测试时的人身安全;二是具有防雷击和滤除电源中杂波干扰的功能。
在目前采用的“三相四线制”供电网中,用电器(负载)必有一根线接相线(火线),一根线接地线(严格说应是中线),当负载有漏电或人体触及带电体的某点时,电流就会通过人体流入大地而发生触电事故。若把负载接入隔离变压器的二次侧,虽然电压仍为220V,但与地之间已无相关电位,实现了电位浮动。使用隔离变压器后,单独触及负载上任一点时均不会发生触电事故,但若同时触及电位差较大的两点时也会发生触电,不过这种情况是很少发生的,人员就会比较安全。
(4)采用隔离变压器时,示波器与液晶显示器开关电源的连接
要用示波器来观测液晶显示器开关变压器一次电压波形时,必须使用隔离变压器进行隔离,其正确连接方法如图35所示。因为一次侧地线为“热地”,线上存在着很高的电压,若不采用隔离变压器进行隔离,当示波器地线与开关变压器“热地”相连时,将使示波器外壳带电,对维修人员的安全构成很大威胁。当然,如果用示波器测量开关电源二次侧波形或主板电路波形时,由于其地为“冷地”,可以不采用隔离变压器。

图3 采用隔离变压器时示波器与液晶显示器开关电源的连接
上一篇:简单双通道示波器的水平分度调节处理功能块
下一篇:光线示波器的种类和选择方法


