- 易迪拓培训,专注于微波、射频、天线设计工程师的培养
一种基于单片机的正弦波输出逆变电源的设计
摘要:介绍了一种正弦波输出的逆变电源的设计。设计中采用了DC/DC和DC/AC两级变换,高频变压器隔离,单片机控制。实验结果表明性能可靠。
O 引言
低压小功率逆变电源已经被广泛应用于工业和民用领域。特别是新能源的开发利用,例如太阳能电池的普遍使用,需要一个逆变系统将太阳能电池输出的直流电压变换为220V、50Hz交流电压,以便于使用。本文给出了一种用单片机控制的正弦波输出逆变电源的设计,它以12V直流电源作为输入,输出220V、50Hz、0~150W的正弦波交流电,以满足大部分常规小电器的供电需求。该电源采用推挽升压和全桥逆变两级变换,前后级之间完全隔离。在控制电路上,前级推挽升压电路采用SG3525芯片控制,采样变压器绕组电压做闭环反馈;逆变部分采用单片机数字化SPWM控制方式,采样直流母线电压做电压前馈控制,同时采样电流做反馈控制;在保护上,具有输入过、欠压保护,输出过载、短路保护,过热保护等多重保护功能电路,增强了该电源的可靠性和安全性。
该电源可以在输人电压从10.5V到15V变化范围内,输出220V±10V的正弦波交流电压,频率50Hz±0.5Hz,直流分量<lV,电压波形畸变率<5%,并且有很强的过载能力。由于采用了单片机数字化SPWM控制方式,控制灵活方便,可以在不改变电路结构的条件下,只改变程序,使逆变器输出110V、60Hz正弦波交流电,以适应不同用户的需求。
l 主电路
逆变电源主电路采用推挽升压和全桥逆变两级变换,如图1所示。

输入电压一端接在变压器原边的中间抽头,另一端接在开关管S1及S2的中点。控制S1及S2轮流导通,在变压器原边形成高频的交流电压,经过变压器升压、整流和滤波在电容C1上得到约370V直流电压。对S3~S6组成的逆变桥采用正弦脉宽调制,逆变输出电压经过电感L、电容C2滤波后,最终在负载上得到220V、50Hz的正弦波交流电。采用高频变压器实现前后级之间的隔离,有利于提高系统的安全性。
输入电压10.5~15 V,输入最大电流15A,考虑一倍的余量,推挽电路开关管S1及S2耐压不小于30V,正向电流不小于30A,选用IRFZ48N。
升压高频变压器的设计应满足在输入电压最低时,副边电压经整流后不小于逆变部分所需要的最低电压350V,同时输入电压最高时,副边电压不能过高,以免损坏元器件。同时也必须考虑绕线上的电压降和发热问题。选EE型铁氧体磁芯,原副边绕组为7匝:300匝。关于高频变压器的设计可以参考文献。
变压器副边输出整流桥由4个HER307组成.滤波电容选用68μF、450V电解电容。
根据输出功率的要求,输出电流有效值为0 6~0.7A,考虑一定的电压和电流余量,逆变桥中的S3~S6选用IRF840。逆变部分采用单极性SPWM控制方式,开关频率fs=16kHz。
假没滤波器时间常数为开关周期的16倍,即谐振频率取1kHz,则有

滤波电感电容LC≈2.5×10-3,可选取L=5mH,C=4.7μF。滤波电感L选用内径20mm,外径40mm的环形铁粉芯磁芯,绕线采用直径0.4mm的漆包线2股并绕,匝数180匝。
2 数字化SPWM控制方法
该逆变电源的控制电路也分为两部分。前级推挽升压电路由PWM专用芯片SG3525控制,采样变压器绕组电压实现电压闭环反馈控制。后级逆变电路由单片机PICl6C73控制,采样母线电压实现电压前馈控制。前级控制方法比较简单,在这里主要介绍后级单片机的数字化SPWM控制方式。
2.l 正弦脉宽调制SPWM
正弦脉宽调制SPWM技术具有线性调压、抑制谐波等优点,是目前应用最为广泛的脉宽调制技术。一般用三角波μc作为载波信号,正弦波ug=UgmSin2πfgt作为调制信号,根据μ和μg的交点得到一系列脉宽按正弦规律变化的脉冲信号。则可以定义调制比m=Ugm/Ucm,频率比K=fc/fa=Tg/Tco。
正弦脉宽调制可以分为单极性SPWM和双极性SPWM。双极性SPWM的载波为正负半周都有的对称三角波,输出电压为正负交替的方波序列而没有零电平,因此可以应用于半桥和全桥电路。实际中应选择频率比K为奇数,使得输出电压μo具有奇函数对称和半波对称的性质,μc无偶次谐波。但是输出电压μc中含有比较严重的n=K次中心谐波以及n=jk±6次边频谐波。其控制信号为相位互补的两列脉冲信号。
单极性SPWM的载波为单极性的不对称三角波,输出电压也是单极性的方波。因为输出电压中包含零电平,因此,单极性SPWM只能应用于全桥逆变电路。由于其载波本身就具有奇函数对称和半波对称特性,无论频率比K取奇数还是偶数输出电压Uo都没有偶次谐波。输出电压的单极性特性使得uo不含有n=k次中心谐波和边频谐波,但却有少量的低频谐波分量。单极性SPWM的控制信号为一组高频(载波频率fe)脉冲和一组低频(调制频率fk)脉冲,每组的两列脉冲相位互补。由三角载波和正弦调制波的几何关系可以得到,在k》l时,高频脉冲的占空比D为

2.2 PIC单片机的软件实现
PICl6C73是Microchip公司的一款中档单片机,它功能强大而又价格低廉。PICl6C73内部有两个CCP(Capture、Compare、PWM)模块,当它工作在PwM模式下,CCP x引脚就可以输出占空比10位分辨率可调的方波,图2为其工作原理图。

TMR2在计数过程中将同步进行两次比较:TMR2和CCPRxH比较一致将使CCPX引脚输出低电平;TMR2和PR2比较一致将使CCPx引脚输出高电平,同时将TMR2清0,并读入下一个CCPRxH值,如图3所示。因此,设定CCPRxH值就可以设定占空比,设定PR2值就可以设定脉冲周期。脉冲占空比D可以表示为
![]()
在本设计中,全桥逆变器采用单极性SPWM调制方式。CCP1模块用来产生高频脉冲,CCP2模块用来产牛低频脉冲。选择16M晶振,根据脉冲周期Tc=[(PR2)+l]×4×4*Tosc和频率比k=Tg/Tc,可以取PR2=249,k=320,则有Tg=20 ms,高频脉冲序列每一一个周期中包含:320个脉冲。设调制比m=0.92,将,t=TgN/320代入式(2),联立式(3)可以得到产生高频脉冲所需要的CCP1H的取值,第0~79个脉冲为
CCP1H=230sin(πN/160) (4)
式中:N为0→79。
考虑到正弦波的对称性,可以得到第80~159个脉冲为
CCP1H=230sin[π×(80—N)/160] (5)
根据脉冲的互补性,可以得到第160~239个脉冲为
CCP1H=250—230sin(πN/160) (6)
第240~319个脉冲为
CCP1H=250—230Sin[π×(80一N)/160] (7)

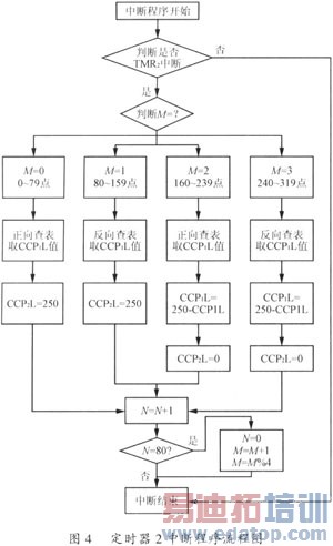
因此,在程序中存储表格230sin(πN/160),N∈[0,79]就可以得到整个周期320个高频脉冲的CCP.H值。第0~79点,CCP1H为正向查表取值;第80~159点,CCP1H为反向查表取值;第160~239点CCP1H为计数周期减去正向查表值;第240~319点CCP1H为计数周期减去反向查表值。
对于低频脉冲,前半个周期可以看成由占空比始终为1的高频脉冲组成,后半个周期看成由占空比始终为0的高频脉冲组成,因此,第0~159个脉冲,CCP2H=250,第160~319个脉冲,CCP2H=0。
图4为单片机_TMR2中断程序的流程图,在中断程序中查表修改CCPxL的值。就可以改变下一个脉冲的CCPxH值,从而修改下一个脉冲的占空比,实现SPWM控制。

3 实验结果
实验中,输入电压变化范围为10.5~15V,输出滤波电感5.3mH,滤波电容8μF,从空载到150W负载状态下都可以输出(220±10V)、50Hz的正弦波交流电压,如表1和表2所示。图5和图6分别为空载和150W纯阻性负载条件下输出电压电流波形。可以看出输出电压和电流波形良好,经测量电压波形的THD为3.6%。


4 结语
本文详细分析了一种正弦波输出的逆变电源的设计,以及基于单片机的数字化SPWM控制的实现方法。数字化SPWM控制灵活,电路结构简单,控制的核心部分在软件中,有利于保护知识产权。
作者:陆涵 胡磊 何湘宁 金新伟 来源:《电源技术应用》2005年10期

