- 易迪拓培训,专注于微波、射频、天线设计工程师的培养
基于AVR的电源管理系统的设计
0 引言
当今, 由于在民用及国防等诸多领域中的广泛应用, 空中机器人技术已经越来越被人们所重视, 并吸引了各国专家学者的注意。小型旋翼机器人是以模型直升机为载体, 装备上传感器单元, 控制单元和伺服机构等装置以实现自主飞行。而为了提高飞机的安全性, 需要设计一套设备监测系统, 实时的监测飞机的姿态信息, 机载设备的状况以及电源的情况等。
该平台所使用的电源是两节锂电池串联组成的电池组, 利用锂离子电池的充放电特性, 设计了一套以mega16l 为核心的充放电管理系统。锂电池具有体积小、能量密度高、无记忆效应、循环寿命高、高电压电池和自放电率低等优点, 与镍镉电池、镍氢电池不太一样的是必须考虑充电、放电时的安全性,以防止特性劣化。因此在系统运行过程中, 为了保护锂电池的安全, 设计了一套欠压保护电路, 以防止电源管理系统因过用而发生电池特性和耐久性特性劣化。
1 电源管理系统总体框架无人机电源管理系统是飞机实现自主飞行的重要组成部分, 其大致框架如图1 所示。在该系统中, 利用AXI 公司生产的2212/ 34 型号发电机将动能转换为220V 交流电, 再经过整流稳压后输出11.6V 的直流电压, 可由该输出电压为两节锂电池充电。电源管理系统的控制器是meg a161 单片机, 该控制器通过检测两节锂电池的电压大小从而控制继电器开关来对电池进行充放电管理。

图1 电源管理系统框架
控制器采集到电源系统中的信息后, 通过无线传输设备将该数据实时传输给地面。地面监控平台还可以发送一些指令给mega16l, 通过控制继电器开关来控制电池充放电, 从而实现监测和控制飞机的目的。
机上电源模块由两节英特曼电池有限公司生产的锂电池组成, 电池组电量充足时电压为8?? 4V.电池的荷电量与整个供电系统的可靠性密切相关, 电池剩余电量越多, 系统的可靠性越高, 因此飞行时能实时获得电池的剩余电量, 这将大大提高飞机的可靠性。
2 电源监控系统的实现
直升机能顺利完成飞行任务, 充足的电源供应不可或缺。
由锂电池的特性可知, 在过度放电的情况下, 电解液因分解而导致电池特性劣化并造成充电次数降低。因此为了保护电池的安全, 电源系统在给控制系统供电前要经过欠压保护模块和稳压模块。为了预测电源系统中剩余的电量, 这里采用检测电源系统电压的方法, 在测得系统的电源电压后, 查找由放电曲线建立的数据库, 就能估计出电源系统中所剩余的电量。
单片机所需要的电源电压是2. 7 ~ 5.5V, 因此可为meg a16l 设计外部基准电压为2.5V, 该基准稳压电路如图2所示。所以系统要检测电池的电压, 需要将电池用电阻进行分压且最大分得的电压值不能超过2.5V.控制器测得的电压值乘上电压分压缩小的倍数后, 就能得到电源系统中的实时电压。时刻监测锂电池的用电情况, 防止电池过用现象出现, 就能达到有效使用电池容量和延长寿命的目的。

图2 基准电压电路
2.1 硬件设计
2.1.1 直流无刷电机电路
无刷直流电机是由电动机主体和驱动器组成, 是一种典型的机电一体化产品。直流无刷电机与一般直流电机具有相同的工作原理和应用特性, 而其组成是不一样的, 除了电机本身外, 前者还多一个换向电路, 直流无刷电动机的电机本身是机电能量转换部分, 它除了电机电枢、永磁励磁两部分外, 还带有传感器。该发电机的部分AC-DC 电路如图3 所示。

图3 无刷电机AC-DC 电路
2.1.2 充电电路
锂离子电池的充电特性和镍镉、镍氢电池的充电特性有所不同, 锂离子电池在充电时, 电池电压缓慢上升, 充电电流逐渐减小, 当电压达到4.2V 左右时, 电压基本不变, 充电电流继续减小。因此对于改型充电器可先用先恒流后恒压充电方式进行充电, 具体充电电路如图4 所示。该电路选用LM2575ADJ 组成斩波式开关稳压器, 最大充电电流为1A.

图4 高效开关型恒流/ 恒压充电器部分电路
该电路工作原理如下: 当电池接入充电器后, 该电路输出恒定电流, 对电池充电。该充电器的恒流控制部分由双运放LM358 的一半、增益设定电阻R3 和R4 、电流取样电阻R5 和1. 23V 反馈基准电压源组成。刚接入电池后, 运放LM358 输出低电平, 开关稳压器LM2575-ADJ 输出电压高, 电池开始充电。当充电电流上升到1A 时, 取样电阻R5 (50m 欧) 两端压降达到50mV, 该电压经过增益为25 的运放放大后, 输出1.23V 电压, 该电压加到LM2575 的反馈端, 稳定反馈电路。
当电池电压达到8.4V 后, LM3420 开始控制LM2575ADJ 的反馈脚。LM3420 使充电器转入到恒压充电过程, 电池两端电压稳定在8?? 4V.R6 、R7 和C3 组成补偿网络, 保证充电器在恒流/ 恒压状态下稳定工作。若输入电源电压中断, 二极管D2 和运放LM358 中的PNP 输入级反向偏置, 从而使电池和充电电路隔离, 保证电池不会通过充电电路放电。当充电转入恒压充电状态时, 二极管D3 反向偏置, 因此运放中不会产生灌电流。
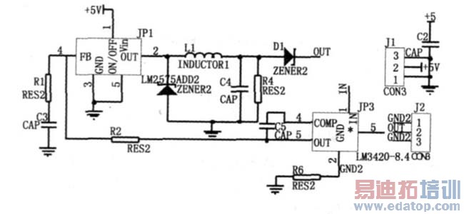
2.1.3 电源欠压保护
电源欠压保护由锂电池的电池放电特性易知, 当电池处于3.5V 时, 此时电池电量即将用完, 应及时给电池充电, 否则电池电压将急剧下降直至电池损坏。于是设计了一套欠压保护电路如图5 所示, 利用电阻分压所得和由TL431 设计的基准电压比较, 将比较结果送人LM324 放大电路进而触发由三极管构成的开关系统, 从而控制负载回路的通阻。试验证明, 当系统电压达到临界危险电压7V 时, 系统的输出电流仅为4mA, 从而防止了系统锂电池过度放电现象的产生。

图5 欠压保护电路
由于锂离子电池能量密度高, 因此难以确保电池的安全性。在过度充电状态下, 电池温度上升后能量将过剩, 于是电解液分解而产生气体, 因内压上升而发生自燃或破裂的危险;反之, 在过度放电状态下, 电解液因分解导致电池特性及耐久性劣化, 从而降低可充电次数。该充电电路和本管理系统能有效的防治锂电池的过充和过用, 从而确保了电池的安全, 提高锂电池的使用寿命。
2. 2 软件设计
电源管理系统的软件设计主要是meg a16l 通过其8 路10位ADC 端口来检测电池的电压状态, 根据不同的情况采取相应措施。一旦出现有电池低于7.0V 的情况, 单片机就将该电池切换到充电状态并保证至少有一组电池为负载供电, 且电池1 优先级别高于电池2.主要程序流程图如图6 所示, 程序处于一个无限循环, 单片机时刻监测两组电池的电压的状态并记忆当前的充电状态, 一旦放电的电池达到7V 以下, 单片机驱动继电器开关将充电回路切换到该电池并将另一组电池切换为负载回路的电源。

图6 AVR 主程序流程图
程序在运行的过程当中, 每隔1 秒定时器1 产生一次中断, 通过串口接收监控平台发来的指令信息并将飞机的两组电源的实时电压状况、继电器的状态等信息通过无线射频模块发送给地面站以便地面能实时了解到飞机的供电情况。
2. 3 上位机设计
2. 3.1 无线射频模块
电源管理系统的上位机硬件方面主要由无线射频模块、电平转换电路及PC 电脑组成, 大致框图如图1 所示。因射频模块将接收出来的数据是TTL 电平, 再通过max 232 电平转换将其变为RS232 电平传送给电脑, 从而实现飞机和地面的通信。
该系统之所以能实现远距离监测飞机, 主要依靠无线射频模块的远距离和高准确度等特性。其主要特点如下所示: ( 1)长距离特性: 室内/ 城市距离高达450 米; 室外可视范围: 带2.1dB 偶极天线高达11 公里, 带高增益天线可达32 公里; 接收器灵敏度为- 110dBm.( 2) 高级网络和安全: 7 个跳频信道, 每个信道可获得65k 地址, 恢复和确认机制以保证可靠分组传输; 支持对等网络结构( 没有主/ 从依赖关系) , 支持点对点、点对多和多点接入网络拓扑结构。
由此可知, XT end OEM 无线射频模块在低成本无线数据通讯解决方案中提供了最远的距离。该模块易于使用, 耗电低, 对设备间重要数据包提供了可靠的数据传送, 体积紧凑节省宝贵的电路板空间。图7 表示的是由XTend OEM 无线射频模块构成的主机间无线连接的系统框图。

图7 主机间无线连接的系统框图
2.3.2 地面监控平台
监控平台是整个设备监控系统的重要组成部分, 监控平台与控制程序之间要求具有双工通信的。一方面, 飞机平台上控制器将飞机的实时信息利用数传发到地面, 另一方面, 地面站将指令发给飞机以完成所需要的任务。
地面软件基于Microso ft 的VC+ + 6. 0 平台借助其提供的MFC 类库进行开发。具体的软件开发过程, 采用面向对象的设计方法, 使用C+ + 语言实现。每种功能模块, 对应一个类。这样, 使得最终的软件实现结构上清晰合理, 易于维护升级。该程序利用MFC 技术结合M SComm 控件, 使用C+ + 编写。程序功能包括: 手动设置串口参数, 串行接收数据和发送指令, 显示接收数据信息和保存接收数据等功能。
3 实验结果分析
控制器在得到电源电压、继电器状态、充放电情况等信息后, 将这些信息传给地面并保存到PC 机上面。图8 所示就是飞机在飞行时采集到的数据。

图8 电池1 充放电数据。
从图中可知, 首先电池1 作为负载给系统供电, 经过一段时间使用后由7.5V 降到7.0V, 此时单片机在检测到该电池电量不足后驱动继电器, 并将该电池切换到充电回路。经过10 分钟充电后, 因电池2 的电压也小于7V 单片机再次将系统的电源切换到电池1, 如此反复直至完成任务。由此可知该系统能将动能转换为动能并有效的管理系统的用电循环, 提高了系统的运行时间, 从而提高整个系统的实用性和可靠性。
4 结束语
本文设计了一套UAV 电源管理系统, 该系统具有自动控制充放电管理, 实时监测电池电压等功能。该系统已经经过调试和试验验证了其可行性, 但是为了保证飞机安全, 还要做更多的试验以保证无人机自主飞行的安全和稳定。除此之外, 高低频滤波, 电池电量预测等也是重要的方向, 需要深入的研究。现今, 锂电池的使用范围越来越广, 其价格也相对适中,如果掌握先进的科学的使用方法, 让锂电池发挥应有的最大效用, 将会节省大量的资源和财富。
作者:陈东旭 裴海龙 来源:《计算机测量与控制》

