- 易迪拓培训,专注于微波、射频、天线设计工程师的培养
移动通信基础知识(3)
第三章 数字公用陆地移动通信网PLMN
数字公用陆地移动通信网PLMN的网
络结构见下图3-1,如图所示从物理实体来看,数字PLMN网包括:移动终端、BSS子系统和MSS子系统等部分。移动终端与BSS子系统通过标准的Um无线接口通信,BSS子系统与MSS子系统通过标准的A接口通信。

其中:


3.1、BSS子系统
基站子系统BSS为PLMN网络的固定部分和无线部分提供中继,一方面BSS通过无线接口直接与移动台实现通信连接,另一方面BSS又连接到移动交换子系统MSS的移动交换中心MSC。
基站子系统BSS可分为两部分。通过无线接口与移动台相连的基站收发信台(BTS)以及与移动交换中心相连的基站控制器(BSC),BTS负责无线传输、BSC负责控制与管理。
一个BSS系统由一个BSC与一个
或多个BTS组成,BSS子系统可由多个BSC和BTS组成。一个基站控制器BSC根据话务量需要可以控制数十个BTS。BTS可以直接与BSC相连,也可以通过基站接口设备BIE与远端的BSC相连。基站子系统还应包括码变换器(TC)和子复用设备(SM)。
图3-2为典型的BSS子系统结构图。

其中:

如上图,BSS的组成:
(1)基站收发信台(BTS):
基站收发信台(BTS)包括基带单元、载频单元和控制单元三部分,属于基站系统的无线部分,是由基站控制器控制,服务于某个小区的无线收发信设备,完成BSC与无线信道之间的转换,实现BTS与MS之间通过空中接口的无线传输及相关的控制功能。
当BTS与BSC为远端配置方式时,则需采用Abis接口,这时,BTS与BSC两侧都需配置BIE设备;而当BSC与BTS之间的间隔不超过10米时,可将BSC与BTS直接相连,采用内部BS接口,不需要接口设备BIE。
(2)基站控制器(BSC):
BSC是基站系统(BSS)的控制部分,在BSS中起交换作用。
BSC一端可与多个BTS相连,另一端与MSC和操作维护中心OMC相连,BSC面向无线网络,主要负责完成无线网络管理、无线资源管理及无线基站的监视管理,控制移动台和BTS无线连接的建立、接续和拆除等管理,控制完成移动台的定位、切换和寻呼,提供语音编码、码型变换和速率适配等功能,并能完成对基站子系统的操作维护功能。
BSS中的BSC所控制的BTS的数量随业务量的大小而改变。
(3)码型变换器(TC):
码型变换器TC主要完成16kbit/sRPE-LTP(规则脉冲激励长期预测)编码和64kbit/s A律PCM之间的语音变换。在典型的实施方案中,ZXG10-TC位于MSC与BSC之间。
当TC位于MSC侧时,通过MSC和BSC之间以及BSC和BTS之间的传输线路子复用器SM、BIE,可以充分利用在空中接口使用的低语音编码传输速率,降低传输线路的成本。
BSC与TC之间的接口称为Ater接口;在TC与MSC之间的接口称为A接口。
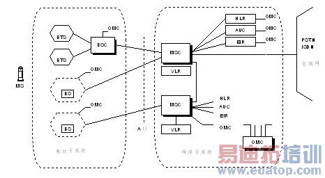
3.2、MSS子系统
移动交换子系统MSS完成GSM的主要交换功能,同时管理用户数据和移动性所需的数据库。MSS子系统的主要作用是管理GSM移动用户之间的通信和GSM移动用户与其它通信网用户之间的通信。
如上图3-1所示,移动交换子系统MSS包括七个功能单元。
? 移动交换中心(MSC)
? 拜访位置寄存器(VLR)
? 归属位置寄存器(HLR)
? 鉴权中心(AUC)
? 设备识别寄存器(EIR)
? 短消息中心(SC)
3.2.1、移动交换中心(MSC)
MSC是PLMN的核心。MSC对位于它所覆盖区域中的移动台进行控制和完成话路接续的功能,也是PLMN和其他网络之间的接口。它完成通话接续,计费,BSS和MSC之间的切换和辅助性的无线资源管理、移动性管理等功能。另外,为了建立至移动台的呼叫路由,每个MSC还完成GMSC的功能,即查询移动台位置信息的功能。
MSC从三种数据库,拜访位置寄存器(VLR)、归属位置寄存器(HLR)和鉴权中心(AUC)中取得处理用户呼叫请求所需的全部数据。反之,MSC根据其最新数据更新数据库。
3.2.2、拜访位置寄存器(VLR)
VLR通常与MSC合设,其中存储MSC所管辖区域中的移动台(称拜访客户)的相关用户数据,包括:用户号码、移动台的位置区信息、用户状态和用户可获得的服务等参数。
VLR是一个动态用户数据库。VLR从移动用户的归属位置寄存器(HLR)处获取并存贮必要的数据,一旦移动用户离开该VLR的控制区域,则重新在另一个VLR登记,原VLR将取消该移动用户的数据记录。
3.2.3、归属位置寄存器(HLR)
HLR存储管理部门用于移动用户管理的数据。每个移动用户都应在其归属位置寄存器(HLR)注册登记,它主要存储两类信息:一是有关移动用户的参数,包括移动用户识别号码、访问能力、用户类别和补充业务等数据;一是有关移动用户目前所处位置的信息,以便建立至移动台的呼叫路由,例如MSC、VLR地址等。
3.2.4、鉴权中心(AUC)
AUC属于HLR的一个功能单元部分,专门用于GSM系统的安全性管理。鉴权中心产生鉴权三参数组(随机数RAND、符号响应SRES、加密键Kc),用来鉴权用户身份的合法性以及对无线接口上的话音、数据、信令信号进行加密,防止无权用户接入和保证移动用户通信的安全。
3.2.5、设备识别寄存器(EIR)
EIR存储有关移动台设备参数。完成对移动设备的识别、监视、闭锁等功能,以防止非法移动台的使用。
EIR中存有三种名单:
(1)白名单――存贮已分配给可参与运营的GSM各国的所有设备识别标识IMEI。
(2)黑名单――存贮所有应被禁用的设备识别标识IMEI。
(3)灰名单――存贮有故障的以及未经型号认证的设备识别标识IMEI,由网路运营者决定。
3.2.6、短消息中心(SC)
短消息中心提供短消息业务功能。
短消息业务(SHORT MESSAGE SERVICE:SMS)提供在GSM网络中移动用户和固定用户之间或移动用户和移动用户之间发送讯息长度较短的信息。短消息业务功能是一种类似于传呼机的业务功能,但是它具有寻呼网络无法具备的优点:即保证到达和双向寻呼功能。
点对点短消息业务包括移动台MS发起的短消息业务MO/PP及移动台终止的短消息业务MT/PP。点
对点短消息的传递与发送由短消息中心SC进行中继。短消息中心的作用像邮局一样,接收来自各方面的邮件,然后把它们进行分拣,再发给各个用户。短消息中心的主要功能是接收、存储和转发用户的短消息。
通过短消息中心能够更可靠地将信息传送到目的地。如果传送失败,短消息中心保存失败消息直至发送成功为止。短消息业务的另一个突出特点是,即使移动台处于通话状态,仍然可以同时接收短消息。
3.3、操作维护中心(OMC)
OMC系统按照功能划分成几大模块,各大模块又分为前台和后台两个子模块,强调各模块的独立性以及模块间接口的通用性,以适应系统结构的变化及功能的增加。
OMC与GSM系统各网络单元的关系如下图所示:

OMC即操作维护中心,用于对GSM系统的交换实体进行管理。它主要具有以下功能:维护测试功能、障碍检测及处理功能、系统状态监视功能、系统实时控制功能、局数据的修改、性能管理、用户跟踪、告警、话务统计功能等。
OMC的功能大部分分布在MSC/VLR、HLR/AUC、BSS等实体中与操作维护相关的有关模块中完成,OMC操作台主要实现OMC的人机接口。OMC功能与一般的维护台功能类似,但需遵守相关规范要求。
3.4、GSM系统各个接口和协议
作为现代电信系统,GSM是一个复杂的网络系统,在多业务方面它与ISDN有很多共同点,同时它还增加了来自蜂窝网独有的功能。随着数据网络开放系统互连模型(OSI)的出现,我们可以把GSM这样一个具体系统接口的功能、接口和协议,在OSI模型基础上来进行分析。
就GSM系统与外界的联系,可划分为三大边界,因而也有了三大外部接口:

首先,在用户侧,有移动台MS和用户之间的界面,可认为是一个人机界面。在GSM规范中定义了一个SIM-ME接口,这里SIM是一张智能卡,包含存贮在无线端口的用户一侧上所有与用户有关的信息,ME代表移动设备。
其次,GSM与其他电信网接口,规定GSM作为一种接入网,建立起GSM用户与其他电信网用户之间的呼叫;当然也我们可以这样认识,GSM是一种电信交换机,既执行GSM功能,又能管理PSTN/ISDN用户,而一般规范的GSM体系结构不考虑这种可能性,只是明确定义了GSM与其它电信网的接口。
再次,GSM与运营者的接口,提供对NSS、BSS设备管理和运行管理,实现运营商对网络的管理。
根据OSI基本原理,可对GSM系统系统功能做分层结构,描述如下图所示:

传输:数据传输功能,在沿着通信路径的各段上提供携带用户数据,并提供实体间传送信令的方法。
RR:无线资源管理,在呼叫期间建立和释放移动台和MSC之间的稳定连接,主要由MS和BSC完成;
MM:移动性和安全性管理,当环境发生变化时,移动台
可以作出不同网络的蜂房选择,使呼叫用户过程有效建立,还需基础设施来管理用户的位置数据(位置更新);
CM:通信管理,应用户要求,在用户之间建立连接,维持和释放呼叫。(可分为CC——呼叫控制、SSM——附加业务管理、SMS——短消息业务);
OAM:运行、管理和维护平面,为运营者操作提供手段;它直接由传输层提供服务。
我们首先考虑无线接口上的协议,这里有许多很重要的GSM协议,其协议栈结构图示如下:

RIL3-CC:无线接口第3层-CC层
RIL3-MM:无线接口第3层-MM层
RIL3-RR:无线接口第3层-无线资源管理层
RSM:信道释放确认
SCCP:信令连接控制部分
MTP:信息传递部分
BSSMAP:基站子系统移动应用部分
LAPDm:ISDN的Dm数据链路协议
TCAP:转移能力应用部分
MAP:移动应用部分
LAPD:D信道链路接入协议
参考以上信令协议模型:
1. BSC与MSC之间的接口(A接口)。
BSC与MSC之间的接口即A接口,它用于BSC和MSC之间的报文和进/出移动台的报文(通过CC或MM协议鉴别器实现)。
遵循《ETSIGSM系统技术规范书08.??》,A接口特性包括:
在A接口中,它遵循GSM规范08系列的要求。
Layer1——物理和电器参数及信道结构,定义MSC—BSC物理层结构。
采用公共信道信令NO.7(CSS7)的消息转移部分(MTP)的第一级来实现,采用2Mbit/s的PCM数字链路作为传输链路,性能符合GB7611—87标准;
信令信道使用2Mbit/s链路中的TS16。2Mbit/sPCM链路中的TS0通常用于传输MSC与BSC之间的同步信号,其他时隙(TS1~TS15,TS17~TS31)传输业务信号。在该接口中,业务信号的传输速率为64Kbit/s,为A律PCM编码方式。
Layer2——网络操作程序,定义数据链路层和网络层,即MTP2(Q.702—Q.703)和MTP3(Q.704—Q.705)、SCCP(Q.711—Q.714)。
其中MTP2是HDLC(高级数据链路控制)协议的一种变体,帧结构分别是由标志字段、控制字段、信息字段、校验字段和标志序列所组成;MTP3和SCCP(信令连接控制部分)则主要完成信令路由选择等功能。
Layer3——应用层。包括BSS应用规程(BSSAP)和BSS操作维护应用规程(BSSOMAP),完成基站系统的资源和连接的维护管理,业务的接续及拆除的控制。
2. BSC与BTS之间的接口(Abis接口)。
BSC支持900MHZ和1800MHZ两种基站SITE配置。Abis接口遵循GSM规范08.5X系列要求。
Layer1——物理层通常采用2Mbit/sPCM链路,符合CCITTG.703和G.704要求。
Layer2——数据链路层采用LAPD协议,它为一点对多点的通讯协议,是Q.921规范的一个子集。LAPD也是采用帧结构,包含标志字段、控制字段、信息字段、校验字段和标志序列。在标志字段中包括SAPI(服务接入点标识)和TEI(终端设备识别)两个部分,用以分别区别接入到什么服务和什么实体。
Layer3——在上层部分,主要传输BTS的应用部分,包括无线链路管理(RLM)功能和操作维护功能(OML)。
在Abis接口上BSC提供BTS配置、BTS监测、BTS测试及业务控制等信令控制信息。同一基站的多个TRX可以共用一条LAPD信令链路,链路应该具备流量指示功能。其业务接口为8条16Kbps(FR)的电路。如果采用复用方案,则每个TRX有3条64Kbps的电路,其中一条用作LAPD信令链路,另外两条64Kbps链路用作8条语音或数据链路(4路复用)。
3. BSC与TC之间的接口(Ater接口)。
Ater接口为ZXG10-BSS系统内部自己定义的接口。
在Ater接口中,其传输内容与A接口类似,不同的只是话音信道在两接口中的传输速率:A接口中的话音信号为64kbit/sA律PCM编码信号,而在Ater接口中的话音信号仍然为13kbit/sRPE-LTP编码信号。在Ater接口中传输的信令信号为CCS7,信令信道占用TS16。
4. BTS与MS之间的接口Um。
Um接口被定义为MS与BTS之间的通信接口,我们也可称它为空中接口,在所有GSM系统接口中,Um接口是最重要的。
首先,它实现了各种制造商的移动台与不同运营者的网络间的兼容性,从而实现了移动台的漫游。其次,它的制定解决了蜂窝系统的频谱效率,采用了一些抗干扰技术和降低干扰的措施。很明显,Um接口实现了MS到GSM系统固定部分的物理连接,即无线链路,同时它负责传递了无线资源管理、移动性管理和接续管理等信息。
在GSM规范中很明确的定义了Um接口的协议,根据OSI模型,我们把Um接口分成三层来分析:
第一层,信号链路层(物理层):此层为无线接口最低层,提供无线链路的传输通道,为高层提供不同功能的逻辑信道,包括业务信道和逻辑信道。
第二层,信号链路层2:此层为MS和BTS之间提供了可靠的专用数据链路,是基于ISDN的D信道链路接入协议(LAPD),但加入了一些移动应用方面的GSM特有的协议,我们称之为LAPDm协议。
第三层,信号链路层3:此层主要负责控制和管理的协议层,把用户和系统控制过程的信息按一定的协议分组安排到指定的逻辑信道上。它包括了CM、MM、RR三个子层,分别可完成呼叫控制(CC)、补充业务管理(SS)和短消息业务管理(SMS)等功能。
在移动交换子系统MSS内部,每个设备与七号信令网都有一个单独接口。
其中:TUP为电话用户部分
ISUP为ISDN用户部分
MAP为移动应用部分
TCAP为事务处理能力应用部分
相应的协议堆共享相同的较低层:在七号信令网路上用于传输信令的协议称为MTP(信息传输单元)。在MTP之上,协议可能根据涉及的对等实体而不同。在MSC和完毕网路之间与呼叫有关的信令利用TUP(电话用户单元)、ISUP(集成业务用户单元)。GSM特有的,与呼叫不相关的信令对应于许多不同协议,组合在MAP(移动应用单元)中。
移动交换子系统MSS内部接口如下图所示。

1. B接口:MSC与VLR接口,MSC通过该接口向VLR传送漫游用户位置信息,并在呼叫建立时向VLR查询漫游用户的有关用户数据,通常MSC与VLR合设,其间采用内部接口。
2. C接口:MSC与HLR接口,MSC通过该接口向HLR查询被叫移动台的路由信息,HLR提供路由。
3. D接口:VLR与HLR接口,此接口用于两个位置寄存器之间传送用户数据信息(位置信息、路由信息、业务信息等)。
4. E接口:MSC与MSC接口,用于越局频道转接。该接口要传送控制两个MSC之间话路接续的常规的电话网局间信令。
5. F接口:MSC与EIR接口,MSC向EIR查询移动台设备的合法性。
6. G接口:VLR之间的接口,当移动台由某一VLR进入另一VLR覆盖区域时,新老VLR通过该接口交换必要的信息,仅用于数字移动通信系统。
7. MSC与PSTN的接口:是常规的电话网局间信令接口,用于建立移动网至公用电话网的话路接续。
上一篇:GEPON与ADSL的比较
下一篇:移动通信基础知识(2)


