- 易迪拓培训,专注于微波、射频、天线设计工程师的培养
苹果探寻新一代“压感”触摸屏和触摸板
录入:edatop.com 点击:
作者 @appleinsider.com">Aidan Malley
苹果公司为了提高其桌面和手持产品的性能正致力于开发一种能够响应不同压力程度而不仅仅是能够探测到接触的触摸设备。由苹果申请的这项专利技术最初于去年三月提交,但直到本周四才发布消息。苹果在该项称为"压力图像输入设备系统"(Force Imaging Input and Device System)专利中称现有的触摸屏和触摸板只能接受相对简单的输入,记录手指或者笔尖在界面上的位置,而这项新技术将能够探测到使用者触压的强度,从而新添了一种控制要素。
"用触摸板输入的一大缺陷就是它一般不能提供压力信息",专利中这样说"而压力信息能够作为另一维的输入,提供指令和控制信号控制相关的电子设备。"
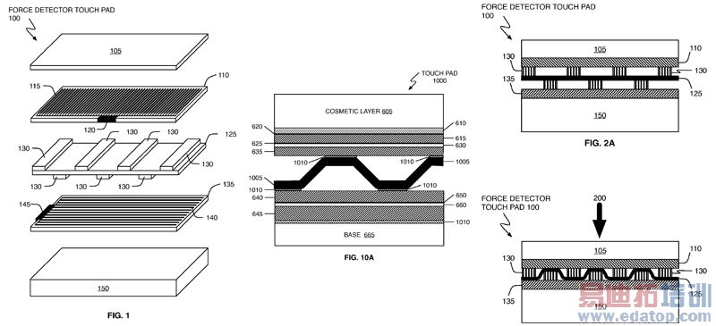
为了解决这个问题,专利发明人Brian Huppi和Steven Hotelling在触摸板表面下用一组线缆把中间的弹行薄膜像三明治一样夹起来(参见下图)。触摸表面则会使线缆组的排列变形并在电路中产生一个电容分不图样,指示出触摸点。
但不同于传统的触摸屏,中间的弹簧膜能够协助产生另一幅图样来识别接触点处按压的用力程度。使用者越用力,薄膜越接近层内的传导单元,记录下的压力相应就越大。

尽管苹果在专利申请中说明这项技术将于用于一种苹果的MacBook产品线使用的触摸板,但文件中提到其改装后即能用于LCD触摸屏,并保持同样的功能,从而保留了iPhone和其他"压感"设备能够使用这项新控制技术的可能性。
而更为重要的一点是,苹果提到这个系统能够同时感受不止一个的输入源,使得公司原有的"多触点感应系统"能够完全地具备感受不同压力强度的特点。苹果还特别引用了iPhone触摸屏技术的一块基石"多点触摸屏"作为苹果拥有这项专利技术的证据。
上一篇:Oracle
11g分区功能新革命
下一篇:服务器硬盘常见接口技术简析


