- 易迪拓培训,专注于微波、射频、天线设计工程师的培养
基于AT89C52单片机的短信息收发系统设计
摘要:本设计主要研究如何由单片机控制GSM模块实现短信收发。系统设计包括硬件、软件设计,本设计对系统主要组成部分GSM手机模块、单片机及它们的外围电路设计进行阐述,同时简单介绍系统印制电路板的设计。最后给出系统的软件设计流程。
0 引言
GSM(Global System for Mobile communication)系统是目前基于时分多址技术的移动通讯体制中比较成熟、完善、应用最广泛的一种系统。目前已建成的覆盖全国的GSM数字蜂窝移动通信网,是我国公众移动通信网的主要方式。基于GSM的短信息服务,是一种在移动网络上传送简短信息的无线应用,是一种信息在移动网络上储存和转寄的过程。GSM模块是继GSM手机外又一种非常重要的GSM移动通信系统终端设备。它是传统调制解调器与GSM无线移动通信系统相结合的一种数据终端设备,也称为GSM Modem。
1 系统原理及系统结构
本系统主要研究如何运用GSM手机模块在计算机终端实现短信息的收发(即图l中虚线部分)。设计中采用STC89C52单片机和Siemens公司的GSM模块TC35实现具有短信收发功能的GSM Modem原型。通过RS232串口将该Modem与PC机相连,并在PC机上开发前台软件,实现中英文短信点对点的双向收发,从而实现与用户手机或GSM模块的远程通信功能。系统设计由两大部分组成:硬件设计与软件设计。硬件设计主要研究单片机对GSM模块控制,及单片机与计算机通信。

图l 系统工作原理框图
2 系统硬件[1]
系统硬件部分,该部分包括TC35通信模块电路、电源电路和单片机系统。TC35通信模块电路由ICT( Ignition)启动电路、SYNC( Synchronization)指示灯电路、SIM( Sub-scriber Identification Module)卡电路组成;单片机系统则包括单片机最小系统、单片机与TC35通信电路、单片机与PC机通信电路。系统硬件原理如图2所示。单片机与TC35模块通信是通过AT指令。由AT指令可以进行呼叫、短信、电话本、数据业务、补充业务、传真等方面的控制。单片机通过串行接口直接向TC35模块发AT命令,能完成多种功能。如网络登录读取SIM卡号码、发送SMS消息、接收SMS消息等。这样就可以方便简洁地实现短消息的收发、查询和管理。

图2 系统硬件结构图

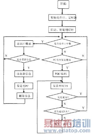
图3 主程序设计流程图
3 软件设计[2]
本系统程序设计,包括PC界面设计及单片机程序设计。仪器仪表用户此处只介绍单片机程序设计。单片机程序设计主要包括单片机及TC35模块初始化程序;单片机对TC35模块的工作控制程序;TC35模块的短信收发程序。
主程序是对整个系统框架的描述[3]。本系统主程序的功能是上电后,完成系统的初始化,然后等待PC端或TC35模块端的命令到达,并根据命令的内容完成相应的动作,如发送或接收短信。流程图如图3。
系统初始化包括单片机本身及TC35模块的初始化工作。单片机初始化主要是对串口及定时器寄存器进行设置。本系统中,串口设置为波特率9600Bps,并设置定时器0进行延时,用于产生模拟串口所需的波特率。TC35模块的初始化,则通过单片机发送AT指令对TC35模块进行设置。
单片机对TC35的控制也是通过AT指令完成的,并由TC35对指令的响应值来做出相应的动作。对短信的接收方式,单片机采用串口中断方式,当串口中断时,便判断是否为新消息提示,从而进行下一步动作。发送短信息则采用查询方式,在主程序中对PC端进行循环查询,对查询结果执行相应动作。
4 结束语
本系统并没有局限于特定领域的应用,主要是通过本设计对短信息系统中的通用关键技术进行分析研究,掌握此技术后,只需增加单片机外围电路,便可将其应用于远程数据采集、监控、报警等特定领域。
参考文献
[1]程翔.GSM系统中的短消息业务[J].移动通信,2004,(6):7 -10
[2]李辉.基于GSM短消息的无线通信系统[D].南京:南京理工大学,2004
[3]黄惟公,单片机原理与应用技术[M].西安:西安电子科技大学出版社,2007
作者简介:孙莹,女,教授,从事电子技术、交换技术教学及单片机应用研究。
作者:孙莹 来源:《仪器仪表用户》
我推荐大家读
轻松参与
VS
表达立场
这是垃圾文章
上一篇:基于GPRS网络的医疗监护系统
下一篇:基于单片机的温度监测系统的设计


