- 易迪拓培训,专注于微波、射频、天线设计工程师的培养
关于ADSP21479中断的疑问
录入:edatop.com 点击:

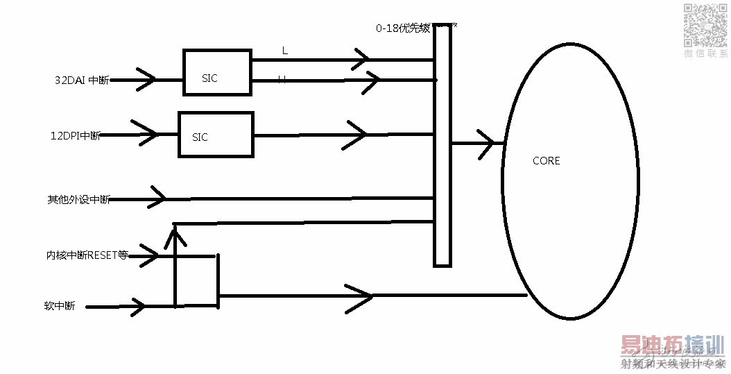
请问这样理解中断的关系是否正确呢?
还有软中断的优先级 和 IRQ0-3是如何确定的呢?软中断又是如何触发呢?
关于DAI和DPI的SIC部分的控制寄存器并没有找到手册中的说明,不知道是在哪里有讲解呢?
还有我在编程手册找到了 IRPTL IMASK IMASKP MMASK 基本可以对应到组成原理中实现优先级控制的内容,但是这些寄存器是控制那些部分呢?控制那些中断?
我理解是控制到核心的所有中断,即中断请求到达核心前 再次筛选(因为前面有SIC的筛选)。
其中的IRPTL IMASK MMASK 都好理解,但是 IMASP 具体起一个什么作用呢?
When interrupt nesting is enabled, the bits in the IMASKP register mask
interrupts that have a lower priority than the interrupt that is currently
being serviced. Other bits in this register unmask interrupts having higher
priority than the interrupt that is currently being serviced. Interrupt nesting
is enabled using NESTM in the MODE1 register. The IRPTL register latches
a lower priority interrupt even when masked, and the processor responds
to that latched interrupt if it is later unmasked.
只是为了在可嵌套模式下 增加一个不允许被掩码的高优先级中断嵌套当前低优先级中断的功能么?
申明:网友回复良莠不齐,仅供参考。如需专业帮助,请学习易迪拓培训专家讲授的ADS视频培训课程。
ADS培训课程推荐详情>>
国内最全面、最专业的Agilent ADS培训课程,可以帮助您从零开始,全面系统学习ADS设计应用【More..】
- Agilent ADS教学培训课程套装
- 两周学会ADS2011、ADS2013视频教程
- ADS2012、ADS2013射频电路设计详解
- ADS高低阻抗线微带滤波器设计培训教程
- ADS混频器仿真分析实例视频培训课程
- ADS Momentum电磁仿真设计视频课程
- ADS射频电路与通信系统设计高级培训
- ADS Layout和电磁仿真设计培训视频
- ADS Workspace and Simulators Training Course
- ADS Circuit Simulation Training Course
- ADS Layout and EM Simulation Training Course
- Agilent ADS 内部原版培训教材合集
