- 易迪拓培训,专注于微波、射频、天线设计工程师的培养
电池供电系统中DC-DC升压调节器的应用
便携式电子器件(如智能手机、GPS导航系统和平板电脑)的电源可以来自低压太阳能电池板、电池或AC-DC电源。电池供电系统通常将电池串联叠置以实现更高的电压,但此技术由于空间不足未必总是可行。开关转换器使用电感磁场来交替存储电能,并以不同电压释放至负载。因为损耗很低,所以是个不错的高效选择。连接至转换器输出端的电容可降低输出电压纹波。本文所讨论的升压, 转换器提供较高电压;而之前所讨论的降压转换器提供较低输出电压。内置FET作为开关的开关转换器称为开关调节器,需要外部FET的开关转换器则称为开关控制器。
图1显示采用两节串联的AA电池供电的典型低功耗系统。电可用输出范围约为1.8 V至3.4 V,而IC工作时需要1.8 V和5.0 V 电压。升压转换器可在不增加电池单元数量的情况下提升电压,从而为WLED背光、微型硬盘驱动器、音频设备和USB外设供电,而降压转换器可为微处理器、内存和显示器供电。

图1.典型低功耗便携式系统
电感阻碍电流变化的倾向可提供升压功能。充电时,电感用作负载并存储电能;放电时,可用作电源。放电过程中产生的电压与电流变化速率相关,与原始充电电压无关,因此可提供不同的输入和输出电平。
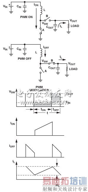
升压调节器包括两个开关、两个电容和一个电感,如图2所示。非交叠开关驱动机制确保任一时间只有一个开关导通,避免发生不良的直通电流。在第1阶段(tON),开关B断开,开关A闭合。 ON电感连接到地,因此电流从VIN流到地。由于电感端为正电压,因此电流增大,使电能存储于电感中。在第2阶段(tOFF), 开关A断开,开关B闭合。电感连接到负载,因此电流从VIN流到负载。由于电感端为负电压,因此电流减小,电感中存储的能量释放到负载中。

图2.降压转换器拓扑结构和工作波形 [p]
注意,开关调节器既可以连续工作,也可以断续工作以连续导通模式 (CCM), 工作时,电感电流不会降至0;以断续导通模式 (DCM), 工作时,电感电流可以降至0. 电流纹波,在图2中显示为ΔIL 使用公式ΔIL = (VIN × tON)/L.计算。平均电感电流流入负载,而纹波电流流入输出电容。

图3.升压调节器集成振荡器、PWM控制环路和开关FET
使用肖特基二极管代替开关B的调节器定义为异步 (或非同步), 调节器,而使用FET作为开关B的调节器定义为同步调节器。 图3中,开关A和B已分别使用内部NFET和外部肖特基二极管来实施,从而形成异步升压调节器。对于需要负载隔离和低关断电流的低功耗应用,可添加外部FET,如图4所示。将器件的EN引脚驱动至0.3 V以下便可关断调节器,使输入与输出完全断开。

图4.ADP1612/ADP1613典型应用电路
现代低功耗同步降压调节器以脉宽调制(PWM)为主要工作模式。PWM保持频率不变,通过改变脉冲宽度(tON)来调整输出电压。输送的平均功率与占空 D成正比,因此这是一种向负载提供功率的有效方式

例如,所需输出电压为15 V,可用输入电压为5 V时:
D = (15 – 5)/15 = 0.67 or 67%.
由于功耗降低,输入功率必须等于传递至负载的功率减去所有损耗。假定转换十分有效,则少量的功率损失可在基本功耗计算中省略不计。因此输入电流可近似表示为:

例如,如果负载电流在15 V时为300 mA,则5 V时IIN = 900 mA at 5 V-即输出电流的三倍。因此,可用负载电流随着升压电压增大而降低。
升压转换器使用电压或电流反馈来调节选定的输出电压;控制环路则可根据负载变化保持输出调节。低功耗升压转换器的工作频率范围一般是600 kHz到2 MHz.开关频率较高时,所用的电感可以更小,但开关频率每增加一倍,效率就会降低大约2%.在ADP1612 和ADP1613升压转换器(参见附录)中,开关频率可通过引脚选择,最高效率下的工作频率为650 kHz,最小外部器件的工作频率为1.3 MHz.对于650 kHz的工作频率,将FREQ 连接至GND,而1.3 MHz的工作频率则连接至VIN.
电感是升压调节器的关键器件,它在电源开关导通期间存储电能,而在关断期间通过输出整流器将电能传输至输出端。为了在低电感电流纹波与高效率之间取得平衡,ADP1612/ADP1613 数据手册建议电感值范围为4.7 μH至22 μH.一般而言,较低值的电感在给定实体尺寸下具有更高的饱和电流和更低的串联电阻,而较低的电感导致较高的峰值电流,可降低效率并增加纹波和噪声。通常最好在断续导通模式下执行升压,以便缩小电感尺寸并改善稳定性。峰值电感电流(最大输入电流加一半的电感纹波电流)必须小于电感的额定饱和电流;而调节器的最大直流输入电流必须小于电感的电流有效值额定值。
升压调节器主要规格和定义
输入电压范围:升压转换器的输入电压范围决定了最低的可用输入电源。规格可能提供很宽的输入电压范围,但输入电压必须低于 VOUT才能实现高效率工作。
地电流或静态电流:未输送给负载的直流偏置电流(Iq)。 Iq越低则效率越高,然而, Iq 可以针对许多条件进行规定,包括关断、零负载、PFM工作模式或PWM工作模式。因此,为了确定某个应用的最佳升压调节器,最好查看特定工作电压和负载电流下的实际工作效率。
关断电流: 这是使能引脚禁用时器件消耗的输入电流,低Iq对于电池供电器件在休眠模式下能否长时间待机很重要。
开关占空比:工作占空比必须小于最大占空比,否则输出电压无法调节。例如, D = (VOUT – VIN)/VOUT. 时VIN= 5 V and VOUT = 15 V, D = 67%. ADP1612和ADP1613的最大占空比为90%.
输出电压范围: 即器件可支持的输出电压范围。升压转换器的输出电压可以是固定的,或者可利用电阻设定所需的输出电压来调节。
限流:升压转换器通常指定峰值电流限值而不是负载电流。请注意VIN and VOUT间的差异越大,可用负载电流越低。峰值电流限值、输入电压、输出电压、开关频率和电感值均会决定最大可用输出电流。
线路调整率: 线路调整率是指输出电压随输入电压变化而发生的变化率。
负载调整率: 负载调整率是指输出电压随输出电流变化而发生的变化率。
软启动:升压转换器具有软启动功能很重要,启动时输出电压以可控方式缓升,从而避免启动时出现输出电压过冲现象。某些升压转换器的软启动可通过外部电容调节。随着软启动电容充电,它会限制器件允许的峰值电流。凭借可调软启动功能可改变启动时间以满足系统要求。
热关断(TSD):当结点温度超过规定的限值时,热关断电路就会关闭调节器。一直较高的结温可能由工作电流高、电路板冷却不佳或环境温度高等原因引起。保护电路包括迟滞,以防止发生热关断后,器件在片内温度降至预设限值以下后才返回正常工作状态
欠压闭锁(UVLO): 如果输入电压低于UVLO阈值,IC便自动关闭电源开关并进入低功耗模式。这可以防止低输入电压下可能发生的工作不稳定现象,并防止电源器件在电路无法控制它时启动。
结束语
低功耗升压调节器通过提供成熟计使开关的设DC-DC转换器设设计变得简单。
射频工程师养成培训教程套装,助您快速成为一名优秀射频工程师...
天线设计工程师培训课程套装,资深专家授课,让天线设计不再难...
上一篇:两个单片
DC/DC
转换器在高频情况下将
3.6V
至
15V
降压至
0.6V,缩小了从手持设备到
下一篇:范围广泛的
4V
至
36V
汽车电池面临的严酷现实对采用
4mm
x
5mm
QFN
封装的
3
输出稳

