- 易迪拓培训,专注于微波、射频、天线设计工程师的培养
低压大电流DC/DC变换器拓扑分析
摘要:目前对低压大电流DC/ DC 变换器的研究方兴未艾。如何选择合适的拓扑电路是其首要任务。从拓扑、应用方面系统地论述了低压大电流技术近期的发展,阐述了各种拓扑电路的特点及用途并进行了分析比较。同时,详细地介绍了其关键的同步整流技术及其各种驱动方法。
1 引 言
随着电子技术的迅速发展,以及各种微处理器、IC 芯片和数字信号处理器的普及应用,对低压大电流输出的低压变换器的研究与应用成为日益重要的课题。在低电压输出的情况下,一般的二极管整流很难达到较高效率,需采用同步整流技术,这就使得同步整流成为低压大电流技术中的关键技术。另外,如何选择合适的拓扑,使变换器的性能最优化,也是一个极其重要的问题。
首先分别从变压器的初级和次级对各种基本拓扑进行分析比较,分别得出初级和次级适合于低压大电流的优化拓扑,然后进行组合,列举了3 种典型的拓扑,最后对优化的组合作进一步的比较分析。
2 基本拓扑及其优缺点分析
以变压器为界,此类变换器的初级拓扑可从其所能传送的功率以及拓扑结构的复杂程度等方面进行分析。在提高低压大电流变换器的效率中显得尤为重要的是其次级的拓扑。本文首先从提高效率的角度对其进行分析,然后综合考虑其结构复杂性和驱动方式等的问题。
2. 1 变压器初级拓扑的优选
相对于升压型变换器来说,降压型变换器更加适用于低压大电流变换器。其变压器初级的基本拓扑主要可用正激式、反激式、推挽式、半桥式和全桥式等5 种。但是,其中的反激式变换器显然不适合低压大电流的要求,因为它的输出纹波较大,变压器漏感引起较大的电压尖峰,功率不大(150W 以下) ,变换器效率不高,因而只能在电压和负载调整率要求不高的场合使用。
2. 2 变压器次级拓扑的优选
2. 2. 1 同步整流技术基本原理
同步整流技术旨在实现同步整流管栅极和源极之间的驱动信号与同步整流管漏极和源极之间开关同步。理想的同步整流技术可使同步整流管起到和整流二极管同样的作用,即正向电压导通,反向电压关断。在输出为低电压大电流的情况下,整流二极管的使用会引起很大的能量损耗,大大地降低电源效率。而用于同步整流的低电压功率MOSFET 导通电阻非常小,正向导通压降很低,例如15A 时只有0. 1V ,因此用低电压功率MOSFET 代替整流二极管势在必行。
2. 2. 2 变压器次级3 种结构的比较
适用于低压大电流输出的变压器次级结构有3种:正激式结构、中心抽头式结构和倍流整流式结构(拓扑及其波形如图1 、2 、3 所示)。

图1 正激式结构与波形图

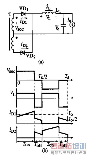
图2 中心抽头式结构与波形图

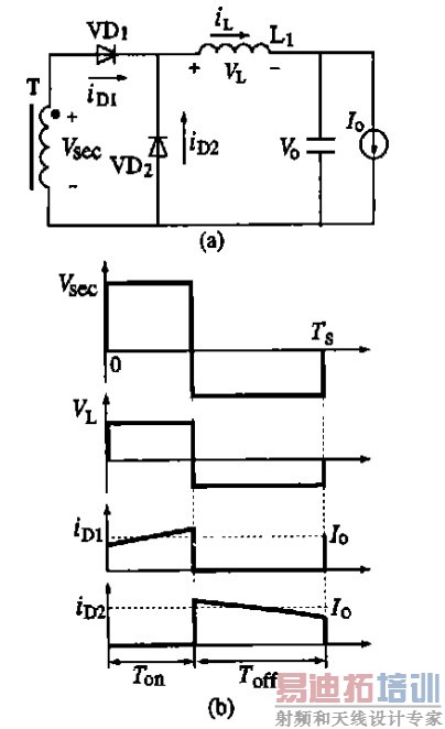
图3 倍流整流式结构与波形图
正激式结构相对于其它两者结构最简单,而且适用于低压大电流的情况。与源于Buck 变换器的正激变换器类似,中心抽头式结构是应用于推挽、全桥或半桥等双端变压隔离器的Buck 型变换器。由于其输出滤波电感的电压频率是功率开关管的两倍,所以在同样条件下中心抽头式所需要的滤波电感值明显小于正激式的。
倍流整流结构不是源于Buck 变换器,但也起降压作用。其基本工作原理如图3 所示:当变压器的次级电压V sec为正时,VD1 关断,电感L1 的电流IL1增大并流经负载,VD2 和变压器次级形成回路,同时电感L2 的电流IL1减小,它流经负载和VD2 形成回路;当变压器次级电压V sec为负时,其过程也类似;而当变压器的次级电压为零时,则电感L1 和L2的电流分别流经VD1 和VD2 形成回路,即VD1 和VD2 同时导通。因此,虽然其滤波电感频率与其功率主开关的相同,但是由于两个滤波电感的纹波电流互相抵消了一部分( i11 + i12) ,其输出滤波电容的纹波电流减小了,因此在倍流型结构中所需要的滤波电容比正激式的小得多。
由图1b 可以看出,在每个开关周期内正激式结构的整流管的总导通损耗相当于输出滤波电感电流一个周期内流过一个整流管的损耗;在中心抽头或者倍流型结构中,由于双端变换器的变压器次级电压在功率开关管的死区内为零,所以其两个整流管在死区时间内同时导通,两个整流管中流过的电流均为零,如图2b 和图3b 所示,因此,在功率开关管的关断时间内,整流管的总损耗就大大减少了。
由图2a 和图3a 的对比可知,中心抽头型和倍流型从元件个数和结构的复杂性都是差不多的,但在大电流的情况下,倍流型次级结构的性能更好。
可从以下几点来说明: ①倍流型结构的电感电流和变压器次级的电流只是中心抽头型结构电流的一半,因而其导通损耗比中心抽头的要小; ②倍流结构使大电流的电路相互连接数目最少,这就简化了次级的布线,并因此减少了与布线有关的损耗; ③倍流结构中的变压器和滤波电感可以公用一个磁芯,简化了元件的包装和减小了体积。
2. 2. 3 变压器次级3 种结构的优选。
从以上分析可知,反激式的初级拓扑和中心抽头型的次级结构相对来说有很多不足。经过优选,适用于低压大电流的降压型初级拓扑有正激式、推挽式和桥式,而在次级整流拓扑中,正激式和倍流式两种更为适用于低压大电流。但是,推挽式和桥式等双端结构的初级拓扑显然不能和正激式的次级拓扑组合;而且,非对称的正激式初级结构虽然可以和倍流整流式的次级结构组合,但效果并不理想。
所以,可得出的优选拓扑组合是: ①初级正激式与次级正激式的组合; ②桥式与倍流式的组合; ③推挽式与倍流整流式的组合。即正激式变换器和带中心抽头的桥式变换器以及推挽正激式变换器。
3 正激式变换器
如图4 所示,正激式变换器的优点主要在于结构简单、次级纹波电流明显衰减,纹波电压低、功率开关管峰值电流较低、并联工作容易、可以自动平衡、属降压型变换器。因此,它是最早应用于低压大电流的变换器。但其缺点也很明显: ①需要一个额外的磁复位电路来避免变压器的磁饱和; ②对变压器的设计要求比较高,要求其漏感小,以减小续流管在关断过程中的损耗; ③同步整流中的死区过大使得其效率减小; ④整流管的体二极管不仅在导通的过程中增加了电路的损耗,而且在关断过程中,由于其反向恢复特征,也会引起能量损耗,这个损耗与反向恢复电荷、频率、次级电压成正比关系。 [p]

图4 正激式变换器结构图
以上问题有的已经得到很好的解决。正激式变换器在其同步整流的驱动中多采用自驱动方式。比较典型的自驱动方式有3 种电路,如图5 所示。

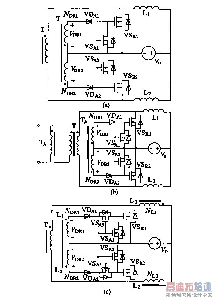
图5 正激式变换器中同步整流管的3 种自驱动方式
(谐振复位、有源钳位、零电压多谐振变换器)。
另外,为了改善整流管的死区问题,混合驱动方式采用了的电荷保持技术,此驱动方式也不失为一种好的驱动方式。
在文献[ 4 ]的实验中,采用LCD 复位和电荷保持混合驱动方式的正激式变换器在48V 输入,5V/10A 输出时,最高效率可达92. 3 %.
4 带倍流整流的桥式变换器
对于桥式变换器,以半桥式为例分析其特点。
带倍流整流的桥式变换器是近期提出的一种适用于低压大电流的拓扑。它虽然不需要额外的磁复位电路,但它在结构上较为复杂。比较图4 与图6 可看出,在变压器初级,它比正激式变换器多了一个开关管和两个电容;在次级则多了一个电感。相对正激式而言,其主要问题在于: ①必须采取合适的方法来防止磁芯的饱和; ②对于倍流整流电路,其最大的问题在于共态导通而导致的短路问题,其后果极其严重; ③半桥式变换器的两个MOSFET 也容易出现连通现象而引起短路; ④在开关转换过程中,高电压大电流的重叠现象会使电路的效率降低。

图6 带倍流整流的半桥式变换器结构图
对于第4 个问题,因为采用开关速度较快的晶体管并不能完全解决问题,必须采用加速关断技术,并且在开通和关断时间的配合上进行优化,才能使效率进一步提高。前3 个问题是可以得到解决的,例如在变压器初级串联一个适当的电容就可以解决第一个问题;设定一定的死区,在变压器次级电压不为零的时间内保证了两个整流管不同时导通就可以解决第二个问题;设定两个功率管的死区,保证其在任意的时间内不同时导通就可以解决第3 个问题。
这种变换器虽有不足,但其优点是明显的: ①半桥式变换器的变压器工作于一、三象限,其效率比正激式的高出一半以上; ②它能承受更高的功率,在200~500W 之间; ③它不需要额外的磁复位电路;④次级倍流整流电路相对正激式电路来说,在相同纹波条件下,所需要的滤波电感之和更小,同时其动态响应速度得到提高; ⑤在同样的输出电流下,在初级功率管都关断的死区时间内,整流管的损耗比正激式的大大减小了。
如前所述,当前的研究主要是解决整流管在开关转换过程中出现的高电压大电流的重叠现象,对此,驱动方式是至关重要的。图7 列举了3 种可行的驱动方式[5 ] .但是,这3 种方式并没有使开关时间最优化。理想的方法是从效率角度考虑,分析电路效率与整流管关断及功率管开通的时间配合关系曲线,然后再选择适合的驱动方式。
在实验中[5 ]采用附加绕组驱动方法后,带倍流整流半桥的变换器在输入为4 8V ,输出为1 . 2~1. 65V/ 60~70A 情况下,最大效率超过84. 5 %.

图7 带倍流整流的桥式变换器中同步整流管的3 种驱动方式
5 推挽-正激式变换器
就常规推挽式结构来说,因功率开关管集电极应力两倍于输入电压,而且其主变压器的初级利用率亦不如半桥和全桥,其输出电压随输入电压和负载变化而变化,故它适合在更低的输入电压下工作。在输入为48V 条件下,其性能不如桥式结构。
文献[ 6 ]提出了新型的推挽正激式的结构,如图8 所示。这个变换器工作在一、三两个象限,所以其控制相对简单并且瞬态响应速度快。这个变换器也适用于低压大电流输出的情况。其整流管的驱动方式与带倍流整流的桥式结构是相似的。这种变换器在输入为48V、输出为1. 2V/ 60A 情况下,最大效率可达83. 6 %以上。

图8 新型推挽2正激式变换器结构图
6 结束语
在各种基本电路拓扑的组合中,适合于低压大电流输出的优化结构是以上3 种典型变换器拓扑正激式结构、带倍流整流的桥式结构和推挽2正--激式结构。在所有采用了同步整流技术的低压大电流变换器中,存在的一个共同问题就是整流管的反向恢复问题。必须结合拓扑、整流管特性和驱动方式等方面对整流管的开关时间进行优化,才能使上述问题得到合理解决。
射频工程师养成培训教程套装,助您快速成为一名优秀射频工程师...

