- 易迪拓培训,专注于微波、射频、天线设计工程师的培养
用于PFC的交错式升压转换器的优势
录入:edatop.com 点击:
采用交错式升压级可以降低功率因数校正预调节器功率转换器输入及输出纹波电流,从而缩小升压电感器尺寸并降低输出电容的电气应力。
用于 PFC(功率因数校正)预调节器的最常见的拓扑结构为升压转换器,该升压转换器有一个持续的输入电流,您可以采用平均电流模式控制技术进行操作,使输入电流可以跟踪线电压变化。图 1 显示了一款传统的单级升压转换器。为了更方便地解释电路工作情况,本文所指的均为直流输入。ΔIL1 表示转换器输入端电感纹波电流变量,同时需要进行滤波处理使其符合 EMI 规范。I1 表示二极管输出电流,该电流为非持续电流,同时需要输出电容 (COUT) 对其进行滤波处理。在该拓扑结构中,输出电容纹波电流 ICOUT 较强,这也是 I1 与 IOUT(直流输出电流)之间的区别所在。

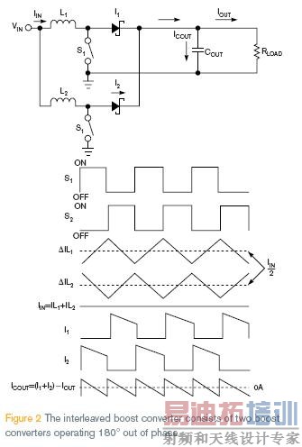
交错式升压转换器
图 2 为双级 (two-phase) 交错式升压转换器的工作原理图,该双级交错式转换器由两个在相位差为 180° 时运行的升压转换器组成。输入电流为两个电感电流(IL1 及 IL2)之和。由于电感纹波电流的相位相反,这些电流相互抵消,并降低由升压电感产生的电感纹波电流。当占空比为 50% 时,输入电感纹波电流消除效果最佳。输出电容电流为两个二极管电流 (I1+I2) 之和减去直流输出电流的差,该直流输出电流减小了输出电容纹波电流 IOUT,该输出电容纹波电流为占空比的一个函数。随着占空比接近 0、50% 和 100% 时,两个二极管电流之和就越来越接近直流电的值。这种情况下,输出电容就不得不只对电感纹波电流进行滤波处理。

输入纹波电流的降低
下面的方程式和图 3 显示了输入纹波电流与电感纹波电流的比率 K(D) 如何随着占空比的变化而变化。在选择交错式升压转换器的电感器时,牢记该变化是非常重要的。


图 4 显示了单级升压转换器的额定输出电容 rms 电流,用 ICOUT_rms_single (D) 表示,同时还显示了双级交错式升压转换器的额定 rms 电流,用 ICOUT_rms (D) 表示,其为占空比的一个函数。图 4 则表明双级交错式升压转换器的输出电容纹波电流大约为传统单级升压转化器输出电容纹波电流的二分之一,从而减小了输出滤波电容的电气应力。


电感器尺寸的估计
为了了解交错式 PFC 预调节器缩小的升压电感器尺寸所带来的好处,我对一款单级和一款两级升压预调节器(图 5)进行了数学对比。该设计中需要一个大约为 350W 的最大输出功率,用 POUT 表示;一个 85V rms 的最小线电压输入,用 VINMIN 表示;一个 265V rms 的最大线电压输入以及一个转换效率大约为 95% 的转换器。电感器的转换频率为 100 kHz,用 fS 表示。电感器的输入纹波电流要求为 30%,同时,两种拓扑结构电感器的最高电感纹波电流出现在最小输入及最大输入电流中。

我选取了数个电感器,以应用于基于纹波电流极值的两种设计。就用于一般输入端的转换器而言,当线电压为峰值,并且交流输入为最小值时,该点便会出现。当占空比为 0.67 时,转换器开始工作。图 6 显示了占空比是如何随着线电压 VIN(t) 的变化而变化的。函数 D1(t) 表明了占空比是如何随 265V rms 最大输入而变化的。当转换器在最大输入(265V rms)条件下工作时,并且输入电压为输出电压的二分之一时,就会出现最大电感纹波电流。随着线电压值接近输出电压值时,占空比随之减小,电感纹波电流也随之减弱。


在转换器输入端,单级 PFC 预调节器中的电感纹波电流较为明显。用于一般输入端的单级 PFC 电感大约为 450 μH。得出该计算结果的基础是,当输入端为 85V rms,最小占空比为 0.67 时,电感纹波电流为最强。

和传统预调节器一样,双路交错式电感器拥有相同的输入电流纹波要求。在一个交错式升压级中,电感电流的变量大约为 3.4A。最小 rms 输入电压的可变最小占空比需要一个大约为 245 μH 的电感。在相同的功率级要求条件下,该电感大致相当于一个单级 PFC 预调节器电感的二分之一。

试验结果
为了对 L1、L2 和输入电流进行计算,我对一款使用 200-μH 电感的双路交错式升压转换器进行了估算。当线电压为峰值时以低压输入,转换器开始工作时便会出现电感纹波电流极值。图 7 中的示波器图显示了输入为 85V rms 时 L1 和 L2 的电感电流。CH1 表示经过整流之后的线电压,CH2 表示 L1 电感电流,CH3 表示 L2 电感电流,CH4 则表示输入电流。电流转换比大约为 4A/段 (division)。

图 8a 和图 8b 显示了在最大负载时输入线电压和电感纹波电流,其示波器图的通道与图 7 中所示相同。这些波形清楚地表明了通道 4 的输入电流波形。这种两级交错式 PFC 的设计采用了一个 220-μF 的输出电容器。在满负载状态时,对于一款单级 350W 的 PFC 预调节器来说,其输出电容纹波电压大约为 33.5V。对于一款两级交错式 PFC 预调节器而言,输出纹波将会比单级 PFC 预调节器的二分之一还要小。该原型预调节器的输出纹波电压在满负载状态时大约为 13V(图 9)。



要确定该原型预调节器是否符合 EN61000-3-2 电流谐波规范,就需要原型预调节器的满负载功率输入谐波。第一谐波是 60 Hz 时的 rms 输入电流。该谐波完全是在 CH61000-3-2 Class D 规范内(参见图 10)。

交错式 PFC 预调节器允许电源设计人员减少电感磁性。功率转换器输入端的电感纹波电流消除可以使设计人员减少大约一半的电感。交错式PFC 预调节器还可以减少升压电容器中的纹波电流,进而降低输出电容器的电气过应力。在原型电路未使用滤波的情况下,该设计仍然能达到 EN61000-3-2 Class D 电流谐波规范的要求。尽管其控制电路稍显复杂,并且使用了更多的组件,但是在高功率应用中,这样的做法还是值得的。
用于 PFC(功率因数校正)预调节器的最常见的拓扑结构为升压转换器,该升压转换器有一个持续的输入电流,您可以采用平均电流模式控制技术进行操作,使输入电流可以跟踪线电压变化。图 1 显示了一款传统的单级升压转换器。为了更方便地解释电路工作情况,本文所指的均为直流输入。ΔIL1 表示转换器输入端电感纹波电流变量,同时需要进行滤波处理使其符合 EMI 规范。I1 表示二极管输出电流,该电流为非持续电流,同时需要输出电容 (COUT) 对其进行滤波处理。在该拓扑结构中,输出电容纹波电流 ICOUT 较强,这也是 I1 与 IOUT(直流输出电流)之间的区别所在。

交错式升压转换器
图 2 为双级 (two-phase) 交错式升压转换器的工作原理图,该双级交错式转换器由两个在相位差为 180° 时运行的升压转换器组成。输入电流为两个电感电流(IL1 及 IL2)之和。由于电感纹波电流的相位相反,这些电流相互抵消,并降低由升压电感产生的电感纹波电流。当占空比为 50% 时,输入电感纹波电流消除效果最佳。输出电容电流为两个二极管电流 (I1+I2) 之和减去直流输出电流的差,该直流输出电流减小了输出电容纹波电流 IOUT,该输出电容纹波电流为占空比的一个函数。随着占空比接近 0、50% 和 100% 时,两个二极管电流之和就越来越接近直流电的值。这种情况下,输出电容就不得不只对电感纹波电流进行滤波处理。

输入纹波电流的降低
下面的方程式和图 3 显示了输入纹波电流与电感纹波电流的比率 K(D) 如何随着占空比的变化而变化。在选择交错式升压转换器的电感器时,牢记该变化是非常重要的。


图 4 显示了单级升压转换器的额定输出电容 rms 电流,用 ICOUT_rms_single (D) 表示,同时还显示了双级交错式升压转换器的额定 rms 电流,用 ICOUT_rms (D) 表示,其为占空比的一个函数。图 4 则表明双级交错式升压转换器的输出电容纹波电流大约为传统单级升压转化器输出电容纹波电流的二分之一,从而减小了输出滤波电容的电气应力。


电感器尺寸的估计
为了了解交错式 PFC 预调节器缩小的升压电感器尺寸所带来的好处,我对一款单级和一款两级升压预调节器(图 5)进行了数学对比。该设计中需要一个大约为 350W 的最大输出功率,用 POUT 表示;一个 85V rms 的最小线电压输入,用 VINMIN 表示;一个 265V rms 的最大线电压输入以及一个转换效率大约为 95% 的转换器。电感器的转换频率为 100 kHz,用 fS 表示。电感器的输入纹波电流要求为 30%,同时,两种拓扑结构电感器的最高电感纹波电流出现在最小输入及最大输入电流中。

我选取了数个电感器,以应用于基于纹波电流极值的两种设计。就用于一般输入端的转换器而言,当线电压为峰值,并且交流输入为最小值时,该点便会出现。当占空比为 0.67 时,转换器开始工作。图 6 显示了占空比是如何随着线电压 VIN(t) 的变化而变化的。函数 D1(t) 表明了占空比是如何随 265V rms 最大输入而变化的。当转换器在最大输入(265V rms)条件下工作时,并且输入电压为输出电压的二分之一时,就会出现最大电感纹波电流。随着线电压值接近输出电压值时,占空比随之减小,电感纹波电流也随之减弱。


在转换器输入端,单级 PFC 预调节器中的电感纹波电流较为明显。用于一般输入端的单级 PFC 电感大约为 450 μH。得出该计算结果的基础是,当输入端为 85V rms,最小占空比为 0.67 时,电感纹波电流为最强。

和传统预调节器一样,双路交错式电感器拥有相同的输入电流纹波要求。在一个交错式升压级中,电感电流的变量大约为 3.4A。最小 rms 输入电压的可变最小占空比需要一个大约为 245 μH 的电感。在相同的功率级要求条件下,该电感大致相当于一个单级 PFC 预调节器电感的二分之一。

试验结果
为了对 L1、L2 和输入电流进行计算,我对一款使用 200-μH 电感的双路交错式升压转换器进行了估算。当线电压为峰值时以低压输入,转换器开始工作时便会出现电感纹波电流极值。图 7 中的示波器图显示了输入为 85V rms 时 L1 和 L2 的电感电流。CH1 表示经过整流之后的线电压,CH2 表示 L1 电感电流,CH3 表示 L2 电感电流,CH4 则表示输入电流。电流转换比大约为 4A/段 (division)。

图 8a 和图 8b 显示了在最大负载时输入线电压和电感纹波电流,其示波器图的通道与图 7 中所示相同。这些波形清楚地表明了通道 4 的输入电流波形。这种两级交错式 PFC 的设计采用了一个 220-μF 的输出电容器。在满负载状态时,对于一款单级 350W 的 PFC 预调节器来说,其输出电容纹波电压大约为 33.5V。对于一款两级交错式 PFC 预调节器而言,输出纹波将会比单级 PFC 预调节器的二分之一还要小。该原型预调节器的输出纹波电压在满负载状态时大约为 13V(图 9)。



要确定该原型预调节器是否符合 EN61000-3-2 电流谐波规范,就需要原型预调节器的满负载功率输入谐波。第一谐波是 60 Hz 时的 rms 输入电流。该谐波完全是在 CH61000-3-2 Class D 规范内(参见图 10)。

交错式 PFC 预调节器允许电源设计人员减少电感磁性。功率转换器输入端的电感纹波电流消除可以使设计人员减少大约一半的电感。交错式PFC 预调节器还可以减少升压电容器中的纹波电流,进而降低输出电容器的电气过应力。在原型电路未使用滤波的情况下,该设计仍然能达到 EN61000-3-2 Class D 电流谐波规范的要求。尽管其控制电路稍显复杂,并且使用了更多的组件,但是在高功率应用中,这样的做法还是值得的。
射频工程师养成培训教程套装,助您快速成为一名优秀射频工程师...
射频和天线工程师培训课程详情>>

