- 易迪拓培训,专注于微波、射频、天线设计工程师的培养
一种隔离型双向软开关DC/DC变换器
录入:edatop.com 点击:
针对双向DC/DC变换器存在的开关损耗高等问题,提出了一种新型的隔离型双向软开关DC/DC变换器。该变换器由对称的拓扑结构组成。在电感和变压器漏感的作用下,变换器中的开关元件能够在较大的负载范围内实现零电压开关。同时在脉宽调制的控制下,二极管实现了零电流关断。这些措施减小了开关损耗、电压电流应力以及电磁干扰。分析了工作原理和开关过程,研制了一台500W的试验样机并进行了试验。试验结果证明:在轻载和重载的条件下,所有的开关管都能够零电压导通,同时二极管能够在电流为零(ZCS)的情况下自然关断。
随着功率变换技术的发展,人们对开关电源的性能、重量、体积、效率和可靠性提出了更高的要求,而开关电源的高频化则是使其满足上述要求的一个重要手段,特别是其有助于减小电感、变压器等磁性元件的体积,并改善开关电源的电磁兼容性,因此成为开关电源技术发展的一个重要趋势。但开关元件的开关损耗限制了工作频率的进一步提高,成为制约开关电源高频化的主要因素,所以,开关电源的软开关技术一直是电力电子技术的一个重要研究方向。而双向DC/DC变换器是近年来功率变换的又一个研究热点,它可广泛地应用于电动汽车、分布式发电系统、智能充放电机等方面,具有广阔的应用前景。双向DC/DC变换器不仅可以充当两个不同电压等级电气系统之间的联系桥梁,还能够进行能量调节和管理。由于双向DC/DC变换器具有能量双向流动的特点,因此与单向DC/DC变换器相比,它的拓扑结构有所不同:通常,双向DC/DC变换器的变压器原副边两侧都采用全控元件,元件较多,因而实现软开关的难度更大。
本文将Buc-k/Boost电路与半桥电路相结合,提出了一种对称结构的隔离型双向软开关DC/DC变换器。
1 原理简介
1.1 能量双向流动的原理
新型隔离型双向软开关DC/DC变换器的电路结构如图1所示,变压器两侧均采用“半桥”结构,同一桥臂的上下两个功率开关器件S1和S2、S3和S4分别互补导通。当能量由V1侧流向V2侧时,称为正向工作模式,此时由S1、S2组成超前桥臂,S3、S4组成滞后桥臂,即S1的触发脉冲超前于S3的触发脉冲一定角度(移相角);反之,当能量由V2侧流向V1侧时,称为反向工作模式,相应地,S3、S4组成超前桥臂,S1、S2组成滞后桥臂。以正向工作模式为例,介绍能量的流动过程如下。
为简化分析,先假定下列条件:
1)所有的开关元件都是理想的;
2)电路工作在稳态;
3)所有的储能元件都是无损的。

从变压器的原边观察,电路类似于Boost电路,通过对S2导通时间(占空比)的调节,可以在a点获得不同的电压。同时利用S1和S2的轮流导通,在变压器原边得到正负交替的电压。而对于变压器副边,利用S3和S4的反并联二极管进行整流,把变压器上的脉冲交流电压整流成直流,并对电容C3、C4充电。在电容C3、C4足够大的情况下,电容上的电压可以认为不变。此时,副边电路的原理与Buck电路类似。
能量流动的具体过程如下。
S2关断后,变压器原边电路类似于Boost电路的放电状态。电感L1通过Ds1对C1充电,此时S1可以实现零电压导通。随着变压器原边电流逐渐上升,充电电流减小。当电流减小至零并改变方向时,S1导通,输入电流iL1流经漏感Lσ1、原边线圈对C2充电,同时C1通过S1、Lσ1、原边线圈构成的回路放电。此时,变压器原边电压的极性为上正下负,同时原边电流ip从同名端流入,电压与电流为“关联方向”,因而由V1输出的能量传递到变压器中。相应地,此时变压器副边反并联二极管DS3处于导通状态,副边电流is一部分流经L2、负载(V2侧)使C4放电,另一部分通过Ds3对C3充电。变压器副边电压极性为上正下负,is从同名端流出,电压、电流为“反关联方向”,因此能量由变压器传递到V2侧。
当原边S2导通时,由V1、L1、S2组成的回路对L1充电,iL1缓慢上升,同时C2通过变压器原边线圈、Lσ1、S2组成的回路放电。变压器原边电压极性为上负下正,且ip从同名端流出。此时副边Ds4导通,is流经Ds4、副边线圈对C4充电,同时电感L2通过负载、Ds4放电。变压器副边电压极性为上负下正,is从同名端流入,在此期间V1侧输出能量,V2侧输入能量。

由于拓扑结构在变压器两侧完全对称,因此变换器工作在反向模式时,工作原理以及能量的流动过程与上述过程类似。
1.2 软开关的实现
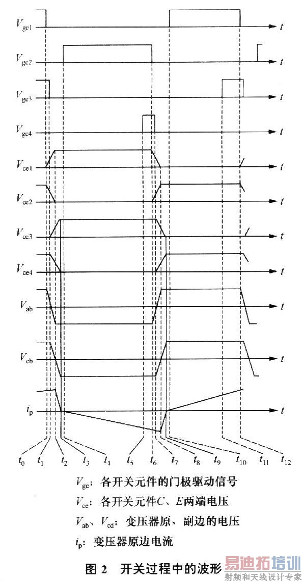
正向工作模式下,一个完整的开关周期中的主要原理波形如图2所示。在开关元件并联结电容与并联电容的作用下,即将关断的开关元件上的电压不能发生突变,因此开关元件可以认为在零电压的情况下关断。由于同一桥臂上下两个脉冲之间的间隔很小,利用电感和结电容的谐振,使即将导通的开关元件的结电容放电,当结电容两端的电压为零时,反并联二极管承受正向电压而导通,从而为开关元件的零电压导通创造了条件。与移相全桥电路相比,由于变压器副边不存在占空比丢失,副边电感L2参与谐振,因此滞后桥臂也可以在较大负载范围内实现零电压导通。与上述开关过程类似,变压器副边的S3和S4也是利用各自的反并联二极管的导通实现零电压开通,S3和S4的开通主要是为减小反并联二极管Ds3和Ds4反向恢复引起的损耗以及电磁干扰。以S3为例:反并联二极管Ds3导通后,S3可以在零电压的条件下开通,更为重要的是Ds3中的电流会逐渐减少至零,电流转移到S3中,Ds3实现软关断(ZCS),从而减少了Ds3关断过程中反向恢复带来的影响。由于这种拓扑结构的DC/DC变换器在变压器两侧完全对称,因此能量双向流动时的软开关条件相同。本文中的实验结果是在负载为电阻的情况下得到的。如果负载为蓄电池等电源,仿真结果证明软开关特性保持不变。
2 开关过程分析
以正向工作模式为例,一个完整的开关周期可分为12个开关过程,如图3所示,to时刻前S1和S2导通。
过程1(to~t1):to时刻,S1关断。由于电容Cs1的作用,S1在零电压(ZVS)下关断。在变压器漏感Lσ1的作用下,变压器原边电流ip继续按原方向流动,给Cs1充电,同时Cs2放电。
过程2(t1~t2):t1时刻,S3关断,由于Cs3的作用S3ZVS关断。此时Cs3充电,Cs4放电。
过程3(t2~t3):t2时刻,Cs2两端的电压降为零,Ds2正偏导通,为S2的导通创造了ZVS条件。此时,流经电感L1的电流iL1增长而ip逐渐下降,但ip仍然大于iL1变压器副边电压极性保持不变,为维持整个回路的电压和为零,Lσ1上承受的电压是变压器原边电压与C2上的电压之和。
过程4(t3~t4):t3时刻,Cs4两端的电压降至零,Ds4导通,此时S4可在ZVS条件下导通。此时,变压器副边电压极性改变,电感电流iL2开始下降。
过程5(t4~t5):t4时刻,电感电流iL1大于变压器原边电流ip,S2ZVS导通,Ds2零电流(ZCS)关断。当ip(或iL2)降至零时,电流方向改变。
过程6(t5~t6):t5时刻,iL2大于变压器副边电流is,S4ZVS导通,Ds4ZCS关断。
过程7(t6~t7):t6时刻,S2在Cs2的作用下ZVS关断,Cs2开始充电而Cs1放电。
过程8(t7~t8):t7时刻,S4ZVS关断。Cs4充电,Cs3放电。
过程9(t8~t9):t8时刻,Cs1两端的电压降为零,Ds1导通,为S1的ZVS导通创造条件。此阶段iL1下降而iu上升。
过程1O(t9~t10):t9时刻,Cs3两端电压降为零,Ds3导通,此时S3可以实现ZVS开通。变压器副边电压极性再次发生改变,且iL2开始增长。当iL2(或ip)增至零时,电流再次改变方向。
过程l1(t10~t11):t10时刻,变压器原边电流ip大于电感电流iL1,S1ZVS开通,DslZCS关断。
过程12(t11~t12):t11时刻,副边电流is小于电感电流iL2,S3ZVS开通同时Ds3ZCS关断。一个完整的开关周期结束。
需要特别指出的是:当变换器的负载比较大或输出的电感电流纹波较小时,Ds4导通时间较长,因而S4通常不需要触发。如果选用合适电感L2,Ds4同样可以在零电流的情况下自然关断,这样可以减小反向恢复电流带来的损耗和电磁干扰。
电路处于反向工作模式时,其开关过程与正向工作模式类似。
3 试验结果
为进行实验研究,研制了一台双向DC/DC软开关变换器。试验样机的各项参数如下。
图3、4分别显示了在不同负载下,各开关元件的门极驱动信号和相应的C、E两端电压以及变压器副边的电压波形。通过对波形进行分析,不难发现:在门极驱动信号Vge变正前,开关元件C、E之间电压Vce已经降为零,表明了在不同的负载条件下S1、S2、S3能够实现零电压开通。这主要是因为反并联二极管的预先导通,使即将触发导通的开关元件在得到在门极驱动信号之前,C、E两端电压已经降为零,因此实现了零电压导通。ZVS导通不仅减小了元件的开关损耗,提高了变换器的效率,并且降低了元件承受的电磁应力,保证了开关元件的安全运行,而且还减少了电磁干扰,有利于提高变换器的电磁兼容性。
4 结 论
本文提出了一种结构对称的隔离型双向DC/DC变换器拓扑。该变换器的所有开关元件和二极管都能够实现软开关,降低了开关损耗和电压、电流应力以及电磁噪声。试验结果表明,该变换器具有以下特点:
1)在没有增加任何附加元件的前提下,所有的开关管都能够零电压导通,克服了传统的移相全桥等电路中的滞后桥臂软开关范围受负载大小制约的限制,实现了较大范围的ZVS开关。
2)解决了Boost电路中二极管的反向恢复问题,保证了二极管在电流为零(ZCS)的情况下自然关断。
随着功率变换技术的发展,人们对开关电源的性能、重量、体积、效率和可靠性提出了更高的要求,而开关电源的高频化则是使其满足上述要求的一个重要手段,特别是其有助于减小电感、变压器等磁性元件的体积,并改善开关电源的电磁兼容性,因此成为开关电源技术发展的一个重要趋势。但开关元件的开关损耗限制了工作频率的进一步提高,成为制约开关电源高频化的主要因素,所以,开关电源的软开关技术一直是电力电子技术的一个重要研究方向。而双向DC/DC变换器是近年来功率变换的又一个研究热点,它可广泛地应用于电动汽车、分布式发电系统、智能充放电机等方面,具有广阔的应用前景。双向DC/DC变换器不仅可以充当两个不同电压等级电气系统之间的联系桥梁,还能够进行能量调节和管理。由于双向DC/DC变换器具有能量双向流动的特点,因此与单向DC/DC变换器相比,它的拓扑结构有所不同:通常,双向DC/DC变换器的变压器原副边两侧都采用全控元件,元件较多,因而实现软开关的难度更大。
本文将Buc-k/Boost电路与半桥电路相结合,提出了一种对称结构的隔离型双向软开关DC/DC变换器。
1 原理简介
1.1 能量双向流动的原理
新型隔离型双向软开关DC/DC变换器的电路结构如图1所示,变压器两侧均采用“半桥”结构,同一桥臂的上下两个功率开关器件S1和S2、S3和S4分别互补导通。当能量由V1侧流向V2侧时,称为正向工作模式,此时由S1、S2组成超前桥臂,S3、S4组成滞后桥臂,即S1的触发脉冲超前于S3的触发脉冲一定角度(移相角);反之,当能量由V2侧流向V1侧时,称为反向工作模式,相应地,S3、S4组成超前桥臂,S1、S2组成滞后桥臂。以正向工作模式为例,介绍能量的流动过程如下。
为简化分析,先假定下列条件:
1)所有的开关元件都是理想的;
2)电路工作在稳态;
3)所有的储能元件都是无损的。

从变压器的原边观察,电路类似于Boost电路,通过对S2导通时间(占空比)的调节,可以在a点获得不同的电压。同时利用S1和S2的轮流导通,在变压器原边得到正负交替的电压。而对于变压器副边,利用S3和S4的反并联二极管进行整流,把变压器上的脉冲交流电压整流成直流,并对电容C3、C4充电。在电容C3、C4足够大的情况下,电容上的电压可以认为不变。此时,副边电路的原理与Buck电路类似。
能量流动的具体过程如下。
S2关断后,变压器原边电路类似于Boost电路的放电状态。电感L1通过Ds1对C1充电,此时S1可以实现零电压导通。随着变压器原边电流逐渐上升,充电电流减小。当电流减小至零并改变方向时,S1导通,输入电流iL1流经漏感Lσ1、原边线圈对C2充电,同时C1通过S1、Lσ1、原边线圈构成的回路放电。此时,变压器原边电压的极性为上正下负,同时原边电流ip从同名端流入,电压与电流为“关联方向”,因而由V1输出的能量传递到变压器中。相应地,此时变压器副边反并联二极管DS3处于导通状态,副边电流is一部分流经L2、负载(V2侧)使C4放电,另一部分通过Ds3对C3充电。变压器副边电压极性为上正下负,is从同名端流出,电压、电流为“反关联方向”,因此能量由变压器传递到V2侧。
当原边S2导通时,由V1、L1、S2组成的回路对L1充电,iL1缓慢上升,同时C2通过变压器原边线圈、Lσ1、S2组成的回路放电。变压器原边电压极性为上负下正,且ip从同名端流出。此时副边Ds4导通,is流经Ds4、副边线圈对C4充电,同时电感L2通过负载、Ds4放电。变压器副边电压极性为上负下正,is从同名端流入,在此期间V1侧输出能量,V2侧输入能量。

由于拓扑结构在变压器两侧完全对称,因此变换器工作在反向模式时,工作原理以及能量的流动过程与上述过程类似。
1.2 软开关的实现
正向工作模式下,一个完整的开关周期中的主要原理波形如图2所示。在开关元件并联结电容与并联电容的作用下,即将关断的开关元件上的电压不能发生突变,因此开关元件可以认为在零电压的情况下关断。由于同一桥臂上下两个脉冲之间的间隔很小,利用电感和结电容的谐振,使即将导通的开关元件的结电容放电,当结电容两端的电压为零时,反并联二极管承受正向电压而导通,从而为开关元件的零电压导通创造了条件。与移相全桥电路相比,由于变压器副边不存在占空比丢失,副边电感L2参与谐振,因此滞后桥臂也可以在较大负载范围内实现零电压导通。与上述开关过程类似,变压器副边的S3和S4也是利用各自的反并联二极管的导通实现零电压开通,S3和S4的开通主要是为减小反并联二极管Ds3和Ds4反向恢复引起的损耗以及电磁干扰。以S3为例:反并联二极管Ds3导通后,S3可以在零电压的条件下开通,更为重要的是Ds3中的电流会逐渐减少至零,电流转移到S3中,Ds3实现软关断(ZCS),从而减少了Ds3关断过程中反向恢复带来的影响。由于这种拓扑结构的DC/DC变换器在变压器两侧完全对称,因此能量双向流动时的软开关条件相同。本文中的实验结果是在负载为电阻的情况下得到的。如果负载为蓄电池等电源,仿真结果证明软开关特性保持不变。
2 开关过程分析
以正向工作模式为例,一个完整的开关周期可分为12个开关过程,如图3所示,to时刻前S1和S2导通。
过程1(to~t1):to时刻,S1关断。由于电容Cs1的作用,S1在零电压(ZVS)下关断。在变压器漏感Lσ1的作用下,变压器原边电流ip继续按原方向流动,给Cs1充电,同时Cs2放电。
过程2(t1~t2):t1时刻,S3关断,由于Cs3的作用S3ZVS关断。此时Cs3充电,Cs4放电。
过程3(t2~t3):t2时刻,Cs2两端的电压降为零,Ds2正偏导通,为S2的导通创造了ZVS条件。此时,流经电感L1的电流iL1增长而ip逐渐下降,但ip仍然大于iL1变压器副边电压极性保持不变,为维持整个回路的电压和为零,Lσ1上承受的电压是变压器原边电压与C2上的电压之和。
过程4(t3~t4):t3时刻,Cs4两端的电压降至零,Ds4导通,此时S4可在ZVS条件下导通。此时,变压器副边电压极性改变,电感电流iL2开始下降。
过程5(t4~t5):t4时刻,电感电流iL1大于变压器原边电流ip,S2ZVS导通,Ds2零电流(ZCS)关断。当ip(或iL2)降至零时,电流方向改变。
过程6(t5~t6):t5时刻,iL2大于变压器副边电流is,S4ZVS导通,Ds4ZCS关断。
过程7(t6~t7):t6时刻,S2在Cs2的作用下ZVS关断,Cs2开始充电而Cs1放电。
过程8(t7~t8):t7时刻,S4ZVS关断。Cs4充电,Cs3放电。
过程9(t8~t9):t8时刻,Cs1两端的电压降为零,Ds1导通,为S1的ZVS导通创造条件。此阶段iL1下降而iu上升。
过程1O(t9~t10):t9时刻,Cs3两端电压降为零,Ds3导通,此时S3可以实现ZVS开通。变压器副边电压极性再次发生改变,且iL2开始增长。当iL2(或ip)增至零时,电流再次改变方向。
过程l1(t10~t11):t10时刻,变压器原边电流ip大于电感电流iL1,S1ZVS开通,DslZCS关断。
过程12(t11~t12):t11时刻,副边电流is小于电感电流iL2,S3ZVS开通同时Ds3ZCS关断。一个完整的开关周期结束。
需要特别指出的是:当变换器的负载比较大或输出的电感电流纹波较小时,Ds4导通时间较长,因而S4通常不需要触发。如果选用合适电感L2,Ds4同样可以在零电流的情况下自然关断,这样可以减小反向恢复电流带来的损耗和电磁干扰。
电路处于反向工作模式时,其开关过程与正向工作模式类似。
3 试验结果
为进行实验研究,研制了一台双向DC/DC软开关变换器。试验样机的各项参数如下。
图3、4分别显示了在不同负载下,各开关元件的门极驱动信号和相应的C、E两端电压以及变压器副边的电压波形。通过对波形进行分析,不难发现:在门极驱动信号Vge变正前,开关元件C、E之间电压Vce已经降为零,表明了在不同的负载条件下S1、S2、S3能够实现零电压开通。这主要是因为反并联二极管的预先导通,使即将触发导通的开关元件在得到在门极驱动信号之前,C、E两端电压已经降为零,因此实现了零电压导通。ZVS导通不仅减小了元件的开关损耗,提高了变换器的效率,并且降低了元件承受的电磁应力,保证了开关元件的安全运行,而且还减少了电磁干扰,有利于提高变换器的电磁兼容性。
4 结 论
本文提出了一种结构对称的隔离型双向DC/DC变换器拓扑。该变换器的所有开关元件和二极管都能够实现软开关,降低了开关损耗和电压、电流应力以及电磁噪声。试验结果表明,该变换器具有以下特点:
1)在没有增加任何附加元件的前提下,所有的开关管都能够零电压导通,克服了传统的移相全桥等电路中的滞后桥臂软开关范围受负载大小制约的限制,实现了较大范围的ZVS开关。
2)解决了Boost电路中二极管的反向恢复问题,保证了二极管在电流为零(ZCS)的情况下自然关断。
射频工程师养成培训教程套装,助您快速成为一名优秀射频工程师...
天线设计工程师培训课程套装,资深专家授课,让天线设计不再难...
上一篇:通信开关电源的EMI/EMC设计
下一篇:蓄电池组充放电集散控制系统的设计
射频和天线工程师培训课程详情>>

