- 易迪拓培训,专注于微波、射频、天线设计工程师的培养
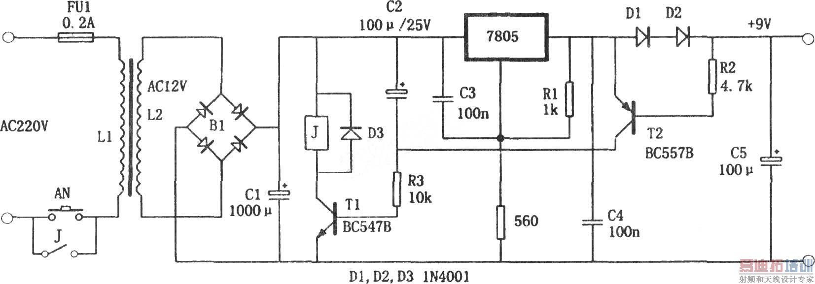
可自动关断的+5V电源(7805)
录入:edatop.com 点击:
如图所示为一种在无负载电流时可自动切断的电源电路。当按下常开按钮AN后,220V交流电压加在变压器的初级绕组上,经变压、整流、滤波和7805的稳压为负载提供电压和电流。在负载上有电流通过时,D1、D2上的电位差,可使T2导通,进而T1也导通,继电器(J)动作,其触点(J1)闭合,形成自保持状态,电源正常工作。一旦负载电流停止流动(空载状态),D1、D2两端无电压,T2截止,此时C2通过T1的基极被充电,经过几秒后,T1截止,继电器释放,J1触点切断变压器初级绕组上的220V交流输入电压,稳压器停止工作。只有再接上负载,按一下AN,电源才能再次工作。


射频工程师养成培训教程套装,助您快速成为一名优秀射频工程师...
天线设计工程师培训课程套装,资深专家授课,让天线设计不再难...
上一篇:LM317构成的1.25~37V可调电源
下一篇:高性能稳压电源(LM334)
射频和天线工程师培训课程详情>>

