- 易迪拓培训,专注于微波、射频、天线设计工程师的培养
仓库温度与湿度自动控制系统设计
仓库是用于存放物品的场所,通风以及温度、湿度的监测是仓库重要条件,它直接影响到储备物资的使用寿命和工作可靠性。现实生活中,温、湿度的测量和控制在纺织工业、林业、化工以及气象观测等领域中也同样有着广泛的应用。传统的温、湿度测量方法采用测试器材,通过人工进行检测,这种人工测试方法费时费力,因而有必要研制仓库的自动温、湿度控制系统,以便实时检测仓库的温、湿度,并根据所测的数据控制加湿器、空调器等设备的运行,确保仓库有合适的温、湿度环境。
这里提出的仓库温湿度自动控制系统是为某民用仓库设计的,可实时检测仓库的温湿度,根据检测结果对温、湿度加以控制,同时还具有在线修订温、湿度控制上下限,温、湿度显示和报警功能,并可向主控室传送数据。
1 系统硬件组成
系统采用AT89S51为主控制器,由键盘电路,温、湿度检测电路,看门狗电路,温、湿度控制电路,显示电路,通信电路等组成,系统硬件框图如图1所示。AT89S51内含有4 KB的E2PROM,无需外扩存储器。

系统通过温、湿度传感器检测环境的温度值和湿度值,将环境的温度和湿度转换成数字量,并将结果传送给单片机,通过数码管显示。单片机利用键盘设置环境温度和湿度的最大值和最小值,并将检测的当前值和预设的最大值和最小值作比较,根据比较结果单片机做出相应的判断,以控制输出继电器的工作状态,执行相应的控制操作,从而实现对环境温、湿度的检测和控制,还可与上位机(PC机)通信,实现温度、湿度的打印、分析等功能,系统采用串行通信,单片机的TXD和RXD通过MAX485与上位机相连。本系统可设定温度范围为O~80 ℃,可设定湿度范围为0%~99%RH。
1.1 看门狗复位电路
看门狗复位电路采用微处理器监控器DSl232。DSl232采用8引脚DIP封装,具有性能可靠、使用简单、价格低廉的特点,在单片机产品中能够提高硬件的抗十扰能力。DSl232具有如下功能:微处理器掉电或电源电压瞬变降低时可自动复位微处理器;在微处理器失控状态下可以停止和重新启动微处理器;精确的5%或10%电源供电监视。DSl232内部集成有看门狗定时器,当DSl232的周期输入ST端在设置的周期时间内没有有效信号到来时,DSl232的RST端将产生复位信号。这一功能对于防止由于干扰等原因造成的微处理器死机是有效的。看门狗定时器的定时时间由DSl232的TD引脚确定。本系统中TD接地,定时器时间为150 ms。P1.0接DS1232,为其提供周期输入信号。RST输出信号反向后接单
片机外部中断INT0。
1.2 温、湿度检测电路
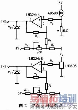
温、湿度检测电路由温度传感器、湿度传感器、LM324型运算放大器、ADC0809型A/D转换器等构成。温度与湿度传感器将温度及湿度值变成电信号,通过放大器使得信号在A/D转换器的量程范围内放大,在单片机的控制下,A/D转换器完成信号的A/D转换,然后将转换后的数字信号送入单片机进行数据分析与处理。
温度传感器选用AD590。AD590是电流输出型的集成温度传感器,具有较强的抗干扰能力,适合远距离测量,其工作电压范围较宽(4~30 V),测温范围为-55~150℃,输出电阻较大,长导线上的压降一般不影响测量精度,因此不需要专门的温度补偿电路。流过AD590的电流等于所处环境的热力学温度系数。
湿度测量采用IH3605,IH3605是一种电容式湿度传感器,其内部集成有信号调理电路,具有精度高、线性度好、互换性强及输出电压范围大等优点。其测量湿度范围为0~100%RH,固有精度为2%RH,工作温度范同为-40~+85℃,工作电压为4~5.8 V,它的输出电压是供电电压、湿度、温度的函数。电源电压升高,输出电压将成比例升高。在实际应用中,可通过以下步骤计算出实际的相对湿度值。
1)计算在25℃条件下的相对湿度值:
![]()
式中,u0为传感器输出电压值,Vcc为传感器供电电压值,RHo为25℃时相对湿度值。本系统中传感器供电电压值为5 V,因此相对湿度值RH在O~100%之间变化时,传感器输出电压值在0~3.9 V之间变化。
2)温度补偿,计算当前温度T下的实际相对湿度值RHo。
![]()
温湿度测量电路如图2所示,温度测量电路是将温度信号变成O~5 V电压信号送入模数转换器。图2中R1为精密电阻,温度每变化1℃,R1两端电压变化1 mV。 [p]

IH3605的输出电压较高且线性度较好,可以将IH3605的输出信号直接接到A/D转换器上,完成模拟量到数字量的转换,但为了提高精度,本系统还对IH3605的输出电压进行放大,使湿度范围为0%~99%RH的变化对应了A/D转换器ADC0809的模拟量输入范围为0~5 V。
选用8路8位逐位比较式A/D转换器ADC0809,实现模拟量向数字量的转换。ADC0809采用单一电源(+5 V)供电,模拟量输入范围为0~5 V,转换时间是128μs左右,不必零点和满刻度调整。图3为ADC0809与AT89S51接口电路。

1.3 键盘与显示电路
键盘电路的作用主要是确定系统的工作状态及设定参数,可在线设置需要的温、湿度值以及报警的上下限值。共有以下按键:左移键、右移键、加1键、减1键、设定/运行键等。键盘电路接单片机P2.0~P2.4,键盘电路中有阻容电路组成的消抖电路用于消除按键的抖动带来的干扰。
系统共有4个共阳极数码管,轮流显示温度及湿度值、设备运行状态、设定值等。数码管由带锁存功能的芯片CD4511驱动。系统还有4路状态指示灯,用于显示系统工作状态及温、湿度超限报警。
1.4 温、湿度控制电路
温、湿度值输入单片机后为进一步提高测量精度,对信号再进行数字滤波,此信号经过数字滤波、标度转换后,一方面通过LED将温度显示出来;另一方面,将该温度值与设定的温度值进行比较,根据其偏差值的大小按PID控制算法得到输出控制量,从而调节环境温度的变化。系统通过键盘输入温、湿度允许变化的上、下限值,在正常情况下,应保持温、湿度介于上、下限值之间,当温湿度超限时,报警灯亮,同时执行机构动作,直到温度和湿度达到标准范围内为止。执行机构包括加热器、制冷机、加湿器等,用继电器进行控制。图4为温、湿度控制电路,继电器J1控制加热器,J2控制制冷机,J3控制加湿器,J4控制除湿器,继电器由晶体管9013驱动,驱动电流为150 mA左右。VD1~VD4为续流二极管,VL1~VL4为各执行机构动作指示灯。当单片机检测到温度值或湿度值超过预设的范围时,单片机的P1口输出控制信号通过三极管驱动继电器,启动继电器工作,实现对温度或湿度的控制。
[p]
2 系统的抗干扰措施
系统的电磁性负载较多,它们对系统的干扰较大。系统采用了以下抗干扰措施:1)对单片机使用电源监控及看门狗电路,采用微处理器监控芯片DSl232实现;2)继电器线圈增加续流二极管,消除断开线圈时产生的反电动势干扰,在继电器触点两端并接火花抑制电路,减小电火花影响;3)做好电源滤波,电路板上每个IC的电源与地之间要并接一个0.01μF电容;4)为了使“乱飞”程序在程序区迅速纳入正轨,尽量多采用单字节指令,并且在关键地方插入一些空操作指令NOP或者将有效单字节指令重写;5)采用软件陷阱技术处理出错程序,采用数字滤波技术处理采样数据;6)通信程序中加数据校验位。
3 系统软件设计
软件采用模块化设计。系统软件主要包括主程序和按键处理、中断、执行机构控制、显示和通信等子程序。主程序完成器件的初始化,并判断有无按键按下、有无中断请求,然后根据判断结果调用相应的子程序。图5为主程序流程图。

4 实验测试结果与分析
该系统的样机在某书库进行了试运行,调试后在室内进行了模拟测试,检验了系统的控制精度。通常书库室内空气温度应控制在25~26℃之间、相对湿度应控制在50%~65%。表1给出了一天不同时刻预设温湿度与实测温湿度的部分数据比较情况。

从以上结果可以看出其温度最大绝对误差为O.5℃。湿度最大相对误差为±3%RH。
5 结束语
以AT89S51单片机作为系统控制器的温、湿度自动测控系统可自动检测并显示仓库温、湿度,并根据用户要求设定系统的温、湿度阈值进行控制,它克服了电子式温湿度控制系统电路较复杂,控制精度低等特点,系统由于具有与上位机通信功能,方便进行对仓库温湿度的集中管理。经测试,该装置工作稳定可靠,有很强的实用性,可广泛应用在粮库、机房、档案馆、特殊材料加工场等场所。
射频工程师养成培训教程套装,助您快速成为一名优秀射频工程师...
天线设计工程师培训课程套装,资深专家授课,让天线设计不再难...
上一篇:基于Multisim的彩灯控制系统的仿真
下一篇:智能照明平台解决方案

