分析电路!
录入:edatop.com 阅读:
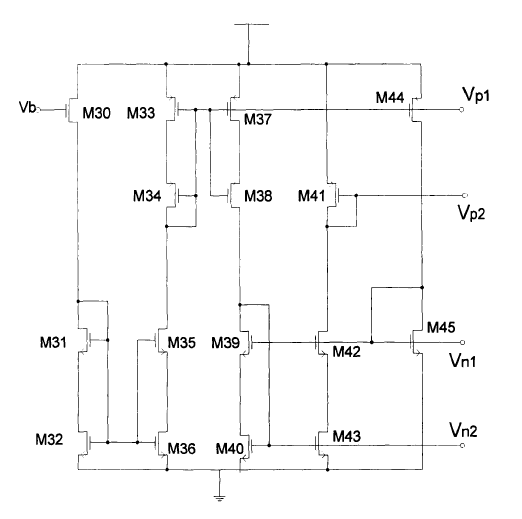
管子30、41、44分别有什么作用啊?谢谢!

E30 and 44 are both bias transistor and they act like current source; 41 is used to generate Vp2
帮忙分析下这个呗,M11~M31组成的偏置电路是如何工作的呀。做标记的为使能管,最上面两个是P管,下面三个是N管。先谢谢喽!

Sorry, but I couldn't see the M11~M31 in the picture you offered.
Read materials about high swing current sources/sinks.
haohao kankan xian
偏置电路?
啥作用都没有...
也许是版图上做dummy的
申明:网友回复良莠不齐,仅供参考。如需专业解答,请学习本站推出的微波射频专业培训课程。
上一篇:共基和共集组态放大电路 ADS仿真
下一篇:模拟电路分析

