谁知道这个电路是如何实现输入信号的单端转双端输出的
录入:edatop.com 阅读:

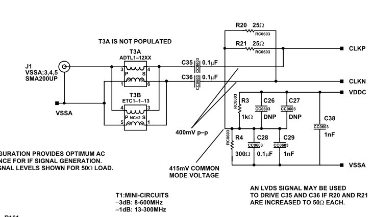
如图所示,谁知道这个电路是如何实现输入信号的单端转双端输出的?
还有上面的T3A T3B是什么东西啊,是变压器还是传输线啊?
顶起来~
申明:网友回复良莠不齐,仅供参考。如需专业解答,请学习本站推出的微波射频专业培训课程。
上一篇:前馈运算放大器
下一篇:一个奇怪的D类音频功放的结构

顶起来~
申明:网友回复良莠不齐,仅供参考。如需专业解答,请学习本站推出的微波射频专业培训课程。
上一篇:前馈运算放大器
下一篇:一个奇怪的D类音频功放的结构