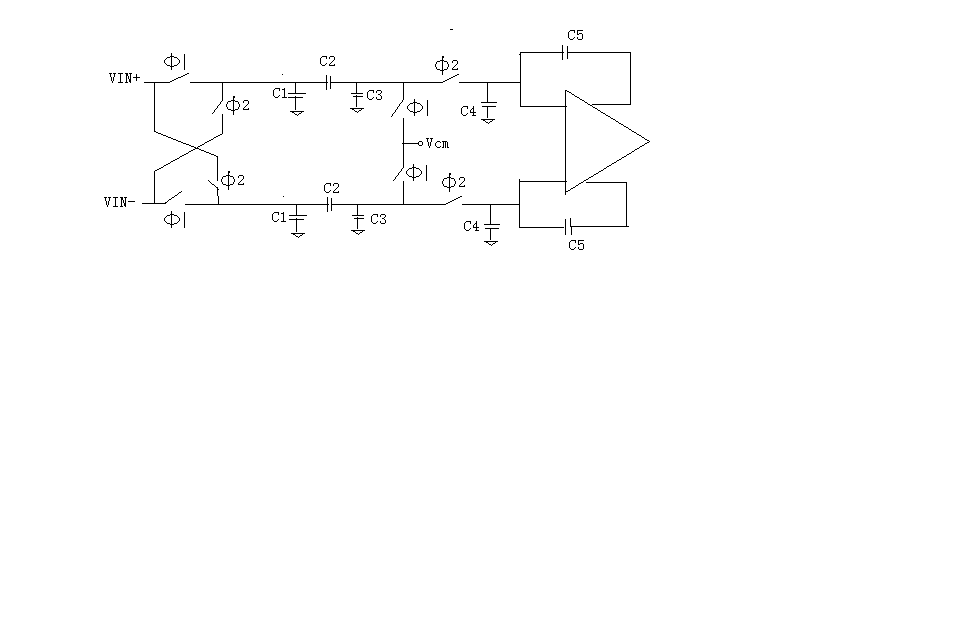
请帮我分析一下该SC 积分器。谢谢!

怎么看不到图?重新贴个图

没人解惑吗?
自己顶一下
C1,C3,C4 只能是寄生电容
c1 c3 c4就是寄生电容
vin那里似乎用了chopper stabilization
我也觉得是。
另外采样的电压应该是2(Vin+ - Vin-)。其他就是跟普通的SC积分器一样的吧
输入用了斩波调制
实现两倍输入采样,C1、C3、C4应该都是寄生电容,不然C3的存在积分过程的电荷转移存在一个固定的共模,使得输出共模偏移。
输入并没有采用chopper
谢谢各位的解答。我知道输入是采样了2倍(VIN+)-(VIN-)。但C1,C3和C4不是寄生电容哈。容值如下:C1=1*C,C2=4*C,C3=2*C,C4=7*C,C5=30*C。当然C4处有D/A反馈型号,我没有画出来。
我就是不清楚C1,C3和C4的作用。也许C1起了抗混叠滤波器的作用。但C3和C4呢?
欢迎大家讨论一下。谢谢!
小编,你不把完整原理图放出来,是很难分析。
很多电容在分析某个信号路径的时候是可以看成寄生电容。比如说C4对应于输入。如果从D/A反馈看,C2就是寄生电容。
我想C1可能是去其他SC integrator 的feed forward path
楼上的朋友,这就是完整的sigma delta adc输入路径电路图呀。只不过没有画出D/A反馈到运放输入端的部分(那部分是直接反馈到运放输入端的)。我认为那部分只是做加减运算,就没有画出来。信号输入端就是从外部输入到该开关电路的。
继续请问c1,c3,c4的作用?
自己顶一下
小编搞定没?
C1,C3,C4这是什么作用?
Vo/Vin=((1+1/z)/(1-1/z))*(c2/c5)
申明:网友回复良莠不齐,仅供参考。如需专业解答,请学习本站推出的微波射频专业培训课程。
上一篇:请问上海海思做不做模拟
下一篇:低中频与零中频噪声区别

