关于有源滤波器的传输函数
录入:edatop.com 阅读:
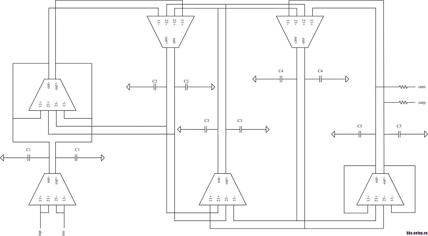
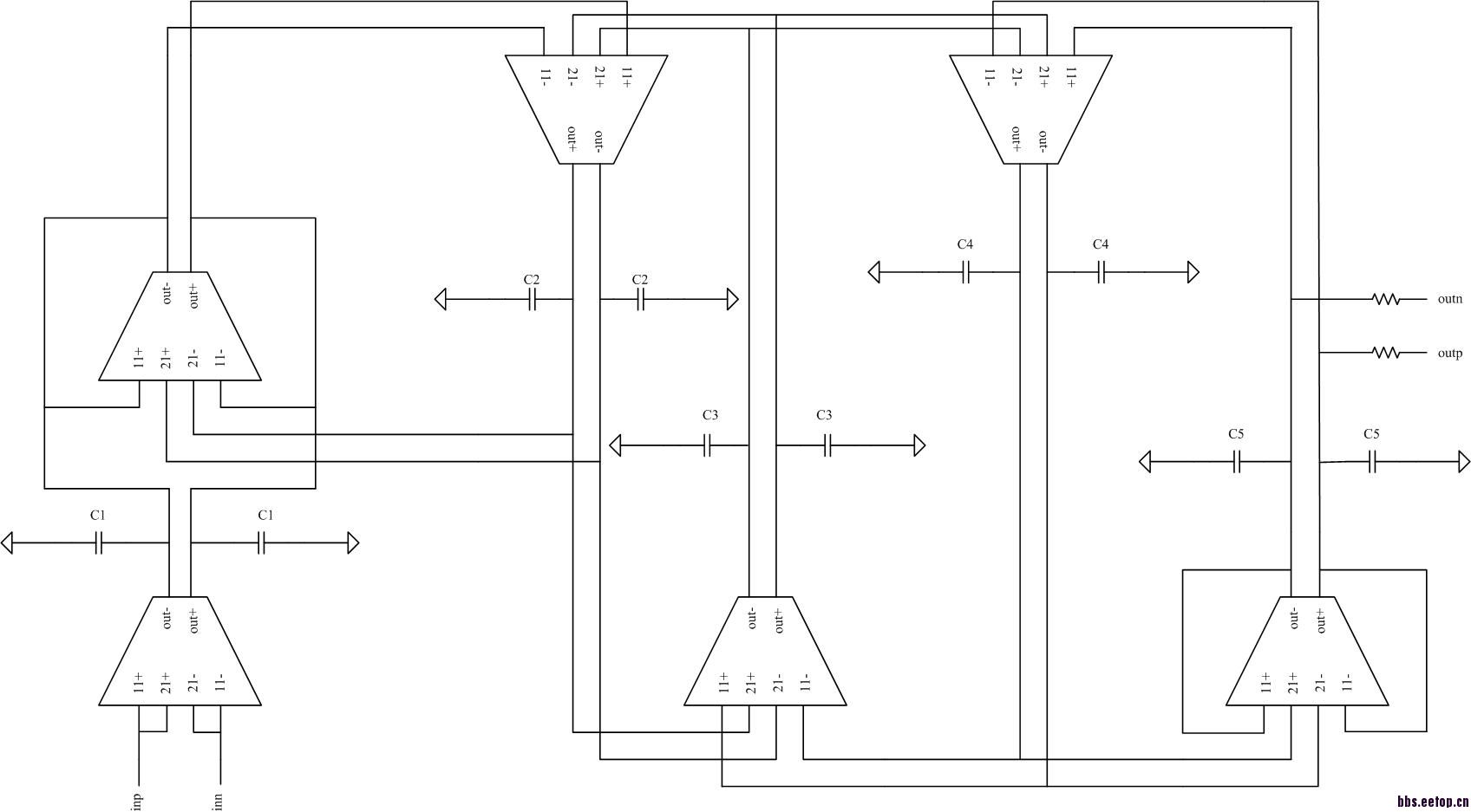
请问有现成的有源滤波器结构 怎么反推出传输函数呢?之前没接触过这个方面的东西 实在没有什么头绪 各位大大们帮帮忙吧 给点提示结构如下图



传重复了 大家将就看看吧
申明:网友回复良莠不齐,仅供参考。如需专业解答,请学习本站推出的微波射频专业培训课程。
上一篇:请问一下电感的寄生电阻怎么计算呢?
下一篇:cadence中计算器的使用问题

