請問要如何計算 cdr loop filter的值
录入:edatop.com 阅读:
Dear all :
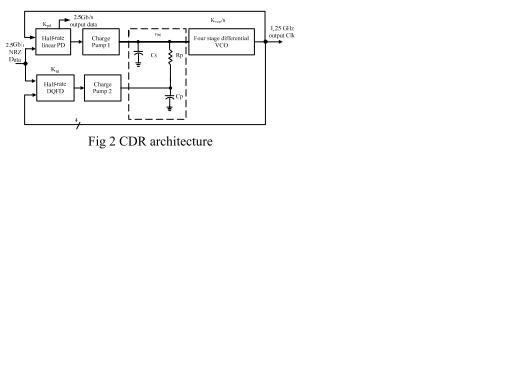
附上DUAL LOOP CDR 的簡圖,
1. 如圖中的 Rp / Cp / Cs 要怎麼計算 ? 有沒有公式或是paper可以參考
2. charge pump 的 Ipmp1 Ipmp2 電流要都一樣, 還是要一大一小 ? 之間有沒有什麼特別關係?
Thanks.
附上DUAL LOOP CDR 的簡圖,
1. 如圖中的 Rp / Cp / Cs 要怎麼計算 ? 有沒有公式或是paper可以參考
2. charge pump 的 Ipmp1 Ipmp2 電流要都一樣, 還是要一大一小 ? 之間有沒有什麼特別關係?
Thanks.

周年纪念
我在chip123上回了一篇,不知道你是否能看到,不知道你是否还在做cdr,不知道你的cdr做的结构怎么样?
楼上的,你能不能再回说一次怎么个计算法啊?谢谢啊!
初学者,同问此问题
goodschematic
楼上的,你能不能再回说一次怎么个计算法啊?谢谢啊!
申明:网友回复良莠不齐,仅供参考。如需专业解答,请学习本站推出的微波射频专业培训课程。
上一篇:LDO 的 重要问题
下一篇:LDO在低电流负载下,调整管处于亚阈值区正常么?

