有人再開發 bridge driver IC 嗎?
有人再開發 bridge IC 嗎? 一般 power pwm ic .
flyback /PSR
LLC
forward
half-bridge
full bridge
以 bridge 來說說須要多個外部使用 power mos , 那是否可以整合 700~800v mos 到 chip .
好像 wrireless power transfer 也有使用 bridge 方式傳, 雖然一般都是使用 外接mos
可以使用 UHV process 整合嗎?
一般好像都是 driver IC + power_MOS
了解。
一般 full
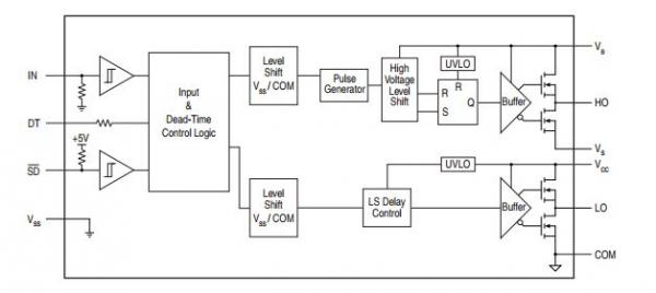
都是 driver IC + 4 mos , 目前都已經有 700v process .
能否整合?
现在towerjazz有可以做full bridge的process,不知道有谁了解台湾的工艺厂商,可以做full bridge的?
以色列 TowerJazz or TowerJazz/panasonic
不知道如何
[attach]589247[/attach]
為何你說他們有此能力 ?
http://www.slideshare.net/chiportal/chip-ex2011-towerjazz-power


你看他们的工艺平台,能够支持
我看到他们简介说是700V工艺平台量产,再就是高压隔离各个方面比较成熟。但是没有用过,具体情况不了解啊、
学习 最近在做motor driver 不知道driver电路应该注意哪些 希望可以指导交流
现在的工艺应该可以内置power mos吧?做motor driver?可以交流一下?
内置power mos 如果 700v ,
Ids 一般是 10~20ma , 要 100ma 得併 5 mos
这个完全靠工艺实现!也可以这样保守做法,采用双芯封,一颗做抵押控制器IC,一颗做高压Level Shift IC.通过Bonding连接起来。这样可以避免工艺不成熟引起高低压不兼容的问题。如果再集成Power MOS就很困难了,常用封装不能满足要求。
再集成Power MOS 是 vertical MOS / UMOS 類電流會比較大, 一般 UHV 600~700v LDMOS
都電流比較小 . 拿 ac -> dc 來說 ,
考慮到 switch transformer spike (一般會有 snubber )
因為一般 會抓 600v ~700v .
Id 一般 雖然一次側電流不會太大 但是 一般 system level
都會要求外掛 mos 是 2n60 4n60
外掛得 power mos 都使用到 2A .
如果 700v LDMOS 電流要到2A 那肯定 size 超大 , 所以 應該都不會如此大,
連 PI 都只有 ~幾百 ma LDMOS . 但是 ,這就有另個問題 , 會不會不夠大?
所以目前 含 mos 有分
1. MCM 双芯封,一颗做低壓控制器IC,一颗做 Umos 可以買其他家來
2. UHV 工藝單一顆
但是 , 這兩類做好各有好壞, 不過對 system 來說 dip8 是只看到一顆完全不知道內部如何做,
所以也有廠商說 双芯封不好 .
申明:网友回复良莠不齐,仅供参考。如需专业解答,请学习本站推出的微波射频专业培训课程。

