运放GM不高

运放结构基本如图,设计出来的结果是GM不高,瞬态响应良好。调整电路使GM提高但是整体GBW不满足要求,GBW又有功耗等约束,现在不清楚如何解决该问题。在GBW之后相频特性下降很快。
另外,请教一下,对于稍微复杂一点的电路,如何直观分析其零极点,确定有哪些非主极点的影响,若要画出小信号分析其传递函数的话,感觉很困难了。谢谢。
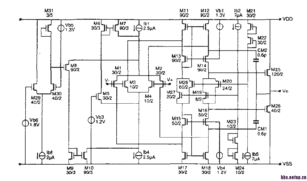
PS: 图中的尺寸不是我电路中的尺寸,我直接截的论文中的一张图。
你这个是rail to rail输入的,你看看不同共模下的gm变化呢?
另外M27/28/19/20, 你的L可以取小一些这个没必要这么大的。
另外你的电源电压多少,最好2.5V以上,这样子的电路架构。 class AB输出,最后一级你应该主要是保证驱动能力的,M25/26的L放到0.6um应该完全够了,因为增益实际上不是主要由这里贡献的。
谢谢回复,我贴的电路图是一个论文中的图,里面的尺寸是原图中的不是我写的,你说的那些管子的尺寸我用的是最小尺寸,电源电压最低为3V。
把你的参数贴上来看看!
一般而言 3V 条件下 gain可以到100以上,-3dB带宽 1M左右。
你的才100Hz 太低了
1M?这么大,我看TI的一个轨到轨运放的data sheet给出的图-3Db也是100hz内。
这种CASCODE MILLER 补偿不一定有简单的米勒电容+调零电阻补偿好,就是因为其相位曲线下降很快,Q值太高,小编换米勒电容+调零电阻补偿吧
我在原图基础上加了调零电阻消除零点。看论文,书等都推荐用这种补偿方式,为什么其Q值很高。恩,试试另外一种补偿方式看看,谢谢。
现在0.35um工艺 有这么低的带宽?
用的BCD工艺,补偿电容快2pF。输入管gm约为300u。
他这个100HZ,可能是正常的,你看其输入对管的电流2.5uA,都很小。
申明:网友回复良莠不齐,仅供参考。如需专业解答,请学习本站推出的微波射频专业培训课程。
上一篇:如何直观地得出输出(输入)阻抗大小?
下一篇:文章中功耗频率曲线如何得到

