全差分折叠共源共栅运放小信号分析方面的问题
录入:edatop.com 阅读:
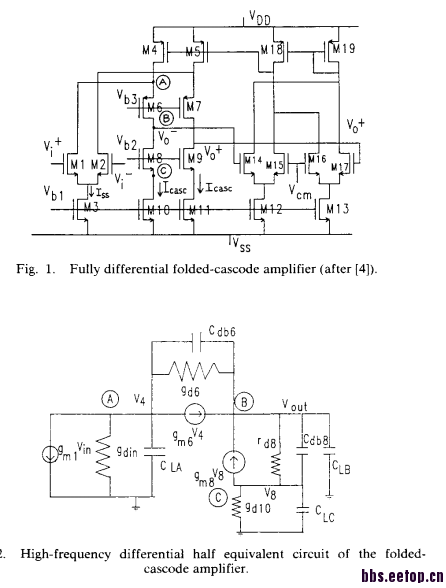
请问下各位今天在一片文章上看到对全差分折叠共源共栅运放的小信号的分析,小弟有一点不明白的是为什么会有Cdb6和Cdb8两个电容分别跨接在AB和BC之间,希望各位指教!


S和B接一起,没衬偏。
申明:网友回复良莠不齐,仅供参考。如需专业解答,请学习本站推出的微波射频专业培训课程。
上一篇:hspice 极零点分析 出现warning
下一篇:差分lna.输入匹配问题

