施密特触发器与迟滞比较器
录入:edatop.com 阅读:
RT 哪位兄台能给我讲讲施密特触发器与迟滞比较器的区别啊 我看他们的特性似乎差不太多
谢谢啦
施密特触发器电路用途
谢谢啦
在数字系统的脉冲整形电路中,常需要一定幅度和宽度的矩形脉冲。获得矩形脉冲的方法通常有两种,一是由脉冲振荡器直接产生,二是用脉冲整形电路将非矩形脉冲变换成符合要求的矩形脉冲。
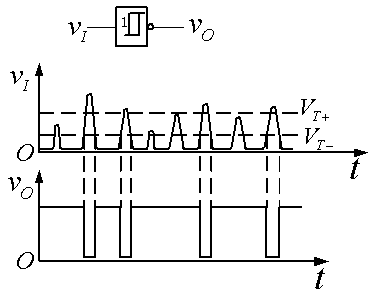
施密特触发器是一种脉冲整形电路,它的电压传输特性是一条具有滞回特性的曲线,即触发器输出由低电平变为高电平和由高电平变为低电平所对应的阈值电压是不同的。施密特触发器可对输入波形进行变换和整形。回差电压△UT和阈值电压UT1和UT2是其主要参数。
施密特触发器电路用途
施密特触发器
(1)应用于波形的整形和变换:整形时,将不好的矩形波变为较好的矩形波;波形转换时,将三角波、正弦波和其他波形转换为矩形波。
(2)应用于幅度鉴别:可以将输入信号中的幅度大于某一数值的信号检测出来。
(3)应用于多谐振荡器。
利用施密特触发器可以将非矩形波变换成矩形波

利用施密特触发器可以恢复波形

利用施密特触发器可以进行脉冲鉴幅

他们俩是不是想人们说的 特性一样
迟滞比较器用于模拟电路
施密特触发器用于数字电路?
然也。
确实是这样的!
哪位能详细解释下
个人理解:迟滞比较器的正负翻转电平的中间值Vref可调节,而施密特触发器的一般是固定的
你所谓的迟滞是指比较电压阈值的迟滞,还是比较点翻转时间上的迟滞?
simple VS complex
看看。
应该是阈值可调与不可调的区别吧!施密特的反转阈值一般是Vtn,或者VDD-Vtp,应用范围小。迟滞比较器可以根据要求调整反转阈值,应用范围大!
看看。
申明:网友回复良莠不齐,仅供参考。如需专业解答,请学习本站推出的微波射频专业培训课程。

