- 易迪拓培训,专注于微波、射频、天线设计工程师的培养
RFID读写器发送电路原理设计
录入:edatop.com 点击:
1. 读写器发送电路的架构
无线电规范对读写器发射频谱的要求十分严格。另外,协议要求的发送的调制方式、调制深度等决定了读写器发送电路的架构。
图1是用于幅度调制的发射电路架构,包括本地振荡(LO)、可变增益放大器(VGA)、功率放大器(PA)以及天线(Anta),其中LO提供了发射电路的载波频率,输入数据通过VGA来调制发射载波,从而产生幅度调制信号。PA则把输出功率进行放大,然后通过天线把信号发送出去。这种发射电路的结构比较简单,采用的硬件比较少。
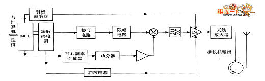
根据ISO18000-6标准规范,设计RFID读写器发送设各的系统方案如图3所示。
控制单元:由MCU和编码电路构成。控制单元担负着以下任务:
(1)与应用系统软件PC端进行通信并执行应用系统软件发来的命令。
(2)控制与电子标签的通信过程。
(3)信号的编码与解码。
(4)执行反碰撞算法。
(5)对电子标签与读写器之间要传送的数据进行加密和解密。
(6)进行读写器和电子标签之间的身份验证。为了完成这些复杂的任务以及后续的信号处理,MCU拟采用ARM7系列32位微处理器。
射频接口:完成对编码信号的调制、滤波、放大。
在RFID读写器中,发送设备不是独立的,而是与接收设备配合工作的。环形器的作用是实现信号发送与接收的时分复用。
915MHz REID读写器发送设各的工作过程如下。
(1)MCU微控制器接收计算机发来的操作命令,启动应用程序,将相应的操作命令发送到编解码电路。
(2)编码电路根据MCU微控制器传来的操作命令进行编码,形成基带信号送到整形电路和限幅电路进行处理,处理后的信号送往混频器(上变频)。
(3)混频器将编码电路送来的基带信号与本振信号混频,进行ASk调制。
(4)调制信号经带通滤波器滤波,再经功率放大器放大,再送往天线放大器放大,形成最终的发射信号。
(5)环形器将天线放大器电路传来的功率信号送至天线,发给电子标签。
其中,频率合成器产生的本振信号的频率控制、调制深度设定、功率放大器增益控制均由MCU微控制器根据通信协议以及系统工作条件等因素完成。
无线电规范对读写器发射频谱的要求十分严格。另外,协议要求的发送的调制方式、调制深度等决定了读写器发送电路的架构。
图1是用于幅度调制的发射电路架构,包括本地振荡(LO)、可变增益放大器(VGA)、功率放大器(PA)以及天线(Anta),其中LO提供了发射电路的载波频率,输入数据通过VGA来调制发射载波,从而产生幅度调制信号。PA则把输出功率进行放大,然后通过天线把信号发送出去。这种发射电路的结构比较简单,采用的硬件比较少。

图1幅度调制的发射电路架构

图2 幅度调制发射机架构
根据ISO18000-6标准规范,设计RFID读写器发送设各的系统方案如图3所示。

图3 915MHz RFID读写器发送设备系统结构
控制单元:由MCU和编码电路构成。控制单元担负着以下任务:
(1)与应用系统软件PC端进行通信并执行应用系统软件发来的命令。
(2)控制与电子标签的通信过程。
(3)信号的编码与解码。
(4)执行反碰撞算法。
(5)对电子标签与读写器之间要传送的数据进行加密和解密。
(6)进行读写器和电子标签之间的身份验证。为了完成这些复杂的任务以及后续的信号处理,MCU拟采用ARM7系列32位微处理器。
射频接口:完成对编码信号的调制、滤波、放大。
在RFID读写器中,发送设备不是独立的,而是与接收设备配合工作的。环形器的作用是实现信号发送与接收的时分复用。
915MHz REID读写器发送设各的工作过程如下。
(1)MCU微控制器接收计算机发来的操作命令,启动应用程序,将相应的操作命令发送到编解码电路。
(2)编码电路根据MCU微控制器传来的操作命令进行编码,形成基带信号送到整形电路和限幅电路进行处理,处理后的信号送往混频器(上变频)。
(3)混频器将编码电路送来的基带信号与本振信号混频,进行ASk调制。
(4)调制信号经带通滤波器滤波,再经功率放大器放大,再送往天线放大器放大,形成最终的发射信号。
(5)环形器将天线放大器电路传来的功率信号送至天线,发给电子标签。
其中,频率合成器产生的本振信号的频率控制、调制深度设定、功率放大器增益控制均由MCU微控制器根据通信协议以及系统工作条件等因素完成。


