- 易迪拓培训,专注于微波、射频、天线设计工程师的培养
RFID系统相位噪声分析
在本振中设定一组相位噪声,然后用谐波平衡分析的方法进行仿真,在输出端观察相位噪声的情况,同时也可以得到系统的频谱特性。
1.分析工具选择及其参数设置
(1)在元件模型列表窗口中找到Sources-Freq Domain项目,插入OSCwPhNoise,作为本振源。设定Freq=915MHz,修改PhaseNoise list,如图1所示。OSCwPhNoise已经自带了50Ω的电阻,这和V_1Tone加50Ω的电阻功能类似,就是多了相位噪声。

图1 相位噪声源OSCwPhNoise的设定
(2)在Simulation-HB项目中选择HB noise controller,插入电路图。Freq tab频率标签中设定Sweep Type为log,范围从10Hz到10kHz,步长为5。在Nodes tab标签中单击Pos Node下拉框,选择vout节点,单击Add按钮。在PhaseNoise标签中选择相位噪声类型(Phase NoiseType)为Phase Noise spectrum,设定载频carnet Frequency为915MHz。这是由LO引入的相位噪声中的中频频率。参数修改如图2所示,同时在显示标签Display tab中把项目显示在原理图上,并做出相应的修改。

图2 HB noise controller 的参数设定
注意:Noise controller组件与HB谐波模拟一起使用,便于将模拟控制和噪声测量分开。它可独立于HB simulation controller,能够很方便地进行所有噪声的测量,可以使用多个HBno1se controller同时进行不同噪声的测量,在这种情况下只需要一个FIB simulation controller即可。
(3)在原理图中插入FIB模拟控制器。把缺省的频率值改为915MHz,单击Apply按钮。然后增加中频频率4MHz,单击Apply按钮。
在NoiseCon标签中选择NoiseCons,然后使用Edit按钮选择NC1为您设定的NoiseCon实例名称,单击Add和Apply按钮。在显示(Display)标签的HB Display标签中选中如图3所示的最终参数设定项目于原理图上。

图3 FIB simulation controller参数设定
完整的原理图如图4所示。

图4 相位噪声分析仿真原理图(以TypeA为例)
2.仿真结果
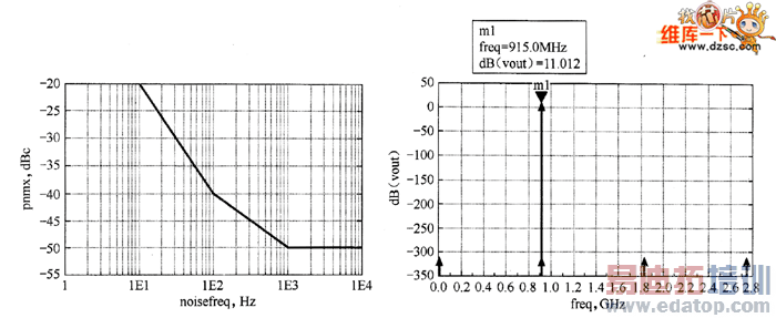
完成全部设置后运行仿真。在数据显示窗口中把vout_phmx显示出来,如图5所示,可以看到相位噪声在发射机输出端的分布情况,同时也可以得到输出信号的频谱特性。

图5 相位噪声分析的仿真输出
13.56MHz NFC天线,13.56MHz RFID天线设计培训课程套装,让天线设计不再难
上一篇:论RFID技术在产品防伪上的应用
下一篇:RFID技术在国际快件物流中的应用


