- 易迪拓培训,专注于微波、射频、天线设计工程师的培养
高端电流检测放大器性能分析
检流放大器的这一特性使其非常适合高端电流检测应用,这类应用往往需要对高压侧检流电阻两端的微小电压进行放大,并馈入到低压ADC或低压模拟控制环路进行处理。这种情况下,通常需要在信号源端(例如检流电阻两端)对电流检测信号进行滤波。可以采用差分滤波器(图1)滤除负载电流和检流电压的“毛刺”,也可以采用共模滤波器(图2)以增强在出现共模电压尖峰或瞬时过压时的ESD保护能力。合理选择元件构建滤波器,如果元件选择不当,则会引入一些无法预知的失调电压和增益误差,降低电路性能。
滤波器的选择
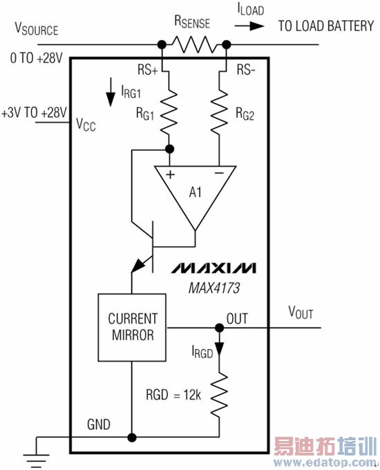
MAX4173检流放大器如图3所示,该器件的检流电阻可直接连接到芯片的RS+和RS-端。器件内部的运算放大器将检流电阻两端的差分电压恢复成RG1两端的差分电压,即ILOAD×RSENSE=VSENSE=IRG1×RG1。然后,内部电流镜对电流IRG1进行电平转换和放大,产生输出电流IRGD。MAX4173的内部电路中RGD=12kΩ,而RG1=6kΩ。
因此,
由于RGD和RG1为片上电阻,实际阻值会因不同的半导体工艺而产生多达±30%的差异。但是,因为最终增益精度取决于RGD和RG1的比例,所以可以很好地控制增益,并在生产过程中灵活调整。
构建差分/共模滤波器(如图1和图2所示)时,需要在检流电阻的RSENSE+和RSENSE-端与器件的RS+和RS-引脚之间接入串联电阻,此时相当于改变了芯片的RG1和RG2。由上面的等式可知,改变后的RG1将引入增益误差。同时,由于RG1的绝对误差最大可达±30%,因此增益误差最大将达到±30%,由于这种误差的引入是随机的,所以无法控制或估算误差。由此可见,控制增益误差的唯一办法是保证输入串联电阻RSENSE+远远小于RG1。

图1:采用差分滤波器消除负载电流的“毛刺”。

图2:采用共模滤波器改善电压尖峰或出现共模过压时的ESD保护能力。

图3:MAX4173的内部功能框图。
另外,由于输入偏置电流的存在,电阻RG1和RG2之间的不匹配将会引入输入失调电压。根据MAX4173和MAX4372的数据资料,偏置IRS-等于两倍的IRS+,因此与RG1串联的电阻RSERIES+应等于与RG2串联的电阻RSERIES-的两倍,以消除输入失调电压。


