- 易迪拓培训,专注于微波、射频、天线设计工程师的培养
基于TFT 彩屏液晶的便携数字存储示波器
液晶显示器在便携式仪器中有着广泛的应用, 使用液晶作为显示器件具有显示质量高, 数字式接口, 体积小, 重量轻, 功耗小等优点。本文设计的系统, 以C8051F020单片机为核心, 以TFT 彩屏液晶为显示器件, 将输入信号经过必要的信号调理电路以后进行采样, 采样后的数字信号在单片机内进行实时的数据处
理, 并按照一定的格式输出到液晶屏幕。通过对液晶进行初始化, 并编写相应的程序, 实时显示出输入信号的波形, 并对信号进行相关参数的测量, 实现了手持示波器的功能。
1 系统组成与工作原理
1. 1 系统组成
系统主要有信号调理电路, 采集处理模块和液晶外围电路组成。信号调理电路由继电器、增益控制D/ A、两级可变增益放大器AD603 和保护电路组成, 主要用于对输入信号进行程控的衰减与放大, 使得信号在最佳的测量和显示量程范围内。采集处理模块负责采集调理电路输出的信号, 并对信号进行编码缓存, 得到适合LCD 显示的数字编码信号。液晶外围电路为液晶显示电路提供合适的工作电压, 并且对液晶模块与单片机的接口电路进行了设计。系统组成的总体框图如图1所示。

图1 系统组成框图
1. 2 系统工作原理
系统时钟控制A/ D 采集波形数据, 在单片机内部配置两块RAM 缓存区, 并采用循环存储器结构。也就是说, 存储器的各存储单元按串行方式依次寻址, 且首尾相连, 形成了一个环形结构。采集开始时, 将采集数据按顺序写入其中一个存储区, 当所有单元都存满以后, 将该存储区的数据送到LCD 显示, 与此同时, 下一轮的采样数据不断存储到另一个存储区, 存满以后2 个存储区交换功能。如此轮换交替, 这样接收A/ D 采集数据和数据显示可以同时进行, 而数据显示的速率大于A/ D 采集速率, 从而可以有效避免数据丢失。
系统的工作过程如下: 输入信号经前端信号调理电路转换到合适的电平, 在单片机的控制下通过A/ D 对信号采集处理并存储采集数据。对LCD 初始化编程接收单片机存储的波形数据, 将信号的波形实时显示出来, 并测量信号的峰峰值电压和频率。
2 系统硬件设计
系统硬件主要实现对输入信号的程控衰减放大, 过压保护, 信号的采集处理以及单片机与液晶模块接口电路等, 系统硬件总体框图如图2 所示。

图2 系统硬件总体框图
2. 1 信号调理电路
信号调理电路实现了对输入信号的程控衰减放大,它由增益变化范围线性连续可调的可控增益放大器AD603 组成。通过单片机, 结合8 位D/ A 转换芯片CA3338E, 对两片AD603 引脚端的输入电压进行控制。该芯片输入控制电压Vc 的范围为- 0. 5~ + 0. 5 V,一级增益和控制电压的关系为:

当使用两级级联时, 则增益和控制电压关系为:

单片机输出控制信号, 使继电器对输入信号进行100 倍衰减。衰减后的信号经A/ D 转换后采集到单片机中, 根据预先设置的档位判断信号所属的范围。如果
信号幅度过低, 不在这些范围之内, 则单片机重新发出控制信号, 减小对输入信号的衰减倍数, 直到衰减后的信号满足最佳测量范围为止。对应于每个档位的信号,输出一个8 位的数字信号至CA3338E 芯片, 并将其输出的模拟信号加到AD603 的输入端, 得到不同的放大倍数, 完成信号的程控衰减放大。
这样设计, 一方面可以实现自动增益控制。系统会根据程序的设定对输入信号的幅度自动选择放大衰减的倍数, 来得到满足信号采集部分电路要求的最佳信号电平, 在进行信号电压的测量时, 只需要将采集到的信号电压与相应的程控倍数相乘, 就可以显示出准确的电压值。另一方面, 也可以大大扩展输入信号的动态范围。信号采集电路允许的最大输入电压为4 V 左右, 这样, 当输入峰峰值为400 V 信号时, 由于存在100 倍的衰减, 调理以后的输出信号仍然不超过采集电路的范围。 [p]
2. 2 过压保护电路
在A/ D 的输入通路前并联了两个钳位稳压二极管, 保证在输入交流信号过压时钳位在安全范围内, 此时程序判断到A/ D 的输出大于量程, 也会自动切换衰减倍数, 转到更高档位, 起到保护A/ D 和单片机芯片的作用。
2. 3 单片机与液晶模块接口电路
单片机使用C8051F020, 它是一种高集成度的混合信号片上系统, 有按8 位端口组织的64 个数字I/ O 引脚, 所有引脚都耐5 V 电压, 都可以被配置为漏极开路或推挽输出方式和弱上拉。液晶模块采用TFT 液晶,TFT( Thin Film T ransistor) 为薄膜晶体管有源矩阵液晶显示器件。每个液晶像素点都是由集成在像素点后面的薄膜晶体管来驱动, 从而可以做到高速度、高亮度、高对比度显示屏幕信息。它以行扫描信号和列寻址信号控制作用于被写入像素电极上的薄膜晶体管有源电路, 使有源电路产生足够大的通断比, 从而间接控制像素间呈TN 型的液晶分子排列, 达到显示目的。
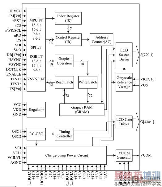
液晶模块采用ILI9320片上系统( SoC) 驱动器, 支持26 万色显示, 分辨率为240RGB@320 像素, 图像数据存储区的大小为172, 800 字节, 同时还集成了电源电路。其内部结构框图如图3 所示。

图3 ILI9320 内部结构框图
ILI9320 与MCU 之间有4 种总线接口方法, 分别为i80 系统总线, 串行总线, RGB 总线和VSYNC 总线。在此采用i80 系统总线进行控制, 通过读使能( RDB) 和写使能(WRB) 两条控制线进行读写操作, 其中数据宽度为8 位。由于LCD 模块中的数据线为16 位, 实际中只用到了8 位, 因此要对低8 位接地。液晶模块中,DB8~DB15为双向数据总线, RS 为数据/ 寄存器的选择信号, 当RS 为低电平时, 表示对液晶模块内部的寄存器操作, 为高电平时对显存中的数据进行操作, CS 为片选信号, RESET 为复位信号。这些信号线直接与单片机的GPIO 总线相连, 不需要设计外围的电路。
3 系统软件设计
系统软件设计主要完成对程控衰减放大电路的控制, 波形数据的处理与存储, 触发设置以及LCD 模块的波形显示功能初始化编程, 软件设计总体框图如图4所示。
3. 1 触发器的软件实现
触发器是示波器的重要组成部分, 通过触发器产生的控制信号, 控制示波器对波形数据的存储和显示, 达到稳定同步的目的。本系统设计的触发器, 采用全数字化结构, 大大降低了系统硬件电路的复杂性, 并且触发条件的调整比较方便。触发器通过引用单片机内部的RAM 资源定制了一个FIFO 作为采集数据的暂存区,将波形数读入该缓存区, 按照预先设定的触发门限,将缓存区中的数据读出, 如果满足触发条件, 则将数据在屏幕上显示出来。

图4 软件设计总体框图
3. 2 波形显示的插值算法
采样得到的波形数据可以直接显示, 这样在屏幕上看到的是一些离散的亮点, 波形的显示不是连续的, 不利于观察分析信号, 因此需要进行插值算法, 也就是说利用少数采样点来推算出完整波形数据的处理方法。插值的方法有多种, 比如矢量式内插、正弦内插、抽样函数内插等, 结合各自的特点, 本系统使用了正弦内插技术, 使得波形的显示具有很好的连续性, 提高了视觉效果。正弦内插是一种专门用于信号重建的方法, 一般情况下, 每个周期使用2. 5 个数据字就可以构成一个较完整的正弦波形。它的理论基础是信号重建的抽样内插公式, 即:

式中: T 为采样周期; x(mT ) 为A/ D 采样得到的数据。式( 3) 表明, 可以通过抽样信号恢复出原始的连续时间信号。本文中不需要恢复原始信号, 只是为了增加采样点数据, 因此要对时间t 离散化, 一般来说, t 为0. 1T ~0. 2T, 也就是说每一个采样周期内要插入5 ~ 10 个波形数据, 同时, 求和范围也要进行限制, 计算点区间为( 0, m) , m的取值不能太大, 否则会降低运算速度[ 9] 。使用Matlab 对插值算法进行仿真, 仿真结果如图5 所示, 其中图5( a) 、图5( b) 、图( c) 分别为原始信号、采样以后的离散信号以及经插值算法处理以后的采样信号,可见, 正弦内插算法插入的数据点接近原始信号的幅值。经理论计算可知, 当求和区间为( 0, 30) 时, 引起的幅度显示误差小于0. 9%。 [p]

图5 正弦内插算法仿真
4 系统调试和测试
在完成了系统的硬件设计和软件设计以后, 需要进行综合调试和测试。通过调试, 不断优化程序代码, 对程序中的问题及时更正修改, 使系统的性能得以提高,工作状态更加稳定。测试的过程中可以修正电路中元器件的参数等, 以免理论分析与实际状态的差距引起的波形显示效果不佳以及显示中噪声的影响。
在进行系统联调时, 要不断修正程控衰减放大电路的程序, 将输入信号调整到最佳的显示量程范围内, 手持示波器的实物图如图6 所示。

图6 手持示波器实物图
当输入500 Hz, 峰峰值为3. 2 V 的正弦信号时, 在TFT 彩屏上显示的波形如图7 所示, 其中屏幕的水平方向表示时间, 每一格为1 ms; 垂直方向表示输入信号幅度, 每格为0. 6 V。从图中可以看出, 波形显示稳定连续, 测量信号参数的精度高, 且彩色信息丰富。

图7 TFT 液晶显示的正弦信号
5 结 语
研究了以TFT 液晶作为显示器件的手持数字存储示波器的总体方案, 即由信号调理电路, 采集处理模块和液晶外围电路组成。在确定总体方案的同时,给出了实现此总体方案的具体方法。采用CA3338E和两级AD603 电路, 配合单片机控制继电器的衰减倍数, 实现了程控的衰减放大并且兼有自动增益控制的功能。通过软件设计了数字触发器, 取代了一般示波器中常用的触发电路, 降低了系统的硬件复杂度。波形显示时, 综合利用了内插函数和线性插入两种插值法, 使显示波形连续稳定。该数字存储示波器允许输入信号的动态范围大, 体积小, 便于携带, 具有很高的应用价值和广阔的发展空间。
参考文献:
[1].CA3338E datasheethttp://www.dzsc.com/datasheet/CA3338E+_211655.html.
[2].AD603 datasheethttp://www.dzsc.com/datasheet/AD603+_122075.html.
[3].C8051F020 datasheethttp://www.dzsc.com/datasheet/C8051F020+_209830.html.
上一篇:露一手:自制数字示波器
下一篇:示波器六问


