• 易迪拓培训,专注于微波、射频、天线设计工程师的培养
首页 > 测试测量 > 示波器 > 电视示波器电路

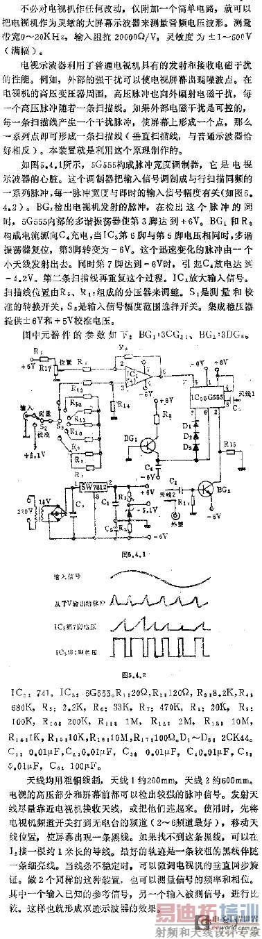
电视示波器电路

录入:edatop.com    点击:

电视示波器电路图

点击浏览:矢量网络分析仪、频谱仪、示波器,使用操作培训教程

上一篇:示波器的无源探头知识
下一篇:模拟示波器的使用实验

微波射频测量操作培训课程详情>>
射频和天线工程师培训课程详情>>

  网站地图