- 易迪拓培训,专注于微波、射频、天线设计工程师的培养
IPTV生态系统和基于DSP的IP机顶盒设计
家庭联网
因为STB共享数字媒体适配器(DMA)所采用的大部分技术,STB也有望可能通过以太网、HomePlug、WLAN或Moca连接到家庭网络。STB然后可以接收并玩从个人电脑下载的内容,如显示照片夹、播放音乐或者甚至从互联网下载影片。应该考虑的是:STB也可能配备其自己的硬盘以记录IPTV播放的内容,然后这些内容可以通过互联网共享。
如果STB被连接到娱乐系统,如网络DVD播放机、音响系统和游戏机,那么,融合的可能性就更为有趣。最终,诸如视频电话和在线赌博之类的应用也可能与STB融合,从而带来他们自身的一系列互通性问题。
为了能够处理这些新的融合应用,至关重要的一点是STB必须支持各种各样家用电器系统所使用的标准,因为在家庭网络内存在不同的需求,它也为用户提供了各种服务。例如,如果把4Mbps MPEG2流转换并编码为1.5-Mbps WMV9流,就可以保持带宽并增加在给定的硬盘空间内所存储的内容。
作为一个例子,从CA转换为DRM安全可以确保保护家庭网络内的视频内容。行业联盟—数字生活网络联盟(http://www.dlna.org)—所关心的是为家庭网络开发互通性标准,目前在家庭网络上最为流行的产品都遵循DLNA标准。
STB对处理器的要求
虽然人们正在部署不同的IPTV生态系统,在不同的系统和配置中实现互通性不仅从短期看很重要,而且从长期看也很重要,因为事物在持续地发展。随着不同的服务提供商开始配置由许多操作系统、压缩技术、中间件、浏览器、CA/DRM、实时编码器供应商和VoD服务器供应商的产品构成的可能组合方案,STB将不得不适应这种多组合的应用需求,同时,也是为了满足提供商向其产品中添加新服务所提出的要求。成功的STB设计将依赖于提供高性能、编程灵活性、可伸缩性和高系统级集成的处理解决方案。
音视频编解码器、图形加速、通信和许多潜在融合的家庭应用将需要高级的性能,大多数是对实时信号处理能力的要求。通过使用加速器并把信号处理任务进行软件分区就可以增强性能,例如,视频解码最好由从事控制任务的DSP来处理,用户界面采用RISC处理器来处理就比较好。通过在处理器上运行最合适的任务,设计工程师能确保最高的性能和最高效率的产品设计。
DSP媒体处理器的实例
TI公司的TMS320DM644x数字媒体处理器能够满足IP STB对DSP的要求。先进的C64x+ DSP内核集成了提供视频编码和解码所需要的高速计算能力的视频协处理器以及处理用户界面、实现系统控制和便于应用编程的ARM926 RISC处理器。系统级芯片(SoC)中还集成了网络外设、音视频接口、高速存储子系统、外部存储接口和增强的直接存取接口(EDMA),因此,BOM单中的硬件减少多达50%。
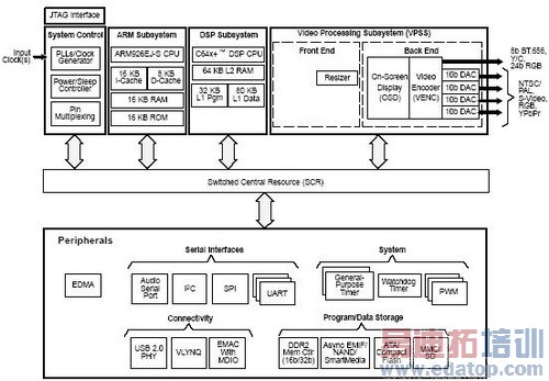
图2显示了DM6443处理器的功能,它就是针对像STB这样的解码系统而设计的。另外一个器件,代码和引角兼容的DM6446为添加解码能力提供一种便利的升级方案。

图2:DM6443的方框图
DM644x处理器可以被编程为支持任何数量的音频和视频标准,并且能方便地通过下载网络配置和服务所需要的变更完成升级。通过对DSP和视频加速器上数学运算密集的信号处理以及在ARM处理器上的控制操作进行软件分区,可以为其它应用提供大量的性能开销。作为TI公司达芬奇技术的关键单元,DM644x处理器由基础软件和API支持,能够使视频系统开发更为直接,并简化客主之间的互通性。
基于DSP的STB软件架构
图3显示了基于DM644x的IP STB的基本软件架构图,其中包含诸如主操作系统、浏览器和堆栈中的中间件之类的应用软件。在基础部分是DSP/BIOS实时操作系统和链路以及RISC与DSP之间通信的框架。在该层的顶部是基本的视频表达和音视频(AV)媒体引擎的播放软件部分。
采用其图形引擎的浏览器、客户中间件和条件接收都通过AV播放机连接到媒体引擎,它是应用和编解码器引擎之间的关键链路。各种应用软件连接到主操作系统之中,其中,还有提供通信和外部接口所必需的驱动器、TCP/IP堆栈和其它网络协议。

图3:IPTV客户软件系统
在变化市场中的互通性
随着IPTV市场准备起飞,竞争生态系统的数量与日俱增,意味着STB开发商必须保持他们的实现方案选项具有开放性。互通性是目前市场环境中取得成功的关键。高性能DSP提供确保互通性所需要的编程灵活性,并确保在变化的IPTV生态环境中保持方案的通用性。SoC集成方案以买得起的价格带来了这些优势,并且软件使开发更快和更为简单。在不断演变的IPTV市场,基于DSP的STB将能够快速和有成效地适应变化。
上一篇:宽带小区的无线局域网接入
下一篇:下一代通信网络NGN面临的威胁与应对原则


