- 易迪拓培训,专注于微波、射频、天线设计工程师的培养
基于DSP和CAN总线的数据采集与处理系统
录入:edatop.com 点击:
引言
随着计算机技术&通信技术和电子技术的迅猛发展,电力系统自动化程度也日益提高,通过现场总线技术和数字信号处理技术的应用提高了电力系统的可靠性和可维护性。本文将TMS320LF2407A芯片和CAN总线等技术应用于电力系统的数据采集中,基于对转换时间和转换精度的考虑,本系统还采用了ADS7684作为模数转换芯片。ADS7684是TI公司推出的专为高速同步数据采集系统设计的高速6通道同步采样、12位的模/数转换芯片。将ADS7684与TMS320LF2407A芯片构成数据采集部分,是一个较好的数据采集方案。该系统可以快捷地实现对电压、电流、功率、功率因数和频率等重要的电力参数进行实时检测,处理和传输。
1 系统结构
基于现场总线的电力系统数据采集系统由数据采集模块、CAN总线、工控机(IPC)3部分组成,其系统结构如图1所示。
随着计算机技术&通信技术和电子技术的迅猛发展,电力系统自动化程度也日益提高,通过现场总线技术和数字信号处理技术的应用提高了电力系统的可靠性和可维护性。本文将TMS320LF2407A芯片和CAN总线等技术应用于电力系统的数据采集中,基于对转换时间和转换精度的考虑,本系统还采用了ADS7684作为模数转换芯片。ADS7684是TI公司推出的专为高速同步数据采集系统设计的高速6通道同步采样、12位的模/数转换芯片。将ADS7684与TMS320LF2407A芯片构成数据采集部分,是一个较好的数据采集方案。该系统可以快捷地实现对电压、电流、功率、功率因数和频率等重要的电力参数进行实时检测,处理和传输。
1 系统结构
基于现场总线的电力系统数据采集系统由数据采集模块、CAN总线、工控机(IPC)3部分组成,其系统结构如图1所示。
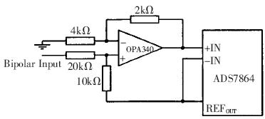
![]() 图1 系统结构图 其中数据采集模块采集现场数据,直接面向生产过程;工控机主要功能是通过现场总线网络对数据采集模块的参数进行设置,实时获取数据采集模块的数据和信息,以及显示、数据分析和完成报表等功能;CAN总线部分主要由CAN总线适配卡、通信介质和相应软件构成。 2 系统硬件设计 三相电压、三相电流模拟信号先输入到信号调理电路,输出的双极性信号进入A/D转换专用芯片ADS7864电路,数据信号经过电平匹配后传入DSP。该系统还包括开关量输入电路、开关量输出电路、时钟、电源和CAN接口等电路。如图2所示。
|






